Студопедия

КАТЕГОРИИ:


Архитектура-(3434)Астрономия-(809)Биология-(7483)Биотехнологии-(1457)Военное дело-(14632)Высокие технологии-(1363)География-(913)Геология-(1438)Государство-(451)Демография-(1065)Дом-(47672)Журналистика и СМИ-(912)Изобретательство-(14524)Иностранные языки-(4268)Информатика-(17799)Искусство-(1338)История-(13644)Компьютеры-(11121)Косметика-(55)Кулинария-(373)Культура-(8427)Лингвистика-(374)Литература-(1642)Маркетинг-(23702)Математика-(16968)Машиностроение-(1700)Медицина-(12668)Менеджмент-(24684)Механика-(15423)Науковедение-(506)Образование-(11852)Охрана труда-(3308)Педагогика-(5571)Полиграфия-(1312)Политика-(7869)Право-(5454)Приборостроение-(1369)Программирование-(2801)Производство-(97182)Промышленность-(8706)Психология-(18388)Религия-(3217)Связь-(10668)Сельское хозяйство-(299)Социология-(6455)Спорт-(42831)Строительство-(4793)Торговля-(5050)Транспорт-(2929)Туризм-(1568)Физика-(3942)Философия-(17015)Финансы-(26596)Химия-(22929)Экология-(12095)Экономика-(9961)Электроника-(8441)Электротехника-(4623)Энергетика-(12629)Юриспруденция-(1492)Ядерная техника-(1748)

Отчет о проведении недели

Регулирование выходного напряжения в схемах регуляторов.

Результаты моделирования повышающего регулятора

ЕИ, В                    
Uн, В 92,09 184,8 277,6 370,4 555,9 741,4 926,9      

Зависимости напряжения нагрузки от напряжения источника понижающего и повышающего регуляторов напряжения приведены на рис. 10.5, а и 10.5, б соответственно.

 

а б

 

Рис. 10.5. Зависимости напряжения нагрузки от напряжения источника

 

Приведенные графики подтверждают теоретические соотношения (10.2) и (10.3) и свидетельствует о линейном характере зависимости между напряжениями источника и нагрузки как в понижающем, так и повышающем регуляторе напряжения.

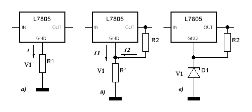
Рисунок 4 Это можно сделать несколькими способами: Рисунок 5 Подъем напряжения на выходе интегрального стабилизатора с фиксированным напряжением с помощью: а) резистора на котором возникает падение напряжения на резисторе R1 за счет протекания тока потребления стабилизатора I, б)падение напряжение на резисторе R1 создается током потребления стабилизатора I1 и током делителя I2 (возможно регулирование), в) стабилизатора напряжения. Регулировка выходного напряжения Как я уже писал выше (см. рис. 5б) линейные стабилизаторы позволяют изменять выходное напряжение. Подробная схема показана на рис. 7. По той же схеме возможно и функциональное регулирование выходного напряжения. Например возможно регулирование выходного напряжения в зависимости от температуры для применения в системах стабилизации температуры - термостатах. В зависимости от типа температурного датчика он может включаться вместо резисторов R1 или R2. Рисунок 7

 

«ЗДОРОВОЕ ПИТАНИЕ – ЗДОРОВЫЕ ДЕТИ»

В рамках недели проведены следующие мероприятия:

1. СРЕДА 11 марта2015 – методоперативка классных руководителей

2. ЧЕТВЕРГ 12 марта 2015 – выставка рисунков, рецептов и фотографий блюд.

3. ПЯТНИЦА 13 марта 2015 – диктант в 5-11 классах «Дети и здоровое питание» (диктанты вложены в личные дела уч-ся)

4. Проведены классные часы:

ТЕМА Класс Дата время Кл. руков-ли
  Полезная еда и здоровье   13.03.15 Сухорукова Т.П.
  Наше здоровье - в наших руках   11.03.14 Абдулджелилова Н.А.
  Здоровье – это правильное питание 5-6 12.03.15 Свечкарев А.С. Свечкарев И.С.
  Что значит правильно питаться   13.03.15 Литвишко Н.А.
  Едим вкусно и полезно   13.03.15 Аксенова С.Н.
  Дети и здоровое питание   13.03.15 Асанов Ю.А.

 

Фотоотчет в приложение.

 

Зам. по ВР       Печерина С.Н.
(должность)   (подпись)   (Ф.И.О.)

 

 


 

ПРИЛОЖЕНИЕ 1

Классный час в 9 классе
Классный час в 7 классе

 

Оформлена фотовыставка с детскими работами.

 

<== предыдущая лекция | следующая лекция ==>
Повышающий регулятор постоянного напряжения | Карибская сталь 1 страница
Поделиться с друзьями:


Дата добавления: 2015-05-06; Просмотров: 361; Нарушение авторских прав?; Мы поможем в написании вашей работы!


Нам важно ваше мнение! Был ли полезен опубликованный материал? Да | Нет



studopedia.su - Студопедия (2013 - 2026) год. Все материалы представленные на сайте исключительно с целью ознакомления читателями и не преследуют коммерческих целей или нарушение авторских прав! Последнее добавление




Генерация страницы за: 0.014 сек.