Студопедия

КАТЕГОРИИ:


Архитектура-(3434)Астрономия-(809)Биология-(7483)Биотехнологии-(1457)Военное дело-(14632)Высокие технологии-(1363)География-(913)Геология-(1438)Государство-(451)Демография-(1065)Дом-(47672)Журналистика и СМИ-(912)Изобретательство-(14524)Иностранные языки-(4268)Информатика-(17799)Искусство-(1338)История-(13644)Компьютеры-(11121)Косметика-(55)Кулинария-(373)Культура-(8427)Лингвистика-(374)Литература-(1642)Маркетинг-(23702)Математика-(16968)Машиностроение-(1700)Медицина-(12668)Менеджмент-(24684)Механика-(15423)Науковедение-(506)Образование-(11852)Охрана труда-(3308)Педагогика-(5571)Полиграфия-(1312)Политика-(7869)Право-(5454)Приборостроение-(1369)Программирование-(2801)Производство-(97182)Промышленность-(8706)Психология-(18388)Религия-(3217)Связь-(10668)Сельское хозяйство-(299)Социология-(6455)Спорт-(42831)Строительство-(4793)Торговля-(5050)Транспорт-(2929)Туризм-(1568)Физика-(3942)Философия-(17015)Финансы-(26596)Химия-(22929)Экология-(12095)Экономика-(9961)Электроника-(8441)Электротехника-(4623)Энергетика-(12629)Юриспруденция-(1492)Ядерная техника-(1748)

Выполнение программы в непрерывном режиме




Порядок выполнения программы сложения с остановом по контрольным точкам

Клавиши   Информация на индикаторе 1 2 3 4 5 6 7 8   Примечание  
ADDR 8 2 0 0 * * 3 Е   Ввод контрольной точки по адресу 8205  
8205 8 2 0 5 * * 0 0      
BRK 8 2 0 5 В Р. * *      
0 8 2 0 5 В Р. 0 0      
ADDR 8200 8 2 0 0 * * 3 Е   Установка начального адреса программы  
RUN 8 2 0 5 0 0   Выполнение программы  
BRK 8 2 0 5 В Р. 0 0   Просмотр контрольной точки: число проходов равно 0  
REG A 8 2 0 5 А - 0 С   Проверка результата в регистре А  

 

В этом режиме Э580 работает без подключения монитора. Для того, чтобы после выполнения программы произошло прерывание и обращение к монитору, который включает индикатор, необходимо в качестве команды останова использовать не HLT, а команду RST 32 (ее код Е716). Иначе, например, при останове по команде HLT (7616) монитор не будет вызван, и мы не сможем вывести на индикатор интересующую нас информацию.

Для выполнения программы в непрерывном режиме необходимо:

1) установить тумблер режима в положение " прогон ";

2) задать начальный адрес программы;

3) запустить программу клавишей RUN.

После выполнения программы на индикаторе отобразятся значение адреса команды, на которой произошел останов, и данные по этому адресу.

Пример 10. Выполнить программу примера 9 в непрерывном режиме. Для этого последней командой программы записываем команду RST 32 (Е716) (табл.19):

 

Таблица 19

Клавиши   Информация на индикаторе 1 2 3 4 5 6 7 8   Примечание  
ADDR 8205 8 2 0 5 * * 0 0     Запись в ячейку 8205 кода Е716  
MEM 8 2 0 5 *, 0 0  
Е7 8 2 0 5 *, Е 7  
ADDR 8200 8 2 0 0 * * 3 E   Установка начального адреса программы 8200  
RUN 8 2 0 5 * *??   Выполнение программы  
REG A 8 2 0 6 A - 0 C   Просмотр значения регистра А в разрядах 7-8 индикатора Проверка результата в регистре А  

 

 

 

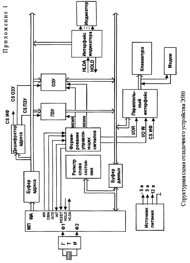
Приложение 2

Спецификация внешних разъемов Э580

Разъем XI

Таблица 20

Контакт   Сигнал   Пояснение  
А1¸А15   А1¸А15   Шина адреса  
А16   RESET   Сброс МП  
А17   ВК ОЗУ1(800016¸ 8316)      
А18   ВК ОЗУЗ(880016¸ 8816)   Сигналы выборки  
А19   ВК ОЗУ2(840016¸ 8716)   блоков ОЗУ  
А20   ВК ОЗУ4(8СОО16¸816)      
А21   Корпус      
А22   +5В   Питание +5В  
Б1   А0   Шина адреса  
Б2   MEM W   Запись в память  
Б3   MEM R   Чтение из памяти  
Б4 ¸Б11   DO¸D7   Шина данных  
Б12   I/O   Запись во внешние устройства  
Б13   I/OR   Чтение из внешних устройств  
Б15   ВК ПЗУ1(000016 - 0316)      
Б16   ВК ПЗУ2(080016 - 0В16)   Сигналы выборки  
Б17   ВК ПЗУЗ(040016 - 0716)   блоков ПЗУ  
Б18   ВК ПЗУ4(ОСОО16 - 016 )      
Б19   -5В   Сигналы питания  
Б20   +12В      
Б21   Корпус      
Б22   Корпус      
Б23   +5В      

 

Спецификация внешних разъемов Э580

Разъем Х2

Таблица 21

АН   DBIN      
А12   DMAEN   Сигналы МП  
А9   HOLD      
А10   HLDA      
Б1   ВК предв. 1(2-2-16)      
Б2   ВК предв. 2(3-3-16)   Выборка  
Б3   ВК предв. 3(А-А-16)   ИФ  
Б4   ВК предв. 4(В-В-16)      
Б5   INT (внешний)   Сигнал в МП  
Б6   PCI      
Б7   ВК И/Ф   Выборка внешнего устройства  
Б8   Ф2ТТЛ   Сигнал синхронизации МП  
Б10   КН      

 




Поделиться с друзьями:


Дата добавления: 2015-03-29; Просмотров: 480; Нарушение авторских прав?; Мы поможем в написании вашей работы!


Нам важно ваше мнение! Был ли полезен опубликованный материал? Да | Нет



studopedia.su - Студопедия (2013 - 2026) год. Все материалы представленные на сайте исключительно с целью ознакомления читателями и не преследуют коммерческих целей или нарушение авторских прав! Последнее добавление




Генерация страницы за: 0.011 сек.