Студопедия

КАТЕГОРИИ:


Архитектура-(3434)Астрономия-(809)Биология-(7483)Биотехнологии-(1457)Военное дело-(14632)Высокие технологии-(1363)География-(913)Геология-(1438)Государство-(451)Демография-(1065)Дом-(47672)Журналистика и СМИ-(912)Изобретательство-(14524)Иностранные языки-(4268)Информатика-(17799)Искусство-(1338)История-(13644)Компьютеры-(11121)Косметика-(55)Кулинария-(373)Культура-(8427)Лингвистика-(374)Литература-(1642)Маркетинг-(23702)Математика-(16968)Машиностроение-(1700)Медицина-(12668)Менеджмент-(24684)Механика-(15423)Науковедение-(506)Образование-(11852)Охрана труда-(3308)Педагогика-(5571)Полиграфия-(1312)Политика-(7869)Право-(5454)Приборостроение-(1369)Программирование-(2801)Производство-(97182)Промышленность-(8706)Психология-(18388)Религия-(3217)Связь-(10668)Сельское хозяйство-(299)Социология-(6455)Спорт-(42831)Строительство-(4793)Торговля-(5050)Транспорт-(2929)Туризм-(1568)Физика-(3942)Философия-(17015)Финансы-(26596)Химия-(22929)Экология-(12095)Экономика-(9961)Электроника-(8441)Электротехника-(4623)Энергетика-(12629)Юриспруденция-(1492)Ядерная техника-(1748)

Основные законы аэродинамики




С)

 

Рис. 2.3 Ламинарное и турбулентное течение

 

У передней части обтекаемого тела образуется ламинарный пограничный слой, которой затем переходит в турбулентный. Такой пограничный слой называется смешанным (рис. 2.3, с).

При смешанном течении в определенной точке происходит переход пограничного слоя из ламинарного в турбулентный. Расположение ее на поверхности тела зависит от скорости струек, формы тела и его положения в воздушном потоке, а также от шероховатости поверхности. Положение точки определяется координатой Хс (рис.2.3, с) .

У гладких крыльевых профилей точка перехода обычно лежит на расстоянии, примерно равном 35% от длины хорды.

При создании профилей крыльев конструкторы стремятся отнести эту точку как можно дальше от передней кромки, увеличивая тем самым протяженность ламинарной части пограничного слоя. Для этой цели применяют специальные ламиниризированные профили, а также увеличивают гладкость поверхности крыла и ряд других мероприятий.

 

Отрыв пограничного слоя. При обтекании тела с криволинейной поверхностью давление и скорости в разных точках поверхности будут неодинаковыми

(рис. 2.4).При движении потока от точки А к точке Б происходит диффузорное расширение потока.

А Б

 

 

Рис. 2.4 Течение в пограничном слое вблизи точки отрыва

Поэтому давление растет, а скорость уменьшается, так как у самой поверхности тела скорости частиц очень малы, под влиянием разности давлений между точками А и В на этом участке происходит движение газа в обратном направлении. При этом внешний поток продолжает двигаться вперед.

Из-за обратного течения газа внешний поток оттесняется от поверхности тела. Пограничный слой набухает и отрывается от поверхности тела. Точка на поверхности тела, в которой происходит отрыв пограничного слоя, называется точкой отрыва.

Отрыв пограничного слоя приводит к образованию вихрей за телом. Положение точки отрыва зависит от характера течения в пограничном слое. При турбулентном течении место отрыва потока лежит значительно дальше по потоку, чем при ламинарном. Вихревая область за телом в этом случае значительно меньше. Это парадоксальное явление объясняется тем, что при турбулентном движении происходит более интенсивное поперечное перемешивание частиц.

Отрыв пограничного слоя наблюдается при обтекании криволинейных поверхностей, например профиля крыла на больших углах атаки. Явление это очень опасно, т.к. приводит к резкому уменьшению подъемной силы, значительному возрастанию сопротивления движению потока, потере устойчивости и управляемости самолета, вибрациям.

Явление срыва потока зависит от формы и состояния поверхности тела, характера течения воздуха в пограничном слое. Тела, имеющие вытянутую форму с плавными очертаниями (удобообтекаемые), не подвержены срыву потока в отличие от неудобообтекаемых тел.

Срыв потока может возникнуть в результате нарушения правил эксплуатации самолета: выхода на критические углы атаки, нарушения центровки. При небрежном техническом обслуживании из-за неплотного прилегания крышек лючков, неполного закрытия створок и других причин возникают местные срывы потока. Возникают опасные вибрации частей самолета.


Уравнение неразрывности. Уравнение неразрывности струи воздушного потока (постоянства расхода) - это уравнение аэродинамики, вытекающее из основных законов физики - сохранения массы и инерции. Устанавливает связь между плотностью, скоростью и площадью поперечного сечения струи воздушного потока.

 

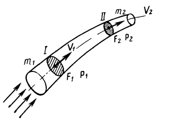
Рис. 2.5 Пояснение к закону неразрывности струи воздушного потока

 

Уравнение сформулировано Л. Эйлером в 1756г. применительно к движению струйки жидкости.

В струйке переменного сечения через сечение I за одну секунду протекает некоторый объем воздуха (рис. 2.5). Этот объем равен произведению скорости воздушного потока V на площадь поперечного сечения F.

Секундный массовый расход воздуха в струйке mc равен произведению секундного объема на плотность ρ воздушного потока.

Согласно закону сохранения материи масса жидкости (воздуха) в струйке m1, протекающей через сечение I, должна быть равна массе m1, протекающей через сечение II, при условии, если движение воздушного потока установившееся:

m1=m2=cons, ρ1 F1V1= ρ2 F2V2=const.

 

Для любого сечения струйки можно записать:

ρFV=const.

Это выражение называется уравнением неразрывности ( постоянства расхода ) для струйки воздушного потока.

При малых скоростях движения воздух ведет себя как несжимаемая жидкость. Поэтому плотность воздуха в любом сечении струйки одинакова r1=r2=const.


Для несжимаемой жидкости уравнение можно записать в следующем виде : F1V1=F2V2= const или в виде пропорции:

Из формулы видно, что для любого сечения скорость воздушного потока струи обратно пропорциональна площади ее поперечного сечения и наоборот:

V =

Вывод: Уравнение неразрывности устанавливает взаимосвязь между сечением струи и скоростью при условии, что воздушный поток струи установившийся.

Задача.Определить скорость течения потока жидкости V2 в узком сечении трубки площадью S2=5см2,если через широкое сечение трубки площадью S1=7,5см2 скорость течения составляет V1=20м/с.

Решение: V2/V1=S1/S2. V2=V1S1/S2=20*7,5/5=30м/с.

Закон Бернулли. Основные явления, происходящие при течении газа и жидкости, можно объяснить, применяя к движущейся среде закон сохранения энергии.

Выделим струйку в потоке несжимаемого газа и проведем в ней два поперечных сечения 1 и 2 (см. рис.2.5). Этими поперечными сечениями определится объем газа, к которому мы применим закон сохранения энергии. При этом будем считать, что движение газа установившееся.

Пусть за единицу времени через сечение 1 проходит масса газа m1. В этом месте струйки газ имеет скорость V1, а давление p1. За то же время через другое сечение 2 струйки, где скорость газа равна V2, а давление p2, вытекает такая же масса газа m2.

При установившемся течении в выделенной части струйки не происходит ни накапливания, ни расхода энергии, т.к. между струйкой и окружающей её средой обмен энергией отсутствует.

Следовательно, энергия, передаваемая газу за единицу времени через сечение 1, должна быть равна энергии, передаваемой за то же время через сечение 2.

Согласно закону сохранения энергии, полная энергия струйки воздушного потока в различных сечениях есть сумма нескольких видов энергии потока: кинетической, потенциальной энергии сил статического давления, внутренней энергии и энергии положения. Эта сумма должна быть величиной постоянной:

 

Екинрвнп=сопst.

 

Кинетическая энергия Екин - способность движущегося воздушного потока совершать работу под действием сил динамического давления;

Потенциальная энергия Ер - способность воздушного потока совершать работу под действием сил статического давления;

Внутренняя энергия Евн - это способность газа совершать работу при изменении его температуры;

Энергия положения Eп - способность воздуха совершать работу при изменении положения центра тяжести данной массы воздуха при подъеме на определенную высоту.

Таким образом, газ, находящийся позади сечений 1 и 2, производит работу по продвижению впереди лежащей массы газа. Эта работа производится силами давлений статического и динамического (скоростного напора).

При движении несжимаемого идеального газа сумма статического и динамического давлений остается величиной постоянной. Эта сумма называется полным напором (см. тему 1).

Рассмотрим течение жидкости (газа) через трубу переменного диаметра (рис.2.6). Анализируя показания манометров, можно сделать заключение, что наименьшее давление показывает манометр сечения 3-3.

 

Рис. 2.6 Объяснение закона Бернулли

 

Причиной падения давления является то, что воздушный поток не производит никакой работы, поэтому полная энергия воздушного потока остается постоянной. Если считать температуру, плотность и объем воздушного потока в различных сечениях постоянными, то внутреннюю энергию можно не рассматривать.

Значит, возможен переход кинетической энергии воздушного потока в потенциальную и наоборот.

Когда скорость воздушного потока увеличивается, то увеличивается скоростной напор и кинетическая энергия данного воздушного потока. Статическое давление при этом уменьшается.

Преобразуем уравнение сохранения полной энергии: для сечений 1,2,3:

где: P - статическое давление;

- скоростной напор.


Для любого сечения струйки воздуха уравнение можно записать в следующем виде:

В таком виде записывается уравнение Бернулли.

Оно показывает, что сумма статического и динамического давлений для любого сечения струйки установившегося не сжимаемого воздушного потока есть величина постоянная..

Уравнение Бернулли широко применяется в практических условиях. Этот закон используется при конструировании приборов для измерения скорости движения жидкости и газов, различного рода инжекторов, водоструйных насосов, карбюраторов, при изучении причины образования подъемной силы крыла.

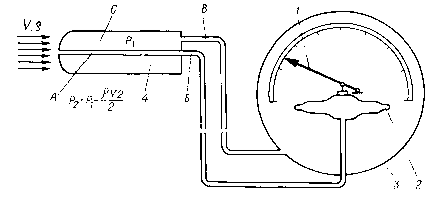
Принцип работы указателя скорости летательного аппарата показан на рис.2.7.

Рис. 2.7 Измерение скорости воздушного потока

Вывод: Законы аэродинамики являются теоретической основой для изучения процессов обтекания крыла и летательного аппарата, способов расчета аэродинамических сил.

Аэродинамический эксперимент. Для подтверждения теоретических расчетов выполняются практические исследования в специальных аэродинамических лабораториях.

Аэродинамическиеэксперименты проводятся в аэродинамических трубах – установках, в которых можно создать искусственный регулируемый поток воздуха или газа. Аэродинамические исследования проводятся в аэродинамических трубах малых скоростей, трубах больших дозвуковых скоростей, трубах сверхзвуковых скоростей, трубах специального назначения (штопорных, дымовых) и т. д.

Первая аэродинамическая труба в России была построена основоположником современной ракетной техники К.Э. Циолковским в 1887 г. в г. Калуге.

Простейшая схема аэродинамической трубы прямого действия показана на рис.2.8. Труба состоит из коллектора (суживающегося сопла), рабочей части, диффузора и вентилятора.


 

Рис. 2.8 Аэродинамическая труба прямого действия

Вентилятор, приводимый во вращение электродвигателем, создает в трубе поток воздуха. Назначением диффузора является плавное уменьшение скорости при входе к вентилятору, чтобы снизить потери на трение воздуха о стенки трубы.

Основным отличием трубы замкнутого типа от трубы прямого действия является наличие обратного канала, создающего для воздуха замкнутый путь. На рис. 2.9 приведена схема аэродинамической трубы замкнутого типа с открытой рабочей частью.

 

 

Рис. 2.9 Аэродинамическая труба замкнутого типа

Поток воздуха, обтекающий модель в рабочей части трубы, подается в диффузор. Пройдя через диффузор, воздух через поворотные колена и обратный канал поступает в наиболее широкую часть трубы, называемую форкамерой. В форкамере установлена спрямляющая решетка, пройдя через которую воздух поступает в суживающееся сопло. Это сопло обеспечивает нужную скорость потока в рабочей части трубы. Для уменьшения завихрения потока воздуха во всех поворотных коленах установлены специальные профилированные лопатки.

Для измерения аэродинамических сил и моментов, действующих на модель в воздушном потоке, применяются аэродинамические весы (см. рис.2.8). В основу устройства аэродинамических весов положен принцип уравновешивания модели при нарушении ее положения равновесия под действием возникающих аэродинамических сил и моментов. Для того, чтобы привести модель в исходное положение равновесия, необходимо нагрузить чашки весов или рычаги.

Передача усилий от модели к весовым рычагам может быть механической, электромеханической или гидравлической. В настоящее время широкое распространение получили аэродинамические весы тензометрического типа. На весах этого типа при помощи тензометров измеряются упругие деформации весовых элементов, размещаемых внутри моделей, а затем по деформациям определяются аэродинамические силы и моменты.

 

Вопросы для повторения:

1. Что называется давлением воздуха и какова его физическая сущность?

2. Каков физический смысл понятия «плотность воздуха»?

3. Какова зависимость между плотностью, давлением и температурой?

4. Для чего служит Стандартная атмосфера?

5. Какое уравнение устанавливает зависимость между скоростью и площадью поперечного сечения потока?

6. Какое уравнение устанавливает зависимость между давлением и скоростью потока?

7. В чём причина статического давления в струйке потока?

8. Что такое скоростной напор? От чего он зависит?

9. С какой целью изучают аэродинамические спектры обтекания?

10. Что такое ламинарное и турбулентное течения. В чём их отличие?

11. Как возникает отрыв пограничного слоя? К чему он приводит?

12. Для чего служит аэродинамическая труба?


 




Поделиться с друзьями:


Дата добавления: 2015-05-08; Просмотров: 2287; Нарушение авторских прав?; Мы поможем в написании вашей работы!


Нам важно ваше мнение! Был ли полезен опубликованный материал? Да | Нет



studopedia.su - Студопедия (2013 - 2026) год. Все материалы представленные на сайте исключительно с целью ознакомления читателями и не преследуют коммерческих целей или нарушение авторских прав! Последнее добавление




Генерация страницы за: 0.012 сек.