Студопедия

КАТЕГОРИИ:


Архитектура-(3434)Астрономия-(809)Биология-(7483)Биотехнологии-(1457)Военное дело-(14632)Высокие технологии-(1363)География-(913)Геология-(1438)Государство-(451)Демография-(1065)Дом-(47672)Журналистика и СМИ-(912)Изобретательство-(14524)Иностранные языки-(4268)Информатика-(17799)Искусство-(1338)История-(13644)Компьютеры-(11121)Косметика-(55)Кулинария-(373)Культура-(8427)Лингвистика-(374)Литература-(1642)Маркетинг-(23702)Математика-(16968)Машиностроение-(1700)Медицина-(12668)Менеджмент-(24684)Механика-(15423)Науковедение-(506)Образование-(11852)Охрана труда-(3308)Педагогика-(5571)Полиграфия-(1312)Политика-(7869)Право-(5454)Приборостроение-(1369)Программирование-(2801)Производство-(97182)Промышленность-(8706)Психология-(18388)Религия-(3217)Связь-(10668)Сельское хозяйство-(299)Социология-(6455)Спорт-(42831)Строительство-(4793)Торговля-(5050)Транспорт-(2929)Туризм-(1568)Физика-(3942)Философия-(17015)Финансы-(26596)Химия-(22929)Экология-(12095)Экономика-(9961)Электроника-(8441)Электротехника-(4623)Энергетика-(12629)Юриспруденция-(1492)Ядерная техника-(1748)

Подготовка и порядок работы




Порядок измерения магнитной индукции на поверхности магнитного барабана.

Магнитную индукцию необходимо измерять тесламетром или гауссметром с классом точности не менее 2,5 с толщиной зонда не более 1 мм и при температуре магнитов 20 °С.

1. Очистить поверхность барабана сепаратора от пыли и ферромагнитных частиц с помощью губки или ткани.

2. Измерение магнитной индукции проводится в зоне магнитного концентратора медленным перемещением магнитного зонда вдоль оси вала по ширине концентратора. Зафиксировать максимальное значение.

3. Определение магнитной индукции проводится на двух концентраторах магнитного барабана в зоне действия магнитов. Определить среднее значение. Данное значение магнитной индукции соответствует значению магнитной индукции на расстоянии, равном половине толщины зонда (0,5 мм для тесламетра Kanetec TM-701 (Япония)) от поверхности магнитной системы.

1.1 Сепаратор должен обслуживать обученный персонал, ознакомленный с его устройством и назначением его составных частей. В процессе работы сепаратора постоянное присутствие возле него обслуживающего персонала не требуется.

1.2 Перед запуском сепаратора в работу необходимо проверить:

― наличие и надёжность заземления сепаратора, мотор-редуктора и пульта управления;

― отсутствие посторонних предметов в рабочей зоне сепаратора;

― наличие масла в мотор-редукторе и подшипниковых опорах.

1.3 Перед запуском сепаратора необходимо произвести его настройку.

Настройка сепаратора заключается в установке частоты вращения барабана, а также подбора угла наклона делительных пластин и подъема шибера загрузочного бункера при которых обеспечивается максимальная эффективность сепарации.

1.4 Поворотом рукоятки выключателя SA1 подать питание на пульт управления сепаратором, при этом включается световой индикатор HL1 «Сеть»;

 

1.5 Нажатием кнопки SB2 «Пуск барабана» включить вращение барабана, при этом включается световой индикатор HL3 «Барабан»;

1.6 Потенциометром R1 на пульте управления установить необходимую скороть вращения барабана, частота контролируется на панели управления преобразователя частоты VLT 2800 (А1);

1.7 Подать продукт на вибропитатель.

1.8 Нажатием кнопки SB4 «Пуск вибропитателя» включить вибропитатель при этом включается световой индикатор HL4 «Питатель»;

1.9 Потенциометром R2 блока управления вибропитателя ЭМ-68 (А3) установить необходимую скороть подачи продукта, величина тока электромагнита контролируется амперметром MT4W-AA-4N (А2);

1.10 Остановка сепаратора производится в обратном порядке нажатием кнопок «Стоп вибропитателя» SB3 и «Стоп барабана» SB1.

1.11 Защиту от перегзузки электродвигателя барабана осуществляет преобразователь частоты. При срабатывании защиты отключаются электродвигатель и вибропитатель и включается световой индикатор HL2 «Авария».

Для возврата схемы в рабочее состояние необходимо устранить причину перегрузки и сбросить аварию преобразователя частоты нажатием кнопки «STOP RESET» на панели управления преобразователя частоты VLT 2800;

1.12 Направление вращения обечайки барабана выбирается переключением тумблера SA2 «Направление вращения»;

1.13 Включение вибропитателя возможно только после включения вращения барабана.

1.14 Категорически запрещается:

попадание вместе с продуктом в бункер сепаратора металлических примесей (болты, гайки, окалина и др.);

подавать на сепаратор продукт температура которого выше 60ºС;

в процессе эксплуатации сепаратора запрещается изменение параметров преобразователей частоты без согласования с предприятием изготовителем сепаратора.

 

 

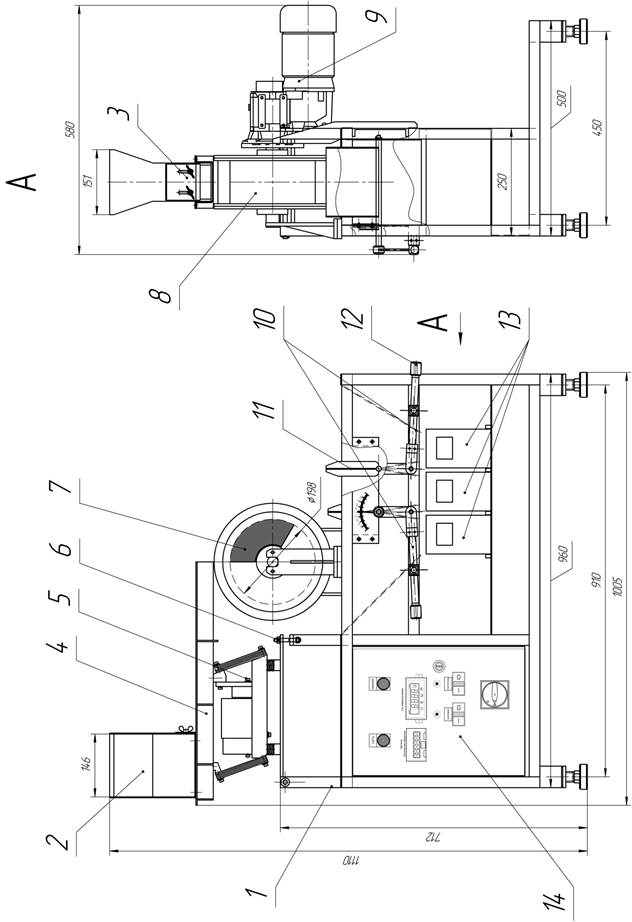
приложение А

Общий вид сепаратора БС-20/10-Н-12.023

 


 

 

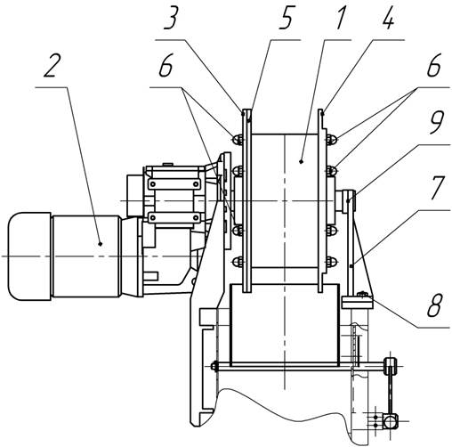
Приложение Б

Общий вид магнитного барабана

 

 

 
 

 

 
 

 

 




Поделиться с друзьями:


Дата добавления: 2015-05-09; Просмотров: 374; Нарушение авторских прав?; Мы поможем в написании вашей работы!


Нам важно ваше мнение! Был ли полезен опубликованный материал? Да | Нет



studopedia.su - Студопедия (2013 - 2026) год. Все материалы представленные на сайте исключительно с целью ознакомления читателями и не преследуют коммерческих целей или нарушение авторских прав! Последнее добавление




Генерация страницы за: 0.012 сек.