Студопедия

КАТЕГОРИИ:


Архитектура-(3434)Астрономия-(809)Биология-(7483)Биотехнологии-(1457)Военное дело-(14632)Высокие технологии-(1363)География-(913)Геология-(1438)Государство-(451)Демография-(1065)Дом-(47672)Журналистика и СМИ-(912)Изобретательство-(14524)Иностранные языки-(4268)Информатика-(17799)Искусство-(1338)История-(13644)Компьютеры-(11121)Косметика-(55)Кулинария-(373)Культура-(8427)Лингвистика-(374)Литература-(1642)Маркетинг-(23702)Математика-(16968)Машиностроение-(1700)Медицина-(12668)Менеджмент-(24684)Механика-(15423)Науковедение-(506)Образование-(11852)Охрана труда-(3308)Педагогика-(5571)Полиграфия-(1312)Политика-(7869)Право-(5454)Приборостроение-(1369)Программирование-(2801)Производство-(97182)Промышленность-(8706)Психология-(18388)Религия-(3217)Связь-(10668)Сельское хозяйство-(299)Социология-(6455)Спорт-(42831)Строительство-(4793)Торговля-(5050)Транспорт-(2929)Туризм-(1568)Физика-(3942)Философия-(17015)Финансы-(26596)Химия-(22929)Экология-(12095)Экономика-(9961)Электроника-(8441)Электротехника-(4623)Энергетика-(12629)Юриспруденция-(1492)Ядерная техника-(1748)

Устройство волноводов




Назначение, устройство и основные характеристики прямоугольного волновода

Для передачи ЭМЭ в сантиметровом диапазоне применяются волноводы.

Волноводы — полые металлические трубы (обычно прямоуголь-ного, реже круглого сечения), предназначенные для передачи ЭМЭ от источника к потребителю (например: от генератора в антенну или от антенны к приемнику).

Различают регулярные и нерегулярные волноводы. Регулярным называется волновод, имеющий в продольном направлении неизменное поперечное сечение и электромагнитные свойства заполняющих сред.

Волноводы могут быть однородными и неоднородными. Волновод называется однородным, если поперечное сечение заполнено однородной средой.

Прямоугольные волноводы изготовляются обычно в виде цельнотянутых металлических труб. В качестве материала применяются немагнитные материалы с хорошей проводимостью — медные, латунные и алюминиевые. На величину потерь мощности существенное влияние оказывает качество обработки внутренней поверхности стенок волновода. Тщательная ее полировка снижает затухание на 15¸20 %. Часто внутренняя поверхность волновода покрывается золотом, серебром, палладием для предотвращения коррозии и сохранения характеристик волновода на длительный срок. Для снижения металлоемкости и массы волновода его можно изготавливать из пластмассы, а внутреннюю поверхность и соединительные фланцы металлизировать медью, серебром. Для придания гибкости прямоугольному волноводу применяются гофрированные прямоугольные секции.

Основные характеристики волноводов:

Характер поля волны

Спектр типов волн в волноводе

Мощность, передаваемая по волноводу

Затухание волны

Рабочий диапазон волн волновода

 

1. Электромагнитные поля

Как показывает теория и практика в волноводах могут распространяться волны, в которых имеется продольная составляющая либо электрического, либо магнитного поля. Принято условно обозначать поперечную составляющую волны символом T и указывать тип поперечной составляющей - E (H).

¨ Поперечно-электрические (магнитные) волны, обозначаемые условно TE (символ T — обозначает поперечные, символ E — электрические), либо H — волны.

¨ Поперечно-магнитные (электрические) волны, обозначаемые условно TM либо E — волны.

2. Спектр типов волн в волноводе.

Прежде чем перейти к данному вопросу поясним возможность передачи ЭМЭ по волноводу.

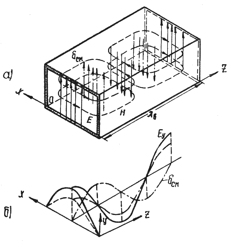
Предположим, что имеется согласованная двухпроводная линия, питающаяся от генератора синусоидального напряжения. В такой линии возникают бегущие волны, переносящие ЭМЭ. Если подключить к линии параллельно четвертьволновые короткозамкнутые отрезки режим бегущих волн не изменится, поскольку входное сопротивление этих отрезков в точках их подключения к линии бесконечно большое. Очевидно, что таких изоляторов можно подключить к линии с обеих сторон сколь угодно много. В конечном счете, они сливаются друг с другом, образуя трубу прямоугольно сечения, то есть волновод, в котором распространяется бегущая ЭМВ рис.1.3.

 

 

Рис. 1.3. Электрическое поле, ток смещения и магнитное поле основной волны

В случае, если прямоугольные изоляторы заменить на полукруглые, то получим волновод с круглым сечением.

Размер широкой стенки волновода должен быть больше или равен удвоенной длине четвертьволнового отрезка линии, то есть или . Если частота генератора такова, что , то входное сопротивление четвертьволновых коротко замкнутых отрезков уменьшится и зашунтирует линию, в результате чего, ЭМЭ, ответвляясь в них, практически не будет распространяться по волноводу.

Если , ЭМЭ по волноводу будет распространяться поскольку можно считать, что он образован отрезками линий длиной , подключенными к двухпроводной линии, провода которой имеют некоторую толщину . Таким образом, длина ЭМВ,распространяющейся по волноводу, связана с размером его широкой стенки соотношением . Если l = 2 , такую длину волны колебаний называют критической длиной волны ().При условии по волноводу будут распространяться электромагнитные волны. При условии волны вдоль волновода не распространяются и имеет место затухание амплитуды поля вдоль оси волновода. Скорость убывания поля определяется коэффициентом a, который называется коэффициентом затухания. Чем больше длина волны отличается от критической, тем быстрее уменьшается амплитуда поля вдоль оси волновода. Такой волновод называется предельным или запредельным.

В волноводах в отличие от двухпроводных и коаксиальных линий (где распространяются поперечные ЭМВ типа TEM) могут распространяться волны двух классов E и H.

К условным обозначениям магнитных H и электрических E волн добавляются индексы " m " и " n ", которые для прямоугольных волноводов показывают число полупериодов поля, укладывающихся вдоль размеров и поперечного сечения. Поэтому волны в волноводах обозначаются и .

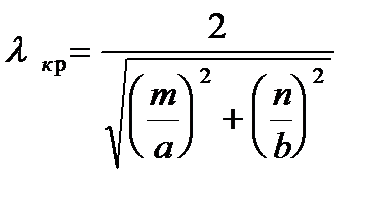
Придавая целые значения m и n, получим множество типов волн каждого класса. Например для прямоугольного волновода и так далее. . Для прямоугольного волновода m, n — число полупериодов поля, укладывающихся вдоль стенок волновода. Из формулы видно, что при заданных размерах " " и " b " волновода с увеличением индексов m и n критическая длина волны уменьшается.

Тип волны в волноводе, обладающий наибольшей критической длиной волны, называется низшим или основным типом волн. Остальные типы волн называются высшими или неосновными.

Если рассчитать критические длины волн для различных типов колебаний и отложить их по оси, как показано на рис.1.4, то получим наглядное представление о возможности использования волновода с размерами " a " и " b " для канализации ЭМЭ.

Рис. 1.4. Диаграмма типов волн в прямоугольном волноводе при a>2b

Если длина волны , то в прямоугольном волноводе не распространяется ни одна волна из его спектра.

Если выбрать длину волны генератора в пределах , то в прямоугольном волноводе будет распространяться только одна волна . (На практике стремятся реализовать именно такое условие.

Если , передача ЭМВ по волноводу может осуществляться одновременно несколькими типами волн.

Из всех типов волн максимальную критическую длину имеет волна . Значит волна . является основной волной прямоугольного волновода.

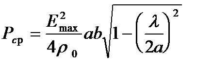
3. Мощность, передаваемая по волноводу.

Среднюю за период мощность, переносимую по волноводу волной можно рассчитать по формуле:

(1.6), где

— квадрат амплитуды напряженности электрического поля.

 
— волновое сопротивление среды (для воздуха равное 120p).

, b — размеры поперечного сечения волновода.

На технике, стоящей на вооружении, волновод, как правило заполняется осушенным воздухом. Воздух является диэлектриком. Всякий диэлектрик способен выдержать без пробоя лишь некоторое предельное значение напряженности электрического поля . Для такого диэлектрика, как сухой воздух, при нормальном атмосферном давлении для прямоугольного волновода, заполненного воздухом

 

кВт.

— широкая стенка волновода, см.

b — размер узкой стенки волновода, см.

При попадании влажного воздуха, либо влаги в волновод уменьшается. С целью избежания опасности пробоя волноводный тракт герметизируется и в нем создается избыточное давление. С этой целью применяются герметизирующие секции. Наличие в волноводе отраженной волны и местных концентраций магнитного поля, вызванных нерегулярными элементами, также приводит к снижению . Поэтому при эксплуатации волноводного тракта нельзя доводить передаваемую мощность до предельного значения. Обычно рабочая мощность в несколько раз меньше (3¸5) предельной.




Поделиться с друзьями:


Дата добавления: 2015-05-09; Просмотров: 6100; Нарушение авторских прав?; Мы поможем в написании вашей работы!


Нам важно ваше мнение! Был ли полезен опубликованный материал? Да | Нет



studopedia.su - Студопедия (2013 - 2026) год. Все материалы представленные на сайте исключительно с целью ознакомления читателями и не преследуют коммерческих целей или нарушение авторских прав! Последнее добавление




Генерация страницы за: 0.013 сек.