Студопедия

КАТЕГОРИИ:


Архитектура-(3434)Астрономия-(809)Биология-(7483)Биотехнологии-(1457)Военное дело-(14632)Высокие технологии-(1363)География-(913)Геология-(1438)Государство-(451)Демография-(1065)Дом-(47672)Журналистика и СМИ-(912)Изобретательство-(14524)Иностранные языки-(4268)Информатика-(17799)Искусство-(1338)История-(13644)Компьютеры-(11121)Косметика-(55)Кулинария-(373)Культура-(8427)Лингвистика-(374)Литература-(1642)Маркетинг-(23702)Математика-(16968)Машиностроение-(1700)Медицина-(12668)Менеджмент-(24684)Механика-(15423)Науковедение-(506)Образование-(11852)Охрана труда-(3308)Педагогика-(5571)Полиграфия-(1312)Политика-(7869)Право-(5454)Приборостроение-(1369)Программирование-(2801)Производство-(97182)Промышленность-(8706)Психология-(18388)Религия-(3217)Связь-(10668)Сельское хозяйство-(299)Социология-(6455)Спорт-(42831)Строительство-(4793)Торговля-(5050)Транспорт-(2929)Туризм-(1568)Физика-(3942)Философия-(17015)Финансы-(26596)Химия-(22929)Экология-(12095)Экономика-(9961)Электроника-(8441)Электротехника-(4623)Энергетика-(12629)Юриспруденция-(1492)Ядерная техника-(1748)

Аттенюаторы




 

Волноводные аттенюаторы (ослабители) служат для ослабления и регулировки уровня мощности сигнала, проходящего по волноводному тракту. Наиболее широко аттенюаторы используются в измерительной технике. Ослабление сигнала бывает необходимо, например, для создания развязки между генератором и нагрузкой, т.е. для устранения влияния измеряемого объекта на мощность и частоту генерируемых колебаний. Аттенюаторы служат также для уменьшения в нужное число раз мощности, поступающей в измерительные приборы (например, в волномер, измеритель мощности и пр.) или в некоторые радиотехнические устройства.

Применяются аттенюаторы с фиксированным ослаблением и переменные аттенюаторы.

По характеру ослабления различают два принципиально отличных типов аттенюаторов – поглощающие и предельные аттенюаторы.

Принцип работы поглощающих аттенюаторов точно такой же, как и у поглощающих нагрузок. Отличие их заключается в том, что аттенюаторы поглощают только часть проходящей энергии. В поглощающих аттенюаторах, как правило, применяются поверхностные поглощающие сопротивления, конструкция и расположение которых относительно узких стенок волновода аналогичны показанным на рис. 1.24. Обычно в волноводе устанавливают одну или две пластины с поглощающим слоем.

Рис. 1.24. Волноводные поглощающие нагрузки

Так как электромагнитная энергия может распространяться через аттенюатор в прямом и обратном направлениях, пластины имеют скосы с обоих концов. При правильном подборе формы пластины аттенюаторы могут иметь К с£ 1,02 ¸ 1,05 в диапазоне частот 10 ¸ 15 %. Величина ослабления зависит от числа пластин, их длины и места расположения в волноводе.

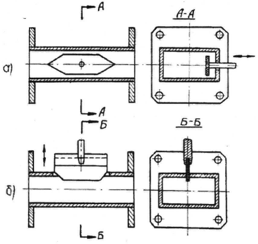
Применяются также переменные аттенюаторы ножевого типа (рис. 1.25.), в которых ослабление регулируется глубиной погружения пластины в волновод. Максимальная величина ослабления поглощающих аттенюаторов достигает обычно 30-40 дБ.

В предельных аттенюаторах (рис 1.26) не происходит преобразования электромагнитной энергии в тепловую. Предельный аттенюатор представляет собой отрезок прямоугольного или чаще круглого волновода. Размеры этого волновода выбирают так, чтобы его критическая длина волны при любом типе колебаний была значительно меньше длины волны генератора λ кр<<λ.

Рис. 1.26. Предельный аттенюатор

Предельные аттенюаторы в отличие от поглощающих применяются в основном для ответвления части энергии из основного тракта. На рис. 1.26 приведена примерная конструкция одного из возможных типов предельного аттенюатора. Он представляет собой отрезок волновода 1, включённого в широкую стенку прямоугольного волновода 2. Величина затухания такого аттенюатора определяется диаметром круглого волновода и его длиной. Отбор энергии в данном аттенюаторе производится при помощи петли 3, однако может применяться штырь или отверстие.

 




Поделиться с друзьями:


Дата добавления: 2015-05-09; Просмотров: 1366; Нарушение авторских прав?; Мы поможем в написании вашей работы!


Нам важно ваше мнение! Был ли полезен опубликованный материал? Да | Нет



studopedia.su - Студопедия (2013 - 2026) год. Все материалы представленные на сайте исключительно с целью ознакомления читателями и не преследуют коммерческих целей или нарушение авторских прав! Последнее добавление




Генерация страницы за: 0.011 сек.