Студопедия

КАТЕГОРИИ:


Архитектура-(3434)Астрономия-(809)Биология-(7483)Биотехнологии-(1457)Военное дело-(14632)Высокие технологии-(1363)География-(913)Геология-(1438)Государство-(451)Демография-(1065)Дом-(47672)Журналистика и СМИ-(912)Изобретательство-(14524)Иностранные языки-(4268)Информатика-(17799)Искусство-(1338)История-(13644)Компьютеры-(11121)Косметика-(55)Кулинария-(373)Культура-(8427)Лингвистика-(374)Литература-(1642)Маркетинг-(23702)Математика-(16968)Машиностроение-(1700)Медицина-(12668)Менеджмент-(24684)Механика-(15423)Науковедение-(506)Образование-(11852)Охрана труда-(3308)Педагогика-(5571)Полиграфия-(1312)Политика-(7869)Право-(5454)Приборостроение-(1369)Программирование-(2801)Производство-(97182)Промышленность-(8706)Психология-(18388)Религия-(3217)Связь-(10668)Сельское хозяйство-(299)Социология-(6455)Спорт-(42831)Строительство-(4793)Торговля-(5050)Транспорт-(2929)Туризм-(1568)Физика-(3942)Философия-(17015)Финансы-(26596)Химия-(22929)Экология-(12095)Экономика-(9961)Электроника-(8441)Электротехника-(4623)Энергетика-(12629)Юриспруденция-(1492)Ядерная техника-(1748)

Смесители




Расчет склада.

А б

Рисунок 2.2 - Устройство для приготовления и дозирования коагулянта: а – схема реагентного хозяйства: 1 – растворный бак; 2 – подача воды; 3 – расходные баки; 4 – дозирующая диафрагма на поплавке; 5 – бачок дозатор; 6 – воронка; б – растворный бак: 1 – корпус с антикоррозийным покрытием; 2 – подача воды; 3 – подача воздуха; 4 – колосниковая решётка; 5 – дырчатая труба; 6 – сброс шлама; 7 – отвод раствора.


 

При сухом хранении реагентов склад обустраивается на первом этаже рядом с растворными баками. Хлорное железо и железный купорос хранится в таре завода – изготовителя, сернокислый алюминий навалом, высотой слоя до 2м.

 

 

Площадь склада

 

(2.11)

 

где Q – полная суточная производительность станции, м3/сут;

T – время, на которое предусматривается запас реагентов, сут;

к – коэффициент, учитывающий дополнительную площадь на проходы, к = 1,1 – 1,2;

Н – высота слоя реагента на складе, Н до 2м;

γ – объёмный вес для насыпного реагента, γ = 1,1 – 1,4 т/м3;

Со – содержание безводного продукта в реагенте, Со = 33,5…40,3%.

 

Емкость склада следует принимать равной разовой поставке реагента автосамосвалами с базового склада. Во время работы реагент со склада подаётся в растворные баки.

 

 

Для равномерного смешивания реагентов в массе обрабатываемой воды и обеспечения протекания реакции во всём её объеме необходимо полное и быстрое перемешивание.

Смешение реагентов с водою осуществляется в смесителях гидравлического и механического типа. Число смесителей не менее двух. В обход смесителей предусматривается обводной трубопровод, в нем устройство ввода реагентов. Время смешения 1 – 2 минуты при мокром дозировании и 3 минуты при сухом дозировании реагентов.

Гидравлические смесители: вертикальный (вихревой), дырчатый, перегородчатый, коридорный, диафрагмовый.

При большой производительности на очистных станциях применяют перегородчатые смесители, т.е. при Q = 15 тыс. м3/сутки и более, в остальных случаях – вертикальные.

К механическим смесителям относятся устройства, в которых турбулентность потока достигается вращением лопастей или пропеллеров мешалок электродвигателем. Выбирается тип смесителя, описывается его устройство, работа и производится расчёт.

 

 

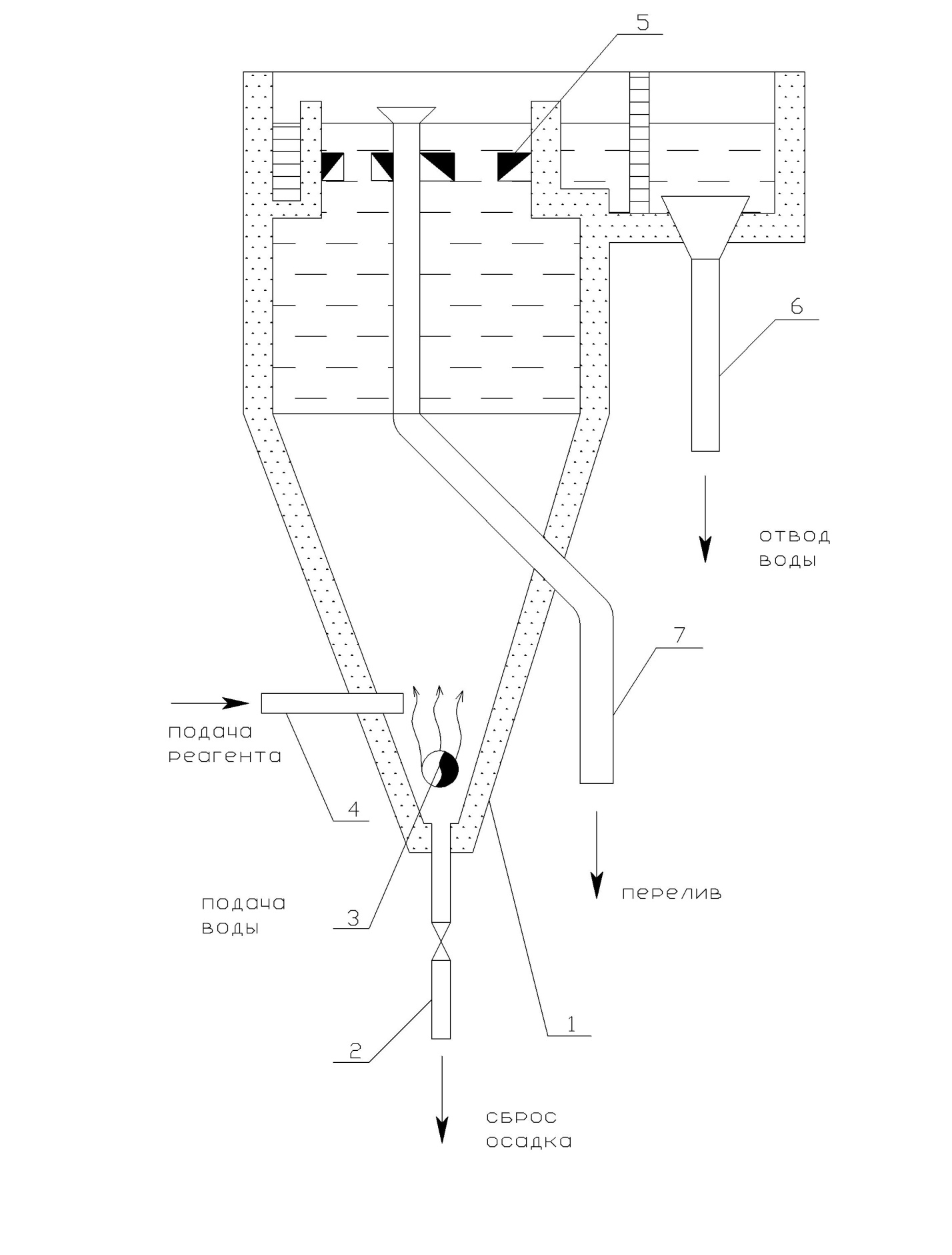
Рисунок 2.3 – Вертикальный смеситель: 1 – корпус; 2 – сброс осадка; 3 – подача воды; 4 – подача реагента; 5 – желоб с отверстиями; 6 – отвод воды; 7 – перелив.

Расчёт вертикального (вихревого) смесителя.

 

Перемешивание воды в смесители происходит за счёт изменения скорости восходящего потока воды при переходе из узкой (нижней) к широкой (верхней) части смесителя (рисунок 2.3).

Расчёт сводится к определению геометрических размеров устройства, а а так же диаметров подводящего и отводного трубопроводов. Если форма коническая, то угол наклона 30 - 45° между наклонными стенками, а скорость входная VK = 1,2…1,5 м/с.

Площадь горизонтального сечения в верхней части смесителя определяется по формуле:

 

= Qч/VB, м2 (2.12)

 

где Qчас – часовой расход водоочистной станции, м3/ч;

VB – скорость восходящего потока воды в цилиндрической части смесителя; в зависимости от гидравлической крупности частиц принимаем VB = 90-100 м/ч.

 

Определяем диаметр цилиндрической части смесителя:

 

, м (2.13)

 

Диаметр конической части смесителя:

 

, м (2.14)

 

где ω – площадь сечения нижней части смесителя, определяется по формуле:

, м2 (2.15)

 

где V2 – скорость восходящего движения воды в конической части смесителя, принимаем V2 = 1,1 м/с.

 

Высота конической части для усеченного конуса определяется по формуле:

 

(2.16)

 

где D и d – диаметры верхней и нижней частей усеченного конуса, м;

α – центральный угол между наклонными стенками равен 30…40°.

 

Полный объём смесителя при t = 1,5 – 2 мин

 

W = Qчас t / 60, м3 (2.17)

 

где t – продолжительность смешения реагентов в массе воды (в минутах)

 

Объём конической части смесителя

 

Wк = 1/3𝜋h1[ (D/2)2+(d/2)2+(D/2) (d/2)], м3 (2.18)

 

 

Объем цилиндрической части

 

Wц = W – Wк, м3 (2.19)

 

Высота цилиндрической части

 

hц = Wц/ VB, м (2.20)

 

Общая высота вихревого смесителя

 

H = h1 +hц+hстр., м (2.21)

 

где hстр – высота строительного борта, принимается 0,3 – 0,5м.

 

Площадь поперечного сечения лотка

 

fл = (Q/2)/Vл , м2 (2.22)

 

где Vл – скорость движения воды в кольцевом периферийном лотке, собирающем воду в верхней части смесителя через затопленные отверстия, принимается Vл=0,4…0,6 м/с;

Q/2 – расход воды м3/ч, протекающий по лоткам (условно делится на два параллельных лотка).

 

Дно лотка выполняется с уклоном I = 0,02 в сторону сбросного канала.

Для определения глубины потока воды hл в лотке задаёмся шириной bл. Ширина лотка принимается конструктивно bл min = 300 мм, bл max = 800 мм

Расчётная высота слоя воды в лотке

 

hл= fл/ bл, м (2.23)

 

Площадь всех затопленных отверстий в стенке лотка

 

F0 = Qr / V0 3600, м2 (2.24)

где V0 ­– скорость движения воды через отверстия лотка, принимается V0=1 м/с.

 

Общее число отверстий:

 

n0 = F0/f0, шт. (2.25)

 

где f0 – площадь одного отверстия, принимаются отверстия d0 = 80 мм площадью f0 = 0,00503 м2.

 

Расчёт смесителя перегородчатого типа.

 

Перегородчатый смеситель представляет железобетонный лоток с тремя перегородками, имеющий отверстия для прохода воды. В первой и третьей перегородках проходы расположены в центре, а в средней – два боковых прохода у стенок лотка (рисунок 2.4). При прохождении потока воды через проходы изменяется направление, повышается скорость, создаются завихрения, способствующие полному смешиванию воды с реагентом.

Расчёт сводится к определению размеров лотка и уровней слоя воды перед каждой перегородкой.

Расход воды на один смеситель Qс определяется по формуле:

 

, м3/час (2.26)

где Q – полный расход воды на станции с учетом собственных нужд станции, м3/час,

n – число смесителей;

 

Задаёмся глубиной потока воды в конце смесителя (обычно Н=0,4 -0,6м) Тогда ширина лотка В определяется при скорости движения воды Vл 0,6 м/с из площади сечения смесителя Fсм.

 

В = , м (2.27)

 

где (2.28)

 

Расстояние между перегородками принимаются равными двойной ширине лотка L = 2B, м.

Потеря напора в каждом сужении прохода hc при скорости движения воды в проёмах Vп = 1 м/с принимается равной 0,13 – 0,15 м.

 

 

 

Рисунок 2.4 – Перегородчатый смеситель: 1 – трубопровод подачи воды на смеситель; 2 – переливная камера; 3 – переливной трубопровод; 4 – перегородки; 5 – проходы для воды в перегородках; 6 – трубопровод ввода реагента.

 

 

Уровень воды в каждом последующем проёме из-за потерь напора уменьшается.

 

Высота слоя воды перед каждой перегородкой определяется из выражений:

 

- перед первой перегородкой (в конце смесителя)

H = 0,4 – 0,6, м (2.29)

- перед второй перегородкой

H1 = H + hc, м (2.30)

- перед третьей перегородкой

H2 = H + 2hc, м (2.31)

- перед передней стенкой смесителя

H3 = H + 3hc, м (2.32)

Высота передней (переливной) стенки смесителя

Hc = H3 + hn, м (2.33)

 

где hn – превышение водослива над расчётным уровнем воды (0,1 – 0,2 м).

 

Общая высота смесителя

Hcм = Hc + hстр, м (2.34)

 

где hстр – высота строительного борта (0,3 – 0,5 м)

 

Размеры суженых проходов для центральной перегородки, где имеются два боковых сужения:

Ширина прохода вп. = , м (2.35)

 

где n – количество проходов в перегородке, шт.

hn – высота прохода, hn = H – h3, м.

 

Глубина заполнения h3 ­проходов от уровня воды до их верха должна быть 0,1 – 0,15 м.

 




Поделиться с друзьями:


Дата добавления: 2015-05-31; Просмотров: 2607; Нарушение авторских прав?; Мы поможем в написании вашей работы!


Нам важно ваше мнение! Был ли полезен опубликованный материал? Да | Нет



studopedia.su - Студопедия (2013 - 2026) год. Все материалы представленные на сайте исключительно с целью ознакомления читателями и не преследуют коммерческих целей или нарушение авторских прав! Последнее добавление




Генерация страницы за: 0.01 сек.