Студопедия

КАТЕГОРИИ:


Архитектура-(3434)Астрономия-(809)Биология-(7483)Биотехнологии-(1457)Военное дело-(14632)Высокие технологии-(1363)География-(913)Геология-(1438)Государство-(451)Демография-(1065)Дом-(47672)Журналистика и СМИ-(912)Изобретательство-(14524)Иностранные языки-(4268)Информатика-(17799)Искусство-(1338)История-(13644)Компьютеры-(11121)Косметика-(55)Кулинария-(373)Культура-(8427)Лингвистика-(374)Литература-(1642)Маркетинг-(23702)Математика-(16968)Машиностроение-(1700)Медицина-(12668)Менеджмент-(24684)Механика-(15423)Науковедение-(506)Образование-(11852)Охрана труда-(3308)Педагогика-(5571)Полиграфия-(1312)Политика-(7869)Право-(5454)Приборостроение-(1369)Программирование-(2801)Производство-(97182)Промышленность-(8706)Психология-(18388)Религия-(3217)Связь-(10668)Сельское хозяйство-(299)Социология-(6455)Спорт-(42831)Строительство-(4793)Торговля-(5050)Транспорт-(2929)Туризм-(1568)Физика-(3942)Философия-(17015)Финансы-(26596)Химия-(22929)Экология-(12095)Экономика-(9961)Электроника-(8441)Электротехника-(4623)Энергетика-(12629)Юриспруденция-(1492)Ядерная техника-(1748)

Строение насекомых




Лесное дело

Подготовки бакалавров

ЛЕСНАЯ ЭНТОМОЛОГИЯ

Методические указания к лабораторным занятиям и самостоятельной работе студентов, обучающихся по направлению

 

 

 

Брянск 2012

 

Лесная энтомология. Методические указания к лабораторным занятиям и самостоятельной работе студентов, обучающихся по направлению подготовки бакалавров 250100 – Лесное дело. Строение насекомых. /Брянск:БГИТА, 2012. - 35 с.

 

 

Составитель: Шелухо В.П. – доктор сельскохозяйственных наук, профессор

 

Рецензент: Тимошенко С.Г. - руководитель Брянского филиала Центра защиты леса Калужской области ФБУ «Рослесозащита»

 

На основе опыта преподавания учебной дисциплины приводятся теоретическое обоснование и методические рекомендации по проведению лабораторных занятий и самостоятельной работе студентов по лесной энтомологии по усвоению строения насекомых как основы для организации мероприятий по контролю численности вредителей леса, что направлено на повышение эффективности образовательного процесса и формирование определенных компетенций.

Для профессорско-преподавательского состава кафедры лесозащиты и охотоведения БГИТА, для студентов лесохозяйственного факультета.

Рекомендованы кафедрой лесозащиты и охотоведения, редакционно-издательской и учебно-методической комиссиями лесохозяйственного факультета БГИТА

Протокол № 20 от 8 октября 2012 г

 

 

Ведение

Переход к индивидуально-ориентированному обучению студентов является неотъемлемой частью современных методов активизации и повышения качества подготовки компетентных профессионалов. Подготовка бакалавров базируется на большом объеме самостоятельной работы студентов, полном обеспечении их разнообразными информационными ресурсами на базе информационных компьютерных технологий.

Данное методическое пособие является не только методическими указаниями к проведению лабораторных занятий по курсу лесной энтомологии, но и кратким методическим пособием к самостоятельному освоению студентами важнейшего раздела энтомологии – строения насекомых, знание которого необходимо для понимания физиологии данной группы животных, пониманию возможных путей воздействия на вредителей леса с целью управления их численностью и вредоносностью.

Курс лесной энтомологии входит в комплекс знаний, получаемых студентом при обучении лесному делу. Курс состоит из лекций, лабораторных за­нятий, летней учебной практики и дипломного проектирования. Лабо­раторные занятия проводятся в 6 се­местре в объеме 28 часов. На занятиях студенты знакомятся с удивительным и разнообразным миром насекомых, с видами, полезными для хозяйственной деятельности человека, с вредными для леса насекомыми, получают навыки определения видов, знакомятся с биологией и экологией лесных насекомых, с комплексом мероприятий по ограничению численности вредителей, приобретают навыки биологической защиты растений.

Лабораторные занятия дополняют лекции, в необходимых случаях детализируют отдельные теоретические лекционные вопросы.

Опыт работы кафедры показывает, что курс лесной энтомоло­гии требует от студента большого внимания, трудолюбия и тщательно­сти при выполнении заданий по лабораторному практикуму. Следует помнить, что глубокие знания по любой дисциплине может дать только комплекс учебных занятий, в который входят лекции, учебная и производственная практики в лесу, дипломное проектирование, работа в студенческом научном кружке, экскурсии в природу и в музей.

Насекомые имеют большое значение как вредители, опылители, почвообразователи, много видов являются украшением природы.

Кафедра располагает хорошей лабораторией, научным оборудованием, современными методическими материалами, широко использует тестирование, применение разнообразных электронных носителей информации. Контроль успеваемости студентов осуществляется препода­вателем путем систематического письменного или устного опроса, проверки конспектов. Проверка знаний по систематике насекомых проводится на фактическом материале (раздаточный материал насекомых, коллекции, препараты и пр.).

 

Тема: Строение насекомых

1 Знакомство с классами типа членистоногих

Насекомые относятся к обширному типу членистоногих — Arthropoda. Помимо насекомых в него входят разнообразные животные, имеющие твердый внешний скелет, расчлененный на сегменты.

Этот тип является самым многочисленным в животном мире. Он объединяет свыше 1,5 млн. видов (по отдельным оценкам 2…7 млн. видов). Представители это­го типа весьма приспособлены к жизни в различных условиях среды, они играют огромную роль в жизни леса и биосферы.

Тип членистоногих состоит из 4-х классов (табл. 1). Необходимо усвоить отличительные признаки этих классов, указать полезных и вредных представителей. В рабочую тетрадь записывается табл. 1, характеризующая признаки этих классов.

По коллекциям рассматриваются признаки внешнего стро­ения тела типичных представителей отдельных классов: мок­рицы, раки, пауки, клещи, кивсяки, жуки, бабочки и т. д.

 

Таблица 1 Тип членистоногие - Arthropoda

Классы членистоногих Тело состоит из: Усики Ротовые органы Ноги Органы дыхания
Ракообразные в лесу: мокрицы головогруди и брюшка 2 пары 3 пары много пар жабры
Паукообразные в лесу: пауки, скорпионы, клещи, ложные скорпионы головогруди и брюшка нет 2 пары 4 пары легкие и трахеи
Многоножки в лесу: кивсяки, геофилиды, костянки головы и червеобразного туловища 1 пара 3 пары много пар трахеи
Насекомые головы, груди и брюшка 1 пара 3 пары 3 пары трахеи

 

Класс насекомые - INSEKTA

 

Происхождение насекомых связывают с действием процесса олигомеризации (уменьшения числа однородных структур, выполняющих одинаковые функции) в процессе эволюционного развития от червеобразного членистого предка (рис 1).

К этому классу относятся шестиногие членистоногие, имеющие сложный цикл развития с превращением и тело, разделенное на 3 отдела. Передний отдел - это голова, несущая глаза, антенны и 3 па­ры ротовых частей. Следующий отдел — грудь, состоящая из 3 сегментов, каждый из которых обычно несет по паре ног; у летающих насекомых второй и третий сегменты груди несут также по паре крыльев. Задний отдел тела - брюшко. Оно состоит из 4…11 сегментов и не имеет ног. Последние сегменты брюшка обычно несут видоизмененные придатки, приспособленные для спаривания или для откладки яиц. Экзоскелет насекомых, как и других членистоногих, обеспечивает защиту внутренних органов и сохранение формы тела.

За исключением некоторых живородящих форм, все насе­комые откладывают яйца. Непо-ловозрелые насекомые линя­ют несколько раз в течение своего развития до взрослой ста­дии и, как правило, при каждой линьке увеличиваются разме­ры тела и появляются специализированные органы.

Неполовозрелые насекомые не имеют крыльев. Единст­венным исключением являются некоторые поденки, у которых последняя кратковременная неполо­во-зрелая стадия уже имеет функциональные крылья. Неполо­возрелые особи у насекомых с полным циклом развития внешне не похожи на взрослых (гусеница – бабочка) и могут не иметь структур, типичных для взрослых насекомых.

Насекомые представляют самую многочисленную по видам группу животных. Иногда численность насекомых бывает столь велика, что они образуют целые тучи.

Насекомые заселяют все типы экосистем планеты, за исключением глубин океана. Они живут в тропиках и являются одними из немногих пос­тоянных обитателей района Южного полюса.

Приспособительные возможности насекомых

Насекомые являют собой самую высокоразвитую группу наземных артропод. Механические преимущества экзоскелета создали условия для дальнейшей специализации, обеспечившей им перевес над своими конку­рентами. Благодаря наличию экзоскелета насекомые получи­ли большую поверхность для прикрепления мускулатуры, прекрасные возможности для регуляции испарения воды, что особенно важно для животных с малыми размерами, почти полную защиту жизненно важных внутренних органов от внешних повреждений.

Наиболее важные черты специализации насе­комых:

Крылья. Являются продуктом коренного, революционного развития животных (принцип ароморфоза). Способность к полету неизмеримо увеличи­ла шансы насекомых на выживание и распространение по планете. Увеличились возможности для питания и размножения и появились новые способы избегания вра­гов. Расширение возможностей для добывания пищи открыло путь для использования более специфических ее источников, особенно в тех случаях, когда пища или места выплода име­лись в ограниченном количестве и были труднодоступны.

Небольшие размеры. Эволюция насекомых шла в направлении развития большого числа мелких особей, нежели небольшого числа крупных. Это позволяло использо­вать многие новые необычные виды пищи, встречающиеся в небольших количествах, а также создавало больше возможнос­тей для укрытия и избегания врагов. Недостаток малых раз­меров состоит в том, что поверхность тела непропорци­онально велика по сравнению с его объемом. Это сильно повы­шает испарение и делает наземную жизнь практически невоз­можной для животных с тонкими покровами тела. Приобретенный склеротизированный кутикулярный экзоскелет насекомых обеспечива­ет им регуляцию испарения, что позво­ляет им быть малого размера.

Полный метаморфоз. Жизненный цикл насе­комых состоит из 4 стадий: 1) яйцо; 2) личинка, или пита­ющая стадия; 3) куколка, или покоящаяся переходная стадия; 4) взрослое насекомое, или репродуктивная стадия (имаго). Такой тип жизненного цикла встречается у групп насекомых с наи­большим числом видов, в том числе у жуков и мух. Почти у всех насекомых с таким типом жизненного цикла рост проис­ходит только за счет личиночного питания. У взрослого насе­комого потребляемая пища в основном тратится на созревание половых продуктов. Разные жизненные задачи поз­воляют личинкам и взрослым особям жить в совершенно раз­ных местообитаниях с разными условия существования, пос­кольку условия жизни личинки должны быть благоприятны для быстрого роста, а условия жизни взрослой особи - для спаривания и расселения. Полный мета­морфоз открыл насекомым доступ к огромному числу разнообразных местообитаний и видов пищи, что привело к развитию сложных типов поведения. Полный метаморфоз поз­воляет виду использовать преимущества двух абсолютно раз­ных типов местообитания и в то же время избегать многих их отрицательных сторон.

Полный метаморфоз отсутствует почти у половины отря­дов, но у них появляются другие адаптивные особенности.

Увеличение числа видов. Основные причины, с точки зрения теории эволюции, приведшие к такому видовому разнообразию насекомых следующие:

1.Многие виды насекомых приспособлены к жизни только в узких рамках некоторых экологических факторов, таких, как хозяева, температура, влажность. При относительно неболь­ших, но длительных изменениях климата, как это имело место в ледниковый период, ареал таких видов разбивается на изо­лированные части.

2.Благодаря способности к полету, крылатые насекомые могут перемещаться на большие расстояния, преодолевая с воздушными массами водные и другие преграды. В результате таких перемещений популяции насекомых могут заселить но­вые места обитания, географически изолированные от мест обитания основных популяций вида. Такие популяции-коло­низаторы могут развиваться в новые виды.

3.Генетическая несовместимость между изолированными популяциями, выражающаяся в невозможности спаривания и развития потомства, может возникнуть у насекомых очень ско­ро из-за короткой продолжительности жизни одного поколения и привести к ускоренному видообразованию.

Ни один из этих факторов нельзя считать наиболее важ­ной причиной того, что насекомые достигли огромного разно­образия и численности. Процесс может быть обуслов­лен и различными комбинациями этих и других факторов.

 

2 Отделы тела, их строение, функции и придатки

 

2.1 Расчленение тела насекомого на отделы:

голова, грудь, брюшко и их придатки

Объяснение к заданию

Наружные покровы насекомых представляют собой твер­дый экзоскелет, который служит опорой для прикрепления внутренней мускулатуры, придает жесткость телу насекомого. Стенка тела мо­жет быть достаточно гибкой или упругой, но растягивать­ся она способна лишь в течение короткого времени после линь­ки. Относительная гибкость тела обеспечивается за счет деле­ния его на отдельные членики - сегменты, которые соединя­ются между собой с помощью эластичных перепонок.

Сливаясь между собой, сегменты образуют 3 отдела: голо­ву, грудь и брюшко. На примере черного таракана или май­ского жука наиболее удобно разграничить эти отделы. Каждый из отделов несет придатки различного назначения (рисунок 2).

 

Порядок расчленения тела насекомого

Студент самостоятельно производит расчленение тела майского жука на 3 отдела: голову, грудь и брюшко.

В работе соблюдается такая последовательность: на пред­метном стекле жук кладется на спину и удерживается в таком положении препаровальной иглой. По границе головы и груди скальпелем отделяется голова. Затем отделяется брюшко, для чего линию реза скальпелем следует провести сразу же за третьей парой ног.

Оставшийся отдел груди разделяется на 3 составляющие его членика следующим образом: позади первой пары ног де­лается надрез, после чего легко отделяется переднегрудь. За­тем делается укол иглой в вершину щитка (треугольник у ос­нования надкрыльев), надкрылья разводятся в стороны и с брюшной стороны отделяется скальпелем второй членик груди (среднегрудь) с относящейся к нему второй парой ног. Этот членик очень узкий, и линия реза скальпелем должна пройти сразу же за второй парой ног. На стеклянной пластинке оста­ется третий членик - заднегрудь. К средне- и заднегруди со спинной стороны прикрепляются по одной паре крыльев, а с брюшной — по одной паре ног.

Расчлененное таким образом насекомое раскладывается на стекле в порядке следующих друг за другом частей тела.

Рассматривая отдел головы, надо установить форму и по­ложение ее у следующих насекомых: большой сосновый дол­гоносик, валежный короед, кузнечик, жужелица. Строение го­ловной капсулы разбирается па примере майского жука. В за­висимости от способа прикрепления головы выделяются основные про­гнатический и гипогнатический типы (рисунок 3).

2.2 Голова и придатки головы

Головная капсула служит для размещения головного мозга (окологлоточного нервного кольца) и придатков. Капсула образована за счет срастания головных сегментов (5…6 шт) и прочна. Шесть туловищных сегментов, слившихся с предковой го­ловной областью, или акроном, и вошедших в состав нынеш­ней сложной единой структуры, которую мы называем головой, несли парные придатки.

Как и прочие придатки сегментов, относящиеся к осталь­ным отделам тела насекомого, придатки головы произошли из простых ног, типичных для примитивных членистоногих. Та­ким прототипом, вероятно, стала нога трилобитов. Части головы называются по аналогии с частями головы человека (рисунок 4).

Наличник (клипеус). Эта область напомина­ет губу и лежит между фронтоклипеальным швом и верхней губой под глазами в передней части головной капсулы. Наличник срастается со лбом.

Лоб. Эта область располагается внизу передней части лица над наличником и ограничена с боков фронтальными швами.

Щеки. Щеки представляют собой нижнюю часть голо­вы под глазами и позади лба. Иногда впереди на лицевой части между лбом и щеками имеется щечный шов; если же этот шов отсутствует, то определенной границы между щеками и лбом нет.

Темя. Область задней части головы над глазами.

Затылок. Эта об­ласть охватывает большую часть задней поверхности головы. Она отделена от темени и щек затылочным швом.

Зазатылок. Это - узкий кольцеобразный склерит, составляющий край затылочного отверстия. Он отделен от за­тылка зазатылочным швом, имеющимся практических у всех взрослых насекомых. Зазатылок несет затылочные мыщелки, с помощью которых голова причленяется к цервикальным склеритам шейной области.

Затылочное отверстие, через которое проходят пищевод, нервная цепочка, протоки слюнных желез, аорта, трахеи и свободная кровь. Внутри головы расположен комплекс перекладин, называемый тенториумом.

Задание

В лупу рассматриваются отдельные части головной кап­сулы (склериты): наличник, лоб, темя, щеки, виски, затылок, горло, шея. Отыскиваются усики, глаза, ротовое отверстие и ротовые аппараты (рисунок 4).

Придатки головной капсулы и ротовые аппараты.

Голова насекомых несет усики, глаза и ротовые органы.

2.2.1 Строение и типы ротовых аппаратов

Тремя важнейшими частями ротового аппарата являются верхние челюсти (мандибулы), нижние челюсти (максиллы) и нижняя губа (лабиум). Все они представляют собой резуль­тат видоизменения типичных парных конечностей членисто­ногих.

Эволюционно сложилось, что предки и древние насекомые питались твердой пищей – отмершей растительностью, поэтому первичным является ротовой аппарат грызущего типа. Все остальные типы ротовых аппаратов появились в процессе эволюции как адаптация к изменению пищи и способам ее добывания. На построение частей ротовых аппаратов использованы три пары конечностей предков насекомых.

Верхняя губа. В типичном случае представляет собой подвижный козырек, свисающий с края наличника и прикрывающий рот. Верхняя губа образовалась путем отчленения от надротового щитка лицевой части головы. Форма у различных насекомых значительно варьирует.

Верхние челюсти (жвалы, мандибулы). Являются измененными парными придатками 4 сегмента головной капсулы. В типичном случае они твердые, сильносклеротизированные, несут зубцы различной конфигурации и предназначены для откусывания крупных частиц пищи. У насекомых, питающихся жидкой пищей, лежащей на поверхности – редуцированы.

Нижние челюсти (максиллы). Располага­ются непосредственно за мандибулами и являются парными придатками 5-го головного сегмента. Они имеют лишь боковое сочленение с основанием головной капсулы. Предназначены для измельчения крупных кусочков пищи, имеют членистое строение и несут щупики с размещенными на них органами химического чувства. Нижние челюсти у насекомых с сосущим типом ротового аппарата за счет нижнечелюстных щупиков образовали сосательную трубку (бабочки).

Нижняя губа. Членистое образование, представляющее собой частично сросшиеся парные придатки 6-го головного сегмента, закрывает ротовую полость снизу. Оно кажется единым элементом, но состоит из второй пары максилл (нижних челюстей), которые срос­лись вдоль средней линии и образовали функционально еди­ную структуру. Части нижней губы соответствуют час­тям нижних челюстей. У насекомых с грызущее-лижущим типом ротового аппарата части нижней губы удлинились и образовали лакающий язычок (пчелы), а у видов с колюще-сосущим типом (комары, клопы) – хоботок. При колюще-сосущем типе аппарата все части исходного грызущего аппарата сильно удлинились и служат для прокалывания (прорезания) тканей и являются чехлом для нижнегубного хоботка. У клопов на ротовых частях имеется сустав, позволяющий укладывать хоботок в покое на грудь.

Порядок выполнения задания:

1. Производится расчленение грызущего ротового ап­парата на составные части. Для этого используется голова расчлененного ранее майского жука. Через затылочное отвер­стие голова укрепляется на препаровальной игле. Скальпелем делаются надрезы в области правой и левой щеки и отделяет­ся нижняя губа, несущая нижнегубные щупальца и жеватель­ные лопасти. Затем отделяются нижние челюсти со щупаль­цами, верхние челюсти и верхняя губа. Выделенные части ротового аппарата рассматриваются в лупу. Рассматривается также грызущий ротовой аппарат других насекомых во взрос­лой стадии и у личинок жуков, черного таракана, стрекоз и др.

2. Ознакомившись со строением грызущего типа (основного), следует рассмотреть устройство колюще-сосущих ротовых ор­ганов. Для этого используются крупные клопы: вредная чере­пашка, ягодный клоп, сосновый подкорный клоп, комары и др. Отделив голову, следует рассмотреть строение «хоботка» и отдельных его щетинок. Взаимодействие ротовых частей при приеме пищи удобнее наблюдать у живых насекомых и их ли­чинок.

3. Рассмотреть устройство хоботковых типов ротовых ап­паратов: грызуще-лижущего у медоносных пчел и шмеля, со­сущего - у бабочек бражников, лимоницы, капустницы и др.; колюще-сосущего - у клопов и комаров.

4. Определить типы ротовых аппаратов у других насеко­мых, предложенных в наборе.

5. Зарисовать основные типы ротовых аппаратов (рисунки 5.6.7.8).

Материал и оборудование: отчлененные головы майских жуков, предварительно распаренные; набор насекомых в кол­лекции: бабочки белянки, сосновой бражник, кузнечик, жуже­лица, щавелевый клоп, пчела или шмель, жук-олень. Биноку­лярные микроскопы. Лупы, стеклянные пластинки для расчле­нения, препаровальные иглы.

 

2.2.2 Строение усиков (антенн)

Объяснение к заданию

В типичном случае у взрослых насекомых усики представ­ляют собой пару подвижных членистых придатков, отходящих от лицевой поверхности, обычно между глаз. Основная функция усиков – служить местом расположения сенсилл (чувствительных элементов) химического чувства. Первый членик называют скапусом (основной), второй — педицеллумом (стволик), а все оставшие­ся вместе – флагеллумом (жгутик). Прикреплен усик в усиковой ямке, иногда окруженной узким кольцеобразным усиковым склери­том. В эмбриогенезе усики разви­ваются из придатков 2-го головного сегмента. Усики чрезвы­чайно разнообразны по форме, и некоторые наиболее четко выраженные их типы имеют специальные наименования. У ли­чинок усики, как правило, сильно редуцированы как в отно­шении длины, так и в отношении числа члеников. Форма и строение усиков используются при систематике насекомых для выделения крупных единиц – семейств (пластинчатоусые, усачи и др.).

Основные типы усиков представлены на рисунке 9. Головная капсула также несет зрительные структуры двух типов: сложные гла­за и простые глазки.

Задание

1. Определить местоположение склеритов головной кап­сулы у майского жука. Для этого через затылочное отверстие голову насекомого укрепить на препаро­вальной игле и вращать ее, удерживая таким образом. Рас­смотреть в лупу лоб, темя, затылок, наличники, виски, щеки, а также усики, глаза, глазки, ротовое отверстие, ротовые ко­нечности.

2. Рассмотреть форму и положение головы у насекомых, предложенных в коллекции. Определить типы головной капсулы.

3. Зарисовать строение головной капсулы.

4. Рассмотреть типы усиков у различных насекомых, оп­ределить пол насекомых по различиям в строении усиков са­мок и самцов.

5. Зарисовать типы усиков.

Материалы и оборудование: набор насекомых в коллекци­ях или на пластинках — кузнечики, слоники, цикады, жужели­цы, усачи, бабочки шелкопряда (самки и самцы), майский жук, слепень; лупы 10х, бинокулярные микроскопы.

2.3 Строение груди и её придатков

Объяснение к заданию

Грудь, состоящая из 3-х сегментов (передне-, средне- и задне- груди), несет с вентральной (нижней) стороны по одной паре членистых ног, а с дорзальной (верхней) стороны на 2-м и 3-м грудных сегментах располагаются 2 пары крыльев или их за­чатков.

Ноги насекомых, состоящие из нескольких члеников, и крылья яв­ляются придатками груди.

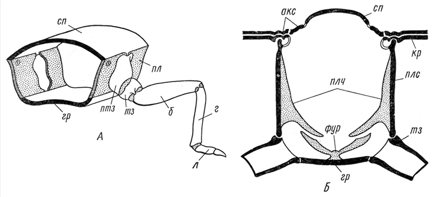
Грудью называется отдел тела, лежащий между головой и брюшком. Он состоит из трех последовательно расположен­ных сегментов. Каждый сегмент тела насекомого представляет собой хи­тиновое кольцо. Хитиновые пластинки (склериты), образующие это кольцо, носят названия: спинные, верхние пли дорзальные пластинки, образующие полукольцо, - тергиты; нижние или вентральные - стерниты и 2 боковые стенки – бочки – плейриты (рисунок 10).

Тергиты 3-х грудных отделов называются последователь­но: передне-, задне- и среднеспинка, стерниты соответственно: передне-, средне- и заднегрудка.

 

Рисунок 2 - Внешнее строение насекомого (расчлененный жук-олень, самец; (по В. Ф. Натали, 1968):

1 - нижняя губа; 2,3 - нижние и верхние челюсти; 4- верхняя губа; 5 - наличник; 6 - усики; 7 - голова; 8 - переднегрудь; 9 - передние ноги; 10 - среднегрудь; 11 - надкрылья; 12 - средние ноги; 13 - заднегрудь; 14 - крылья; 15 - задние ноги (а - тазики, б - вертлуги; в - бедра; г - голени; д - лапка); 16 - брюшко.

 

 

 

Рисунок 3 - Типы головы: прогнотическая, гипогнатическая, опистогнатическая     Рисунок 4 - Голова черного таракана в различных положених:. А - голова спереди: 1-верхняя губа, 2-верхние челюсти, 3- наличник, 4-лоб, 5-усик, 6-глазок, 7-глаз, 8-щека; 9-шов; 10- темя; Б - голова сзади: 11-затылок, 12-затылочное отвер­стие; 13-глаз, 14-подподбородок, 15-подбородок, 16- язычки, 17-придаточные язычки, 18-нижнегубные щупики, 19-основной членик, 20-стволик, 21-внутренняя жеватель­ная лопасть; 22-наружная жевательная лопасть, 23- нижнечелюстной щупик; В - голова сбоку: 24-глаз; 25- усик; 26-виски; 27-щеки; 28-наличник; 29-верхняя губа; 30- верхние челюсти, 31-нижние челюсти; 32-нижнечелюстной щупики, 33-нижняя губа, 34-нижнегубные щупики.

 

Рисунок 5 - Ротовые аппараты насекомых. А - ротовой аппарат грызущего типа (таракана); Б - ротовой аппарат грызуще-сосущего типа (пчелы); В - ротовой аппарат сосущего типа (бабочки); Г- ротовой аппарат колюще-сосущего типа (клопа); Д - ротовой аппарат колюще-сосущего типа (самки комара); Е - ротовой аппарат сосущего типа (самца комара): I - верхняя губа; II - верхние челюсти, или жвалы; III - нижние челюсти; IV- нижняя губа; V - подглоточник; 1 - подвесок (кардо), 2 - столбик (стинес), 3 – наружняя лопасть, 4 - внутренняя лопасть, 5 - щупик, 6 — предподбородок, 7 - подбородок, 8 - внутренние лопасти, 9 - наружные лопасти, 10 – щупик нижней губы Рисунок 6 - Ротовые органы грызущего типа (черного таракана) (из кн. Богданова-Катькова). I - верхняя губа; II - верхние челюсти; III – нижние челюсти; IV - нижняя губа: очл - основной членик, ств – стволик, нл - наружная, вл — внутренняя жевательная ло­пасть, чщ - челюстной щупик, гщ – губной щупик, ппб - подбородок, пб - ложный под­бородок. яз - язычок, пяз - придаточный язычок  

Рисунок 7 - Голова снизу с сосущим ротовым аппаратом бабочки (А) и колюще-со­сущим - клопа (Б) (по Кузнецову и Бей-Биенко и Скориковой): хоб — хоботок, гщ — губной щупик, вг — верхняя губа, вч — верхняя пара колющих щети­нок (верхние челюсти), нч — нижняя их пара, нг — нижняя губа, ус — усик, гл — глаза, глк — глазки, лб — лоб Рисунок 8 - Ротовые органы шмеля (по Холодковскому): 1 — верхняя губа, 2 — верхние челюсти, 3 — нижние челюсти (оч - основной чле­ник, ст - ствол ик, асл - жевательные ло­пасти, щ - рудимент щупика); 4 - ниж­няя губа; ппб - ложный подбородок, пб - прементум, яз - язычок, нл - руди­мент наружных жевательных лопастей, гщ - губной щупик)  

 

 

Рисунок 9 - Типы усиков насекомых (по Богданову-Катькову): 1 - щетинковидный усик, 2 - нитевидный, 3 - четковидный, 4 - пиловидный, 5 - гребенчатый, 6 - булавовидный, 7 - веретеновидный, 8 - пла­стинчатый, 9 - коленчатый, 10 - перистый, 11 - щетинконосный

Части усика: 1 – основной членик; 2 – стволик; 3 – жгутик; 4 - усиковая впадина.

 

Рисунок 10 - Схема строения грудного сегмента насекомого. А — общий вид; Б— поперечный разрез (по Обенбергеру и Снодграссу): сп — спинка, пл — плейрит, гр — грудка, птз — предтазик (субкокса), тз — тазик, б — бедро, г — голень, л — лапка, акс — аксиллярные склериты, кр — крыло, плс —плейральный стол­бик; внутренний скелет; плч — плейральный гребень, фур — фурка

 

Рисунок 11- Строение и типы ног (по Бей-Биенко, Богданову-Катькову):

1 - бегательная (жужелицы), тз - тазик, в - вертлуг, б - бедро, г - голень л - лапка, 2 - прыгательная (саранчи), 3 - копательная (медведки), 4 - плавательная (плавунца), 5 - хватательная (богомола), 6 - собирательная (медоносной пчелы)

 

 

 

 

Рисунок 12 - Типы крыльев (по Веберу и Гуссаковскому). Л - сетчатое (перед­нее крыло золотоглазки); Б - пере­пончатое (переднее крыло пилильщи­ка, пт - птеростигма); В - над­крылье жука; Г - полунадкрылье клопа Рисунок 13 - Схема среднеспинки, прикрепления и жилкования крыла. Обозначения жилок по­яснены в тексте (по Веберу): фр - передняя и задняя фрагмы, пщ - предщит, щ — щит, щк — щитик, зсп — заспинка, пш— парапсидальный шов, ш — V-образный шов, an — аксиллярные пластинки (показаны черным), юо - югальная область  

 

 

 

Рисунок 14 - Типы брюшка насекомых: 1 – сидячее пилильщика; 3 – висячее осы, 4 – стебельчатое осы, 5 - наездника Рисунок 15 - Придатки брюшка: 1 —грифельки (гр) и церки (ц) таракана, 2 —клеще­видные придатки уховертки, 3 — яйцеклад кузнечика

 

В тех отрядах, где крылья никогда не развиваются, эти 3 сегмента в главных чертах устроены примерно одинаково. Тергит и стер­нит пластинообразные, а плейральные склериты небольшие или недоразвитые.

У представителей крылатых насекомых 3 грудных сегмен­та сильно различаются между собой. Переднегрудь обыч­но сохраняет все те же части, что и в исходном состоянии. Среднегрудь и заднегрудь претерпели значительные изменения, связанные с развитием в каждом из этих сег­ментов мускулатуры, которая обеспечивать работу ног и крыльев. Плейрит значительно расширился, образовав крупную боковую пластину. С нижней части она несет коксальный отросток, к которому причленяется нога, а с верхней - крыловой отросток (плейральный столбик), к кото­рому причленяется крыло. Сзади и спереди плейрит срастается со стернитом, а участки срастания образуют мостики впереди и позади тазиковых впадин.

Стернит, объединяясь с плейритом своими передними и задними частями, имеющими вид полос, образует впадину, в которой располагается тазик.




Поделиться с друзьями:


Дата добавления: 2015-05-26; Просмотров: 6402; Нарушение авторских прав?; Мы поможем в написании вашей работы!


Нам важно ваше мнение! Был ли полезен опубликованный материал? Да | Нет



studopedia.su - Студопедия (2013 - 2026) год. Все материалы представленные на сайте исключительно с целью ознакомления читателями и не преследуют коммерческих целей или нарушение авторских прав! Последнее добавление




Генерация страницы за: 0.011 сек.