Студопедия

КАТЕГОРИИ:


Архитектура-(3434)Астрономия-(809)Биология-(7483)Биотехнологии-(1457)Военное дело-(14632)Высокие технологии-(1363)География-(913)Геология-(1438)Государство-(451)Демография-(1065)Дом-(47672)Журналистика и СМИ-(912)Изобретательство-(14524)Иностранные языки-(4268)Информатика-(17799)Искусство-(1338)История-(13644)Компьютеры-(11121)Косметика-(55)Кулинария-(373)Культура-(8427)Лингвистика-(374)Литература-(1642)Маркетинг-(23702)Математика-(16968)Машиностроение-(1700)Медицина-(12668)Менеджмент-(24684)Механика-(15423)Науковедение-(506)Образование-(11852)Охрана труда-(3308)Педагогика-(5571)Полиграфия-(1312)Политика-(7869)Право-(5454)Приборостроение-(1369)Программирование-(2801)Производство-(97182)Промышленность-(8706)Психология-(18388)Религия-(3217)Связь-(10668)Сельское хозяйство-(299)Социология-(6455)Спорт-(42831)Строительство-(4793)Торговля-(5050)Транспорт-(2929)Туризм-(1568)Физика-(3942)Философия-(17015)Финансы-(26596)Химия-(22929)Экология-(12095)Экономика-(9961)Электроника-(8441)Электротехника-(4623)Энергетика-(12629)Юриспруденция-(1492)Ядерная техника-(1748)

Инструмент, применяемый при проведении спускоподъемных операций




Элеваторы предназначены для захвата и удержания колонны штанг и труб на весу в процессе спускоподъемных операций. По назначению элеваторы бывают трубные и штанговые.

По типу захвата и удержания трубные элеваторы могут быть: а) с захватом под муфту; б) с захватом под высадку трубы; в) с захватом за тело (элеватор-спайдер).

Элеваторы первого типа наиболее распространены и предназначены для работы с муфтовыми трубами. Элеваторы второго типа необходимы для работы с трубами с высадкой наружу, а третьего типа - для работы с безмуфтовыми трубами.

По типу захвата и удержания штанговые элеваторы могут быть с захватом под высадку или квадрат штанги.

Элеваторы первого типа наиболее распространены и предназначены для работы по двухэлеваторной технологии. Элеватор с захватом под квадрат штанги позволяет работать по одноэлеваторной технологии, однако при работе с этим элеватором необходимо его соединение с талевым блоком с возможностью его вращения, так как при свинчивании-развинчивании элеватор вращается вместе со штангами.

Применение подобных элеваторов наиболее целесообразно при установке развинченных штанг в вертикальном положении, так как на мачте они устанавливаются путем подвески за высадку.

По конструкции трубные элеваторы могут быть одно- и двухштропные. Первые получили наибольшее распространение в подземном ремонте скважин.

Элеваторы типа ЭТАД (рис. 6) с захватным автоматическим устройством предназначен для работы с насосно-компрессорными трубами условного диаметра от 48 до 114 мм. Элеватор состоит из корпуса с подпружиненными защелками штропов, выдвижного захвата, упоров, запирающего устройства с рукояткой.

Захваты элеватора сменные и рассчитаны на определенный диаметр НКТ. Это позволяет использовать один корпус элеватора при спускоподъеме труб нескольких размеров. Захват включает в себя шток, шарнирно соединенный с двумя челюстями.

Шток снабжен шлицами, сопрягающимися с втулкой запирающего устройства. Запирающее устройство служит для фиксации челюстей элеватора в крайних положениях, соответствующих открытому или закрытому состоянию.

 

Рис. 6. Элеватор типа ЭТАД

1 - предохранитель; 2 - корпус; 3 - упор; 4 - захват; 5 - рукоятка.

 

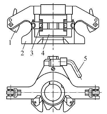
На промыслах в подземном ремонте скважин наибольшее распространение получили одноштропные элеваторы с захватом под муфту типа ЭТА (рис. 7), входящие в комплект инструмента для работы с насосно-компрессорными трубами: элеватор типа ЭТА - ручной ключ типа КТГУ - механический ключ типа АПР или КМУ.

 

Рис. 7 Элеватор типа ЭТА

1 - серьга; 2 - палец; 3 - шплинты; 4 - корпус; 5 - рукоятка; 6 - направляющая втулка; 7 - штырь; 8 - челюсть; 9 - направляющие; 10 - болт.

 

Выпускаются элеваторы ЭТА-32, ЭТА-50 и ЭТА-60 грузоподъемностью соответственно 32, 50 и 60 т. Они позволяют работать с НКТ диаметром 48, 60, 73 и 89 мм как с гладкими, так и с высадкой. Переход с одного диаметра на другой осуществляется путем смены захватов.

Для проведения спускоподъемных операций с одним элеватором необходимо устройство на устье скважины, способное удерживать колонну труб за тело.

При этом торец муфты остается свободным для последующего захвата колонны элеватором. Спайдер может быть выполнен отдельно или входить в состав механического ключа для свинчивания-развинчивания труб.

Спайдер гидравлический СГ-32 предназначен для захвата за тело и удержания на весу колонны труб в процессе спускоподъемных операций при текущем и капитальном ремонтах скважин.

Он представляет собой (рис. 8) разрезной корпус со сменными клиньями под трубы разных размеров. Клиньями управляют посредством гидравлического цилиндра, встроенного в корпус спайдера. Наклонные зубья плашек обеспечивают стопорение колонны от проворота в процессе свинчивания - развинчивания труб. На спайдере предусмотрено также вспомогательное ручное управление.

 

Рис. 8. Спайдер СГ-32

1 - гидроцилиндр; 2 - рукоятка; 3 — рычаг; 4 - клиновая подвеска; 5 - створка; 6 - центратор; 7 – корпус

 

Для свинчивания-развинчивания резьбовых соединений труб и штанг применяются ключи. Ключи могут быть трубными и штанговыми (по назначению) и, кроме того, ручными и механическими. В свою очередь, ручные ключи делятся на шарнирные и цепные. Шарнирные ключи более удобны в работе, имеют небольшой вес и меньше повреждают поверхность трубы.

Одним из широко применяемых ключей для работы с трубами является автомат Молчанова (АПР - автомат подземного ремонта) (рис. 9.)

Рис. 9. Автомат АПР-2ВБ

1 - корпус автомата; 2 - червячное колесо; 3 - клиновая подвеска; 4 - корпус клина; 5 - плашка; 6 - опорный фланец; 7 - водило; 8 - вал вилки включения маховика; 9 — электроинерционный привод; 10 — ось балансира; 11 — направление клиновой подвески; 12 - центратор; 13 - пьедестал центратора; 14 - фиксатор центратора.

 

Ключ (автомат) стационарно устанавливается на колонную головку, а крутящий момент передается водилом трубе через ручной ключ типа КТГУ.

Техническая характеристика АПР-2ВБМ

Максимальный крутящий момент, кН∙м (кг∙см) 4,5(450)

Потребляемая мощность, кВт 3,0

Частота вращения водила, с-1(об/мин) 0,85 (51)

Грузоподъемность спайдера, т 80

Количество вариантов набора маховиков 4

Привод ключа

Электрический инерционный

взрывобезопасный с питанием от промысловой сети

Двигатель привода Электродвигатель АИМ10084У2,5

n = 1430 об/мин, напряжением 380 B

Ключ (автомат) выполнен в виде блоков, что облегчает его монтаж-демонтаж, а также транспортировку. Основными частями ключа являются блоки вращателя, клиновой подвески и центратора, а также балансир с грузом, привод и блок управления приводом. люч (автомат) выполнен в виде блоков, что облегчает его монтаж-демонтаж, а также транспортировку. Основными частями ключа являются блоки вращателя, клиновой подвески и центратора, а также балансир с грузом, привод и блок управления приводом.

Блок вращателя представляет собой корпус клинового спайдера с червячным редуктором, работающим в масляной ванне, и водилом, передающим вращающее усилие трубному ключу. На конце червячного вала монтируется полумуфта центробежной муфты с установленными на ней сменными маховиками.

Блок клиновой подвески состоит из направляющей с кольцевым основанием, к которому на шарнирах подвешены три клина. Клинья для труб диаметром 48, 60, 73 мм состоят из корпуса клина и сменных плашек. Клинья для труб диаметром 89 мм монолитные. Клиновые подвески имеют усы-синхронизаторы, которые обеспечивают синхронную работу клиньев в момент захвата трубы.

Блок центратора состоит из пьедестала, к которому крепится блок вращателя, фиксатора и вкладышей центратора. Последние изготовляются с проходными диаметрами для труб диаметром 48, 60, 73 и 89 мм. Вкладыши центратора удерживаются в пьедестале фиксаторами.

Балансир состоит из рычага и груза, при помощи, которых осуществляется перемещение клиновой подвески вверх вниз.

Привод ключа включает электродвигатель с полумуфтой центробежной муфты и раздвижные кулачки.

Блок управления состоит из магнитного пускателя, кнопочного поста, соединенных между собой и с электродвигателем кабелем при помощи штепсельных разъемов.

Вращение от электродвигателя передается на полумуфту, которая передает номинальный крутящий момент только при наборе электродвигателем полного числа оборотов.

Ключ подвесной разрезной КПР-12 предназначен для свинчивания и развинчивания бурильных и насосно-компрессорных труб в процессе текущего и капитального ремонтов скважин.

Он состоит (рис. 10) из трубного ключа 2, выполняющего процесс свинчивания и развинчивания труб при расчетном крутящем моменте, и гидравлического агрегата, обеспечивающего требуемый расход и давление масла в гидросистеме.

 

Рис. 10. Ключ подвесной разрезной КПР-12

1 - стопор; 2 - ключ; 3 - створка; 4 — упор; 5 - ограничитель ключа и стопора; 6 - болт регулировочный; 7 — рукоятка подъема; 8 — гидроподъемник; 9 - амортизатор; 10 - серьга; 11 - винт; 12 - подвеска; 13 — гидрораскрепитель; 14 - ограничитель крутящего момента; 15 - рукоятка переключения скоростей; 16 – гидрорукав

 

Трубный ключ представляет собой двухскоростной цилиндрический редуктор с разрезной рабочей шестерней, в которой устанавливаются сменные захваты. Комплектуется съемным стопорным устройством. Привод от гидромотора.

Гидравлическая насосная станция - электроприводная; соединяется с ключом гидравлическими рукавами высокого давления; устанавливается на расстоянии до 10 м от скважины.

Управление ключа расположено на корпусе ключа. Ключ на стационарной вышке или на вышке передвижного агрегата подвешивают на тросе диаметром не менее 16 мм. Трос крепят при помощи трех зажимов. Во избежание перегибов троса и выхода его из строя применяют проушины соответствующих размеров. Высота подвески ключа на кронштейне должна составлять не менее 5 м, с тем, чтобы угол поворота кронштейна обеспечивал подвод и отвод ключа к устью скважины и обратно. Гидроподъемник 8 регулирует высоту подвески ключа в зависимости от расположения муфты трубы.

Диаметр троса, удерживающего ключ от реактивного момента при его работе, должен быть также не менее 16 мм.

Захваты под трубы сменные, заменяют их при выключенном гидравлическом агрегате.

Гидроподъемник 8 устанавливают на ключ до его подвешивания. Ключ подвешивают в следующей последовательности: амортизатор 9, гидроподъемник 8, подвеска 12, ключ 2, стопор 1.

Горизонтальное положение ключа достигается регулировкой болтами 6 и винтом 11 подвески 12. Удерживающие тросы должны находиться в горизонтальном положении и жестко быть закреплены.

Колонна труб монтируется на спайдере или элеваторе. Ограничитель ключа устанавливается в положение «развинчивание». Ключ надвигается на колонну труб, закрывая створку. Раскрепление трубы выполняется на низшей передаче, после чего на высшей передаче производится отвинчивание трубы. В случае отсутствия спайдера или малого веса колонны труб следует обязательно применять стопор. После окончания отвинчивания трубы производится реверсирование ключа до совмещения прорезей шестерни и корпуса. При этом захваты освобождают трубу, открывают створку, снимают ключ с трубы и отводят его в сторону.

Свинчивание производится аналогично. При этом ограничитель ключа устанавливается в положение «свинчивание», а ограничитель крутящего момента на насосной станции - в положение, соответствующее спускаемым в скважину трубам.

Штропы эксплуатационные (рис. 11) используются для подвешивания элеваторов к крюкам талевых систем.

По конструкции штроп - замкнутая стальная петля овальной формы, вытянутая по одной оси. Грузоподъемность комплектной пары штропов от 10 до 80 т.

 

Рис. 11. Штроп эксплуатационный:

1 - штроп; 2 - ручка; L - длина; B -ширина; d — диаметр поперечного сечения.

 

В комплект механизмов для ремонта входят:

- промывочные вертлюги грузоподъемной силой до 600 кН для промывки скважины через подвешенные на крюке трубы при одновременном их вращении с помощью ротора;

- облегченные талевые блоки грузоподъемной силой от 150 до 500 кН с количеством шкивов до четырех;

- эксплуатационные облегченные крюки КрЭ грузоподъемной силой от 125 до 500 кН,

- допускающие свободное вращение рога крюка относительно его серьги и снабженные амортизационной пружиной.

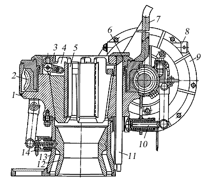
Существенным элементом оборудования для подземного ремонта скважин являются автоматические ключи для свинчивания и развинчивания муфтовых соединений труб и штанг, созданные впервые Г. В. Молчановым и в дальнейшем усовершенствованные. Наибольшей трудоемкостью при ремонте скважин отличаются спуско-подъемные операции. Для облегчения этих работ и уменьшения их опасности разработан автомат для свинчивания и развинчивания труб АПР-2ВБ(рис. 15.4), который одновременно выполняет функции захвата и удержания труб в подвешенном состоянии и автоматического их освобождения при подъеме. Автомат состоит из вращателя с червячной передачей, клиновой подвески труб (спайдера), центратора, балансира с грузом для уравновешивания клиньев спайдера и электропривода с переключателем. Вращатель имеет водило 7 (см. рис. 15.4), передающее вращательное усилие облегченному малогабаритному трубному ключу, одеваемому на тело трубы. Блок клиновой подвески состоит из основания подвески и трех шарнирно подвешенных клиньев, удерживающих колонну труб в подвешенном состоянии. Клинья и их плашки сменные и устанавливаются в зависимости от диаметра поднимаемых труб. Блок клиновой подвески вверх и вниз перемещается с по мощью балансира с грузом. Электродвигатель мощностью 2,8 кВт взрывобезопасного исполнения снабжен электроинерционным приводом, представляющим собой отключаемый маховик, установленный на валу двигателя. За счет инерции маховика удается значительно увеличить момент на водиле при отвинчивании труб, а также при завинчивании труб большого диаметра при малой мощности электродвигателя. Автомат для подземного ремонта АПР-2 изготавливается в двух модификациях: с электродвигателем во взрывобезопасном исполнении (АПР-2ВБ) с питанием от промысловой электросети 380 В и с гидроприводом (АПР-ГП), представляющим собой объемный гидравлический двигатель, который питается от автономного гидронасоса или гидравлической системы агрегата для подземного ремонта скважин. Гидропривод обеспечивает полную безопасность ведения работ в пожарном отношении, постоянство вращающего момента на водиле при свинчивании и развинчи-вании труб и простоту регулировки. В агрегате АПР-ГП используется гидродвигатель НПА64, позволяющий уменьшить массу автомата с 200 до 180 кг, вращающий момент которого легко регулируется настройкой предохранительного клапана гидросистемы.

 

 

Рисунок - 4. Автоматический ключ для труб АПР-2БВ:

1 - корпус автомата; 2 - червячное колесо; 3 - клиновая подвеска; 4 - корпус клина; 5 - плашка; 6 - опроный фланец; 7 - водило; 8 - вал вилки включения маховика; 9 - электроинерционный привод; 10 - стопорный винт; 11 - направляющая планка клиновой подвески; 12 - центратор; 13 - пьедестал центратора; 14 - фиксатор центратора

 

Во время работы на скважине автомат АПР-2 крепится к фланцу обсадной колонны двумя болтами. Для работы на скважинах, оборудованных погружными центробежными насосами, применяются модернизированные автоматы АПР-2ЭПН с автоматической приставкой, оснащенной центрирующим устройством и механизмом для съема или надевания хомутов для крепления токонесущего кабеля к трубам.

Автоматизация свинчивания и развинчивания штанг при спуско-подъемных операциях осуществляется автоматическим штанговым ключом АШК (рис. 15.5). Ключ АШК состоит из блоков ключа, устьевого кронштейна и реверсивного переключателя. В свою очередь блок ключа состоит из электродвигателя 1 мощностью 0,8 кВт во взрывобезопасном исполнении, редуктора 10, муфты 2, тормозного барабана 7, узла штангового захвата 8 и системы контрключа 6 с вилкой 4. Блок устьевого кронштейна 5 крепится на муфте насосной трубы на устье скважины, а сам ключ подвешивается к кронштейну на пружинной подвеске 9. Блок реверсивного переключателя 3 предназначен для реверсирования двигателя при свинчивании или раз-винчивании штанг. Автоматический ключ АШК (система Ногаева) управляется вручную или от ножной педали, имеет разрезной вращатель, надвигаемый на квадрат штанги. Под редуктором расположен контрключ, удерживающий подвешенную колонну штанг от вращения. Масса блока ключа составляет 36 кг, масса всего комплекса с блоком устьевого кронштейна - 105 кг. Максимальный вращающий момент на захватном органе ключа равен 800 Н-м. Применение автоматического ключа АШК, кроме облегчения ручных операций и ускорения работ, обеспечивает постоянный крутящий момент для затяжки муфтовых соединений штанг, что способствует сокращению аварий и предотвращает самопроизвольный отворот штанг.

Разработан универсальный ключ 1МШТК-16-60 - механический штангово-трубный ключ для свинчивания и развинчивания штанг диаметром 16, 19, 22, 25, 48 и 60 мм насосно-компрессорных труб. Ключ состоит из вращателя с электродвигателем, электроаппаратуры, приспособлений и инструмента. Вращатель с электродвигателем состоит из червячной пары, двухскоростной зубчатой коробки перемены передач с реверсивным механизмом и электродвигателя. Вращение вала электродвигателя через реверсивный механизм и зубчатую передачу передается червячной паре. К большой червячной шестерне, расположенной горизонтально, прикреплена стойка-водило, передающее вращение штанговому или трубному ключу. Коробка перемены передач с реверсивным механизмом состоит из четырех цилиндрических шестерен, сидящих попарно на червячном и шлицевом валах, и одной паразитной шестерни для реверса.

 

Рисунок - 5. Автоматический ключ для свинчивания штанг АШК

 

На шлицевой вал насажены две дисковые фрикционные муфты включения I и II скоростей. Направление вращения вала электродвигателя, связанное с переходом от подъема к спуску (т. е. от разворачивания муфтовых соединений к заворачиванию), изменяется при помощи реверсивного электрического переключателя типа ПРВ. На передний конец вала электродвигателя насажен маховик, обеспечивающий дополнительный крутящий момент при свинчивании и развинчивании резьбовых соединений. Грузоподъемная сила ключа - 160 кН. Частота вращения водила на первой скорости - 50 мин~~', на второй - 110 мин"1. Крутящий момент - 2600 и 1300 Н • м на первой и второй скоростях. Мощность электродвигателя 1,1 кВт. Масса вращателя сэлектродвигателем - 66 кг. Ключ крепится болтами к фланцу обсадной колонны и имеет в корпусе вращателя клиновой захват для удержания труб в подвешенном состоянии. В комплект механизмов для подземного ремонта скважин, кроме того, входят различные трубные и штанговые элеваторы, с помощью которых трубы или штанги подхватываются под муфту и удерживаются на весу. Существует много различных конструкций элеваторов грузоподъемностью от 100 до 800 кН. Кроме того, при текущем ремонте испульзуются трубные и штанговые механические и ручные ключи нескольких типоразмеров.

Подземный ремонт начинают с разборки устьевой арматуры. Разобранную арматуру располагают на вспомогательной площадке, расположенной неподалёку от устьевой. Далее с устья пьедестала монтируют механические или электромеханические ключи, исправность которых должна быть предварительно проверена. Этим заканчивается подготовка скважин к спуско-подьёмным операциям. При ремонте фонтанных и насосно - компрессорных скважин, в которые спущены два ряда НКТ, сначала поднимают внутренний ряд, а затем наружный. Развинченные трубы по диаметрам укладывают на стеллажи у приёмного моста. Для захвата трубы под муфту и удержания колонны НКТ на весу при СПО применяют трубные элеваторы: ЭТА, а для НКТ с высаженными концами наружу - типа ЭЗН. Элеваторы ЭТА выпускают грузоподьёмностью 32,50 и 80 тонн для всех диаметров НКТ. Шифр элеватора (например, ЭТА 50-48/89) показывает минимальную грузоподьёмность (50т) и размер НКТ (48-89 мм со сменными захватами) для которых предназначен элеватор.

Элеваторы типа ЭЗН обладают грузоподъёмностью 15, 25,50 тонн для НКТ условным диаметром 48,60,73,89 и 114 мм. Шифр элеваторов (ЭЗН - 6 - 25) обозначает минимальный условный диаметр труб (60мм) и грузоподъёмность 25 т. При использовании для свинчивания и развинчивания НКТ автомата АПР применяют специальные элеваторы типа ЭГ, грузоподъёмностью 16, 50 и 80 т. Для НКТ с высаженными концами элеваторы типа ЭГ выпускают для труб 33,42,48,60,73, 89, 102 и 114 мм, а для гладких труб - 42, 60, 73, 89, 102 и 114мм. Содержание шифра элеваторов типа ЭГ, так же, как и элеваторов ЭЗН. Если в шифре содержится буква В, то эти элеваторы предназначены для НКТ с высаженными концами (например, ЭГ - 60 - 50 В), без этой буквы - для гладких НКТ (ЭГ - 60 - 50). После проверки качества НКТ, замены вышедших из строя или замены нефутированных труб футированными, устранение песчаной пробки или обработки забойной части скважины химическим реагентом, НКТ опускают в скважину, начиная с наружного ряда труб и заканчивая внутренним рядом. При подземном ремонте скважины, оборудованной штанговым невставным глубинным насосом, штанги отсоединяют от плунжера на головке балансира СК, а потом поднимают из скважины. При штанги или подвешивают на специальном приспособлении или укладывают на стеллажи. Затем поднимают колонну НКТ с глубинным насосом. Заменив дефектные штанги, НКТ и глубинный насос, насосно-компрессорные трубы опускают на глубину и подвешивают на пъедестале, опускают насосные штанги и, соединив их с плунжером, подвешивают к головке балансира станка - качалки. При ремонте скважины, оборудованной вставным насосом, насосные штанги поднимают с плунжером, заменяют плунжер и отработанные штанги. Затем пускают плунжер со штангой в скважину. После установки плунжера на место штанги подвешивают к головке балансира станка - качалки. Спуск и подъём штанг производят с помощью 2х элеваторов штанговых грузоподъёмностью 5 и 10 тонн (ЭШН-5 и ЭШН-10).

При ремонте скважины оборудованной ЭЦН, после снятия арматуры "заряжают" электрокабель на подвесной ролик, устанавливают ключи для отвинчивания НКТ и монтируют пульт управления автонаматывателем силового электрокабеля. После этого приступают к подъёму погружного электроцентробежного насоса. При подъёме очередной трубы помощник оператора с помощью специального ключа освобождает электрокабель от НКТ. После замены ЭЦН опускают в скважину, присоединив к НКТ силовой электрокабель при помощи специальных устройств. Заключительные работы (установка арматуры, проверка состояния задвижек) проводят в порядке, обратном подготовительным работам.




Поделиться с друзьями:


Дата добавления: 2015-05-26; Просмотров: 2902; Нарушение авторских прав?; Мы поможем в написании вашей работы!


Нам важно ваше мнение! Был ли полезен опубликованный материал? Да | Нет



studopedia.su - Студопедия (2013 - 2026) год. Все материалы представленные на сайте исключительно с целью ознакомления читателями и не преследуют коммерческих целей или нарушение авторских прав! Последнее добавление




Генерация страницы за: 0.013 сек.