Студопедия

КАТЕГОРИИ:


Архитектура-(3434)Астрономия-(809)Биология-(7483)Биотехнологии-(1457)Военное дело-(14632)Высокие технологии-(1363)География-(913)Геология-(1438)Государство-(451)Демография-(1065)Дом-(47672)Журналистика и СМИ-(912)Изобретательство-(14524)Иностранные языки-(4268)Информатика-(17799)Искусство-(1338)История-(13644)Компьютеры-(11121)Косметика-(55)Кулинария-(373)Культура-(8427)Лингвистика-(374)Литература-(1642)Маркетинг-(23702)Математика-(16968)Машиностроение-(1700)Медицина-(12668)Менеджмент-(24684)Механика-(15423)Науковедение-(506)Образование-(11852)Охрана труда-(3308)Педагогика-(5571)Полиграфия-(1312)Политика-(7869)Право-(5454)Приборостроение-(1369)Программирование-(2801)Производство-(97182)Промышленность-(8706)Психология-(18388)Религия-(3217)Связь-(10668)Сельское хозяйство-(299)Социология-(6455)Спорт-(42831)Строительство-(4793)Торговля-(5050)Транспорт-(2929)Туризм-(1568)Физика-(3942)Философия-(17015)Финансы-(26596)Химия-(22929)Экология-(12095)Экономика-(9961)Электроника-(8441)Электротехника-(4623)Энергетика-(12629)Юриспруденция-(1492)Ядерная техника-(1748)

Работа гильзы при выстреле




Перед выстрелом между стенками гильзы и стенками патронника, а также между дном гильзы (шляпкой) и дном чашечки (зеркалом) затвора обычно имеются зазоры, необходимые для обеспечения подачи патрона в патронник и надежного запирания затвора. Разница в диаметре патрона и патронника называется диаметральным зазором. У систем, работающих на трехлинейных патронах, нормальный диаметральный рабочий зазор тоже равен 0,1 мм.

При выстреле, в период нарастания давления пороховых газов, гильза раздувается, увеличивается в диаметре, выбирает начальный диаметральный зазор и ее стенки вплотную прижимаются к стенкам патронника. Полное прижатие стенок гильзы с поверхностью патронника происходит сначала в наиболее тонких местах стенок гильзы, а именно - у ската, и распространяется по корпусу гильзы к ее дну по мере дальнейшего нарастания давления. То есть, когда передняя часть гильзы (от ствола) намертво прижата внутренним давлением к стенкам патронника, задняя часть еще свободна и не прижата. Запомним этот момент.

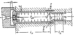
Прижатая к стенкам патронника гильза обеспечивает обтюрацию пороховых газов. При дальнейшем нарастании давления газов прижатая к стенкам патронника гильза давит на патронник изнутри и вызывает его упругую деформацию. Происходит совместная упругая деформация стенок гильзы и патронника. Наибольшего значения эта деформация достигает в момент максимального давления пороховых газов (схема 147).


Схема 147. Схема сил, действующих на бутылочную гильзу при выстреле

При спаде давления пороховых газов получается обратная картина. Стенки патронника, получившие упругую деформацию, этой же упругой деформацией возвращаются назад к первоначальному диаметру. Стенки гильзы возвращаются только на величину упругой деформации и не доходят до своего первоначального диаметра на величину остаточной деформации металла, из которого она сделана. Поэтому стреляные гильзы всегда будут немного раздуты.

В новом оружии это раздутие гильзы всегда будет меньше диаметрального зазора, и диаметр гильзы будет меньше диаметра патронника, поэтому гильзы без затруднений извлекаются и выбрасываются. Если оружие старое, с "разбитым" патронником, гильза при выстреле раздувается настолько, что ее остаточная деформация преобладает над деформацией упругой (которая возвращает диаметр гильзы в первоначальное положение), и в таком случае ее "зажимает" обратной упругой деформацией сужающихся стенок патронника. Гильзу подчас "прихватывает" настолько, что силы инерции подвижных частей автоматики не хватает на то, чтобы извлечь ее из патронника. При этом очень часто ломаются зацепы-выбрасыватели.

Так работает винтовочная гильза на расширение. Но существует еще и сила отдачи. Вследствие давления пороховых газов на дно гильзы последняя смещается к затвору и выбирает начальный зеркальный зазор. Гильза смещается сначала свободно, затем с нарастающими тормозящими силами трения о стенки патронника, сначала в передней (возле ската), затем в задней части.

При высокой прочности крепления пули в дульце гильзы последняя смещается с самого начала при наличии сил трения. Ввиду большой боковой поверхности сила трения возрастает быстрее, чем сила давления на дно, поэтому с возрастанием давления газов происходит последовательная остановка отдельных участков гильзы, начиная с тех мест, где ее стенки наиболее тонки, то есть начиная с дульца гильзы и мест вблизи ската. Короче, гильзу дьявольским давлением намертво прижимает передней частью к стенкам патронника, в то время как задняя часть возле шляпки еще движется (растягивается) назад. Шляпка гильзы выбирает зеркальный зазор и давит непосредственно на зеркало затвора, вызывая упругую деформацию деталей узла запирания. Происходит упругая осевая продольная деформация гильзы. При незначительном (рабочих размеров) зеркальном зазоре и неизношенных деталях узла запирания упругая деформация после падения давления в стволе возвращает продольные размеры этих деталей и стреляной гильзы в первоначальное состояние. Остаточная продольная деформация гильзы при этом мала и в расчет не принимается. Но если запирающий узел изношен и между рабочими опорными поверхностями боевых выступов затвора и опорных вырезов ствольной коробки, взаимно воспринимающих нагрузки выстрела, есть выработки и люфты, упругая деформация гильзы перерастает сначала в пластичную, затем в остаточную, а при очень больших люфтах боевых сочленений наступает продольный разрыв гильзы. Чаще всего этот разрыв происходит вблизи шляпки гильзы, ибо в этой части гильза еще движется при выстреле, а в передней части - уже нет.

Оружие с изношенным механизмом запирания и раздутым патронником можно использовать. Но для этого гильзу надо смазывать любым минеральным маслом, хоть ружейным, хоть автомобильным. Масло заполняет диаметральный зазор между стенками гильзы и стенками патронника. Как известно, плотность жидкости в 800 раз больше плотности воздуха, поэтому люфт раздутого патронника компенсируется этой плотностью, и гильза не раздувается. Возвратное упругое сопротивление патронника смазанную гильзу не "прихватывает". Где есть смазка, там нет трения, останавливающего гильзу. По этой причине смазанная гильза может силой отдачи практически свободно смещаться назад, к зеркалу затвора, даже при довольно большом износе узла запирания. Но если вы смазываете гильзу, то запомните: нельзя смазывать часть гильзы возле шляпки и оставлять сухие участки возле ската и дульца. За эти сухие участки гильзу внутренним давлением выстрела "прихватит" к патроннику, а ее задняя смазанная часть свободно двинется назад, и ее оторвет как раз на границе смазанных и несмазанных участков. Лучше, когда смазывают две трети гильзы со стороны пули. Долго держать патроны в смазанном состоянии нельзя: смазка вследствие поверхностного натяжения проникает внутрь патрона и обволакивает капсюльный и пороховой заряды, после чего они не срабатывают. В снайперских винтовках обычно заранее смазывают патронники маслом средней густоты (при сильных морозах - веретенным маслом, обычным керосином или соляркой). Смазанного патронника обычно хватает на десять выстрелов. Если есть графитовая смазка - оружейная или хотя бы автомобильный нигрол, - такой смазки в патроннике хватает выстрелов на двадцать. Графит сам по себе есть прекрасное смазывающее вещество.

В Сибири до сих пор стреляют из трехлинейных винтовок и американских винчестеров, оставшихся еще со времен гражданской войны. Патронники этого оружия уже достаточно раздуты, но мужики покрывают патроны со всех сторон (и даже со стороны шляпки) расплавленным парафином или воском. При таком покрытии боеприпасов старое оружие безотказно работает до сих пор. Застывшее покрытие не проникает внутрь патрона, не портит боевой заряд и прекрасно предохраняет его от сырости, которая в тайге присутствует везде.

С уменьшением жесткости узла запирания при его износе или неудачном конструировании оружия увеличивается зеркальный зазор и соответственно увеличиваются осевые растяжения и поперечные разрывы гильз. При деформации всего 0,34 мм уже начинают появляться признаки кольцевого (в одном месте) растяжения стенок наиболее твердых гильз. При деформации 0,48 мм резко увеличивается количество гильз с признаками разрушения. При большой деформации деталей узла запирания резко ухудшается отпирание ствола и открывание затвора даже при смазанных гильзах из-за осевого смещения гильзы силой отдачи назад из конусного патронника. В системах с ручной перезарядкой это не имеет принципиального значения: затвор открывается туго, но все-таки открывается. Но автоматические системы начинают при перезарядке "спотыкаться". Особенно это ощущается при стрельбе из пулеметов. Большое влияние на увеличение зеркального зазора оказывают конструкционные особенности того или иного образца оружия, а именно: система запирания, конструкция дна чашечки затвора, конструкция казенного среза ствола. Неудачное конструирование сопряжения затвора и казенного среза ствола всегда влечет за собой увеличение зеркального зазора и, как следствие, затрудненную экстракцию гильзы и ее разрыв. Особенно характерно эти моменты проявляются в самозарядной винтовке Токарева (СВТ), где запирание происходит при перекосе затвора задней частью вниз. При этом трудно сохранить стабильное положение затворной чашечки относительно шляпки патрона и стабильное положение зеркала затвора относительно казенного среза ствола. При выстреле ствольная коробка СВТ изгибается от упирания в нее задним опорным краем перекошенного затвора. К тому же патронник в данной винтовке имеет тонкие стенки для облегчения веса и поэтому получает большую упругую деформацию. Этого достаточно, чтобы после настрела 8000 выстрелов отрыв шляпки гильзы, невыброс гильзы и отрывы выбрасывателя превратились на винтовке СВТ в хроническое явление.

На легкость экстракции гильз и прочность их на разрыв оказывают влияние как свойства оружия, так и свойства патрона.

В зависимости от неоднородной закатки (запрессовки, завальцовки) пули в гильзе различны и усилия, сдвигающие пулю с места. С увеличением прочности крепления пули в дульце гильзы увеличивается максимальное давление газов, поскольку увеличивается часть заряда, сгорающая в условиях постоянного объема. Чем больше давление, тем больше влияние всех остальных факторов на прочность и экстракцию гильзы. Чем больше давление, тем меньше конечные зазоры между гильзой и окружающими ее деталями оружия. При высоком давлении газов гильза с самого начала будет смещаться при наличии значительных сил трения. В результате этого стенки гильзы окажутся более растянутыми в осевом направлении к моменту максимального давления газов, чем это произошло бы при слабом креплении пули. Поэтому не удивляйтесь, если при стрельбе валовыми патронами у вас вдруг разорвет гильзу пополам и часть ее останется в патроннике - значит, она была закатана плотнее других.

Большое влияние на работу гильзы оказывает наружная форма дна гильзы. Казалось бы, не все ли равно, имеет ли гильза закраины для захвата выбрасывателем или же на ней для этого сделана кольцевая проточка. Казалось бы, гильзы с проточкой даже удобнее для работы автоматического оружия. Однако наличие кольцевой проточки для зацепа выбрасывателя в сочетании с низкими механическими характеристиками прочности в значительной степени ослабляет сопротивление дна гильзы отжимающим нагрузкам. За счет пластической деформации сжатия дна происходит дополнительное осевое растяжение стенок и увеличение поперечных размеров донной части гильзы, чем и объясняется ухудшение прочности и экстракции гильзы, особенно при большой деформации узла запирания. В связи с этим неблагоприятное влияние оказывает на работу гильзы и такой на первый взгляд отдаленный фактор, как форма наружной поверхности дна гильзы. Различного рода углубления на поверхности дна гильзы для расположения знаков клеймения уменьшают опорную поверхность и способствуют деформации дна.

Кроме того, цилиндрическая гильза с кольцевой проточкой требует очень точной обработки патронника по длине. Гильзы с кольцевой проточкой в патроннике упираются скатом в скат патронника и таким образом фиксируются. При этом требуется очень большая точность изготовления гильзы по длине и, соответственно, точность изготовления оружия, стреляющего такими боеприпасами. При самом незначительном отступлении от этого требования в сторону увеличения увеличивается и "провал" гильзы в патронник, а следовательно, увеличивается и зеркальный зазор со всеми вытекающими последствиями.

Поэтому предпочтительнее иметь гильзу с закраиной. Такая гильза не "провалится" в патронник - дальше казенного среза ствола ее не пустит закраина. Гильзам с упором выступающей закраины не требуется большая точность по длине яри изготовлении. Шляпка (дно) такой гильзы имеет втрое большее сопротивление сжимающим нагрузкам. И кроме того, закраина для зацепа выбрасывателя намного надежнее, чем кольцевая проточка. Применение в окопных условиях патронов с закраиной для винтовок и пулеметов намного надежнее, чем патронов с проточкой. Этим и объясняется то, что всем известный трехлинейный патрон с закраиной существует на вооружении Российской (Советской) Армии более 100 лет, и, по всей видимости, стрелять этими патронами будут еще очень долго-

Для легкости извлечения стреляной гильзы из патронника гильзы сильных винтовочных боеприпасов делают конической бутылочной формы. Соответственно, такой же конической формы делают и патронник. Причем внутренние стенки патронника выполняются для уменьшения трения с очень большой чистотой и обрабатываются почти до зеркального состояния.

Формы гильз непрерывно пытались совершенствовать. Оружейникам и стрелкам неоднократно приходилось видеть гильзы с кольцевой накаткой (гофром) посредине. Этот гофр, а иногда и несколько гофров, делается для того, чтобы гильза могла растянуться по оси, не разорвавшись.

Сами гильзы выполняются с очень большой точностью. Случается, что гильзы (особенно военного времени выпуска) имеют меньший диаметр, чем положено. Такие гильзы при выстреле или раздуваются, или, чаще всего, разрываются (дают трещину) в продольном направлении. Такое явление происходит и при сильно раздутом патроннике.

С раздутиями и разрывами металлических бутылочных гильз боролись с самого их изобретения - с конца прошлого столетия - и борются до сих пор. К пулеметным запирающим механизмам приспосабливают различные металлические прокладки, уменьшающие зеркальный зазор при износе механизмов. В первой половине XXстолетия в ряде стран в пулеметных системах применялись масляные капельницы для смазывания патронов при подаче в патронник. У пулеметов меняли изношенные стволы с раздутыми патронниками. "Подсевшие" затворы или раздвижные боевые упоры (пулеметы Горюнова и Дегтярева ротный) меняли на ремонтные большей длины. Болезнь поперечного разрыва гильзы в пулеметах до сих пор дает себя знать. К пулемету Дегтярева (ДП, ДПМ) даже полагался прибор для извлечения оборванной части гильзы. Он представлял собой стержень в виде винтовочного патрона с гарпуном; при обрыве гильзы его вставляли вместо боевого патрона, затвором задвигали в патронник и вытаскивали назад вместе с фрагментом оборванной гильзы.

У винтовок восстановление нормального зеркального зазора между передней плоскостью затвора и дном гильзы производится путем замены боевой личинки (затвора у СВД) на повышенную, с повышенными по оси затвора боевыми выступами, или напайкой на зеркале затвора. Но такие вещи должен делать опытный оружейник.

В настоящем пособии рассмотрена работа гильз сильных боеприпасов для винтовок и пулеметов при жесткой системе запирания. В пистолетах и пистолет-пулеметах, где применяются маломощные патроны, со свободными и полусвободными затворами, работа гильз несколько иная. Но требования к материалам, из которых изготавливаются гильзы, одинаковы для всех типов боеприпасов.

Материал, из которого изготовлены гильзы, должен соответствовать специфическим нагрузкам выстрела. Гильзы, изготовленные из слишком упругого материала, начинают рваться при расширении и растяжении.

Гильзы из чрезмерно пластичного металла, который практически не имеет упругости обратной деформации, после падения давления в стволе остаются в раздутом состоянии, "зажимаются" патронником и не выходят после выстрела. Кроме того, материал гильзы должен обеспечивать возможно меньший коэффициент трения.

Идеальным материалом, отвечающим почти всем предъявляемым требованиям для изготовления гильз винтовочных патронов, является латунь. Но латунь дорога и, кроме того, при длительном хранении она становится хрупкой. Поэтому наиболее применяемьм материалом для изготовления гильз является мягкая сталь, плакированная (биметаллизированная) томпаком. Слой томпака берется толщиной, составляющей 4-6% толщины стенки гильзы. Томпак предохраняет гильзу от коррозии и резко снижает коэффициент трения, способствуя улучшению экстракции гильзы после выстрела.

Гильзы, как и оболочки пуль, изготавливаются также из холоднокатаной стали с последующим покрытием специальным лаком (обычно зеленого цвета), который улучшает условия работы гильзы при выстреле, дает смазывающий эффект, улучшает коэффициент трения и предохраняет патрон от коррозии.

Гильзы изготавливаются методом глубокой вытяжки. Технологически этот процесс довольно сложный и ответственный.




Поделиться с друзьями:


Дата добавления: 2015-06-25; Просмотров: 581; Нарушение авторских прав?; Мы поможем в написании вашей работы!


Нам важно ваше мнение! Был ли полезен опубликованный материал? Да | Нет



studopedia.su - Студопедия (2013 - 2026) год. Все материалы представленные на сайте исключительно с целью ознакомления читателями и не преследуют коммерческих целей или нарушение авторских прав! Последнее добавление




Генерация страницы за: 0.011 сек.