Студопедия

КАТЕГОРИИ:


Архитектура-(3434)Астрономия-(809)Биология-(7483)Биотехнологии-(1457)Военное дело-(14632)Высокие технологии-(1363)География-(913)Геология-(1438)Государство-(451)Демография-(1065)Дом-(47672)Журналистика и СМИ-(912)Изобретательство-(14524)Иностранные языки-(4268)Информатика-(17799)Искусство-(1338)История-(13644)Компьютеры-(11121)Косметика-(55)Кулинария-(373)Культура-(8427)Лингвистика-(374)Литература-(1642)Маркетинг-(23702)Математика-(16968)Машиностроение-(1700)Медицина-(12668)Менеджмент-(24684)Механика-(15423)Науковедение-(506)Образование-(11852)Охрана труда-(3308)Педагогика-(5571)Полиграфия-(1312)Политика-(7869)Право-(5454)Приборостроение-(1369)Программирование-(2801)Производство-(97182)Промышленность-(8706)Психология-(18388)Религия-(3217)Связь-(10668)Сельское хозяйство-(299)Социология-(6455)Спорт-(42831)Строительство-(4793)Торговля-(5050)Транспорт-(2929)Туризм-(1568)Физика-(3942)Философия-(17015)Финансы-(26596)Химия-(22929)Экология-(12095)Экономика-(9961)Электроника-(8441)Электротехника-(4623)Энергетика-(12629)Юриспруденция-(1492)Ядерная техника-(1748)

Общие правила оформления чертежей




ПРЕДВАРИТЕЛЬНЫЕ ЗАМЕЧАНИЯ

Наряду с другими материалами в строительстве широко применяю металл. В настоящее время большое распространение получили конструкции из стали и сплавов алюминия.

Металлические конструкции большей частью используют в зданиях промышленного и гражданского типа, имеющих значительные пролёты. Для изготовления массовых строительных конструкций чаще всего применяют стальные прокатные (горячекатаные) профили. В настоящее время металлические конструкции изготавливают так же из сварных профилей, создаваемых из отдельных элементов по специальным техническим условиям.

Обучение студентов чтению чертежей металлических конструкций является одной из главных задач дисциплины «Начертательная геометрия. Инженерная графика». С целью успешного решения этой задачи учебной программой предусмотрено самостоя­тельное выполнение студентами соответствующей расчетно-графической работы.

 

1. ЦЕЛЬ РАСЧЁТНО-ГРАФИЧЕСКОЙ РАБОТЫ

1. Освоить методику, приобрести навыки чтения чертежей металлических конструкций.

2. Сформировать практические умения и навыки выполнения чертежей металлических конструкций; углубить знания государственных стандартов ЕСКД на разработку и оформление чер­тежей металлических конструкций; развить техническое мышление.

 

2. СОДЕРЖАНИЕ РАСЧЁТНО-ГРАФИЧЕСКОЙ РАБОТЫ

На листе формата А3 необходимо вычертить:

1. Геометрическую схему фермы в М 1:200.

2. Два или три изображения узла металлической конструкции (в зависимости от варианта задания), проставить размеры и номера позиций.

3. Составить спецификацию изделия.

4. Построить аксонометрическое изображение данного узла.

 

Чертежи металлических конструкций зданий и сооружений представляют собой чертежи общего вида, планов и разрезов. Кроме этого, для групп элементов конструкций (колонн, балок, ферм и т. п.) составляют схемы расположения этих элементов, а при необходимости выполняют ещё чертежи элементов и узлов конструкций (оформление таких чертежей см. в Приложении 2). Все эти чертежи входят в состав основного комплекта рабочих чертежей марки КМ. Чертежи марки КМ служат основой для разработки деталировочных чертежей марки КМД, составления смет и определения потребного количества металла.

Строительные конструкции чаще всего изготавливают из стальных прокатных профилей. Конфигурация поперечного сечения определяет профиль прокатной стали и его название.

Наибольшее распространение получили следующие профили прокатной стали: уголки равно- и неравнополочные, двутавр и швеллер. Основные элементы профиля имеют конкретные названия. Элемент, характеризуемый величиной b в угловой стали, швеллере, двутавре и др., называется полкой. В двутавре и швеллере вертикальный элемент, имеющий высоту h, называется стенкой. Подробное наименование элементов угловой стали и изображение наиболее часто встречающихся профилей проката дано на рис. 3.1.

 

 

Рис. 3.1. Прокатные профили

 

Сведения о размерах, форме и другие данные сортового прокатного профиля различных видов приводятся в специальной таблице сортамента стального проката (Приложение 3).

Как правило, металлические конструкции изготавливают на специализированных заводах, а затем доставляют на место стройки различным транспортом. Это даёт возможность членения каждой конструкции на «отправочные марки». Отправочная марка часть конструкции, удобная для транспортировки.

Отдельные элементы металлических конструкций соединяют преимущественно сварными швами и реже заклёпочными. Условные изображения швов сварных конструкций выполняют по ГОСТ 2.312-72. По этому стандарту шов сварного соединения, независимо от способа сварки, условно изображают:

- видимый – сплошной основной линией;

- невидимый – штриховой линией.

Видимую одиночную сварную точку, независимо от способа сварки, условно изображают знаком «+», который выполняют сплошными линиями. Невидимые одиночные точки не изображают.

От изображения шва или одиночной точки проводят линию-выноску, заканчивающуюся односторонней стрелкой. Условные обозначения шва наносят:

- на полке линии-выноски, если шов с видимой стороны;

- под полкой линии-выноски, если шов с невидимой стороны.

Рис. 3.2. Графическое обозначение сварных швов

 

На рис. 3.2 показано:

а) и б) условное обозначение точечной сварки и размер знака;

в) и г) условное обозначение шва с видимой и невидимой стороны;

д) условное обозначение шва, выполненного при монтаже.

Однако для чертежей марки КМ в соответствии со стандартами предприятий-изготовителей металлических конструкций допускается применение изображения швов сварных соединений, приведённых на рис. 3.3 и рис. 3.4.

Рис. 3.3. Условные изображения сварных швов

 

В этом случае швы обозначают без выносных линий. Обозначение располагают над или под графическим обозначением шва (по типу 6-100, 4-75), независимо от того, является сварной шов видимым или невидимым.

Первая цифра в обозначении шва указывает высоту катета, а вторая–длину шва. Если стоит одна цифра, то она обозначает высоту катета шва, а сварка делается по всей длине элемента (см. рис. 3.4)

 

Рис. 3.4. Обозначение швов

 

На рис. 3.5. показан пример обозначения сварных швов по ГОСТ 2.312-72

 

Рис. 3.5. Обозначение сварных швов

 

На чертежах колонн, балок, ферм, связей и др., выполненных из прокатных профилей проставляют их условные графические изображения и их размеры. На рис. 3.6 приведены условные графические обозначения прокатных профилей.

Рис. 3.6. Условные обозначения прокатных профилей

 

Масштабы чертежа выбирают в зависимости от сложности конструкции и сооружения в целом, с тем, чтобы были обеспечены компактность изображения, удобство пользования чертежом и получения чётких копий при современных способах размножения чертежей.

Рекомендуемые масштабы

Общий вид, планы и разрезы..............................1:50, 1:100, 1:400

Схемы расположения элементов

конструкций.........................................................1:100, 1:200, 1:400

Элементы конструкций........................................1:15, 1:20, 1:50

Узлы конструкций................................................1:10, 1:15, 1:20, 1:25

При выполнении чертежей элементов конструкций (раскосов, стоек, поясов ферм и т. п.), имеющих длину, значительно большую поперечных размеров, разрешается в поперечном направлении эти элементы изображать в более крупном масштабе (обычно в два раза крупнее).

Линии. При схематическом изображении металлических конструкций в одну линию и для вычерчивания видимого контура в детальных изображениях применяется сплошная основная линия. При схематическом и полусхематическом изображении контуров конструкций элементы, выполненных из других материалов, изображают более тонкой линией.

Расположение видов элементов металлических конструкций несколько отличается от расположения видов на чертежах деревянных и железобетонных конструкций (рис.3.7).

Рис. 3.7. Расположение видов

 

Вид сверху в проекционной связи–над главным видом, вид снизу–под главным видом, вид справа–справа от главного вида, вид слева–слева от главного вида. Над каждым видом, кроме главного, делают надпись по типу «А», а направление взгляда указывают стрелкой, обозначенной соответствующей буквой. Если нужно показать какую-то часть конструкции, то на главном виде или каком-нибудь другом виде направление взгляда можно показать как разрез или сечение (двумя разомкнутыми линиями со стрелками), а само изображение сопроводить надписью: 1-1 или 2-2 и т. п. При вычерчивании узлов металлических конструкций видимыми показывают те части, которые находятся в непосредственной близости от наблюдателя, а невидимыми – только те, которые расположены вплотную к видимым. Металлические конструкции из прокатных профилей могут изображаться на чертежах без скругления углов.

Разрезы, сечения. Контуры элементов конструкций на изображениях разрезов и сечений не штрихуют. На чертежах, масштаб которых мельче 1:20, изображения сечения элементов конструкций допускается показывать одной линией. Отверстия, заклёпки и болты на видах и разрезах, параллельных их осям, можно изображать осевыми линиями.

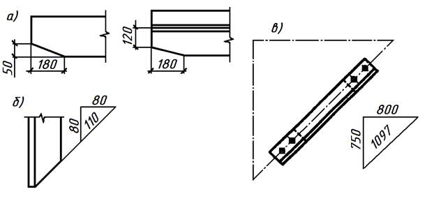
Скосы, уклоны. Скосы на чертежах элементов конструкций показывают линейными размерами (рис. 3.8 а) или с помощью прямоугольного треугольника, гипотенуза которого совпадает с краем изображения или выносной линией (рис. 3.8 б). Величина горизонтального и вертикального катетов представляет собой абсолютное или относительное значение их длины. Уклон элемента металлических конструкций (например, раскосы фермы), также обозначают треугольником, только располагают его в непосредственной близости от него или на продолжении осевой линии (рис. 3.8 в).

Рис. 3.8. Размеры скосов и уклонов

 

Маркировка (номера позиций). Элементы металлических конструкций маркируют, т. е. проставляют номера позиций элемента, под которым он записан в спецификации, вынося номер позиции на полку. Однако в отраслевых стандартах допускается номера позиций проставлять в кружках диаметром 5–7 мм. От маркируемого элемента к кружку идёт волнистая линия (рис. 3.9).

Размеры. Нанесение размеров проводят согласно ГОСТ 2.307-68 с учётом требований СПДС ГОСТ 21.101-97.

Размеры нескольких одинаковых промежутков допускается указывать в виде произведения размера промежутка на их число. Можно в этом случае нанести размеры одного из крайних промежутков (шаг колонн, расстояния между заклёпками и т. п.).

Рис. 3.9. Простановка номеров позиций

 

Диаметр заклёпок и болтов, а также размеры или диаметр отверстий на чертежах указывают с помощью выносной надписи, причём для отдельных различных отверстий, заклёпок и болтов надпись делают от каждого из перечисленных элементов. Для нескольких одинаковых отверстий, заклёпок и болтов, расположенных на одной оси, выноска делается от этой оси. Если несколько одинаковых заклёпок, отверстий или болтов расположены группой, то её обводят от руки тонкой линией и выносную надпись делают от линии, охватывающей эту группу (рис. 3.10.)

 

Рис. 3.10. Размеры группы отверстий

Поясняющие надписи. Если элемент конструкции состоит из одного профиля, или на чертеже изображено действительное число входящих в сечение профилей и их действительное расположение, то число профилей не указывают. Условное обозначение профилей и их действительное расположение в элементе конструкции допускается изображать по типу (рис. 3.11), приводя также данные о размерах профилей. В эти данные записывают, при необходимости, и длину детали, которая отделяется знаком «тире» от размера сечения, например, для равнополочного уголка с шириной большой полки 70 мм., шириной меньшей полки 50 мм., толщиной полок 8 мм и длиной уголка 3500 мм, эта запись будет иметь вид: 70×50×8-3500.

 

Рис.3.11. Обозначение условного расположения профилей

 

Сведения о размерах профиля следует наносить параллельно его изображению на полке линии-выноски или без неё (рис. 3.12).

 

Рис.3.12. Поясняющая надпись




Поделиться с друзьями:


Дата добавления: 2015-06-25; Просмотров: 4585; Нарушение авторских прав?; Мы поможем в написании вашей работы!


Нам важно ваше мнение! Был ли полезен опубликованный материал? Да | Нет



studopedia.su - Студопедия (2013 - 2025) год. Все материалы представленные на сайте исключительно с целью ознакомления читателями и не преследуют коммерческих целей или нарушение авторских прав! Последнее добавление




Генерация страницы за: 0.008 сек.