Студопедия

КАТЕГОРИИ:


Архитектура-(3434)Астрономия-(809)Биология-(7483)Биотехнологии-(1457)Военное дело-(14632)Высокие технологии-(1363)География-(913)Геология-(1438)Государство-(451)Демография-(1065)Дом-(47672)Журналистика и СМИ-(912)Изобретательство-(14524)Иностранные языки-(4268)Информатика-(17799)Искусство-(1338)История-(13644)Компьютеры-(11121)Косметика-(55)Кулинария-(373)Культура-(8427)Лингвистика-(374)Литература-(1642)Маркетинг-(23702)Математика-(16968)Машиностроение-(1700)Медицина-(12668)Менеджмент-(24684)Механика-(15423)Науковедение-(506)Образование-(11852)Охрана труда-(3308)Педагогика-(5571)Полиграфия-(1312)Политика-(7869)Право-(5454)Приборостроение-(1369)Программирование-(2801)Производство-(97182)Промышленность-(8706)Психология-(18388)Религия-(3217)Связь-(10668)Сельское хозяйство-(299)Социология-(6455)Спорт-(42831)Строительство-(4793)Торговля-(5050)Транспорт-(2929)Туризм-(1568)Физика-(3942)Философия-(17015)Финансы-(26596)Химия-(22929)Экология-(12095)Экономика-(9961)Электроника-(8441)Электротехника-(4623)Энергетика-(12629)Юриспруденция-(1492)Ядерная техника-(1748)

Введение. Александр Борисович Помаслов




Задание.

КРИМИНАЛИСТИКА

Александр Борисович Помаслов

Антон Мечиславович Лютынский

Артем Тахирович Валеев

Сборник методических материалов

для слушателей факультета заочного обучения по специальности

030501.

 

В авторской редакции

Подписано в печать Гарнитура Times New Roman Уч.-изд. л. Формат 60 х 90 1/16 Бумага офсетная Тираж … экз. Заказ №

 

Организационно-научный и редакционно-издательский отдел

Вологодского института права и экономики ФСИН России

160002, г. Вологда, ул. Щетинина, 2

 


[1] Тематический план для курсантов и слушателей каждого года обучения утверждается кафедрой ежегодно с учетом последних изменений рабочих учебных планов института, уголовно-процессуального законодательства, современных достижений криминалистики и теории оперативно-розыскной деятельности.

 

[2] Криминалистика. Учебник под ред. А.Г. Филлипова и А.Ф. Волынского. М.,1999.С.4.

[3] Белкин Р.С. Курс криминалистики в 3 т. Т.1: Общая теория криминалистики. М.: Юристъ, 1997. С. 274.

[4] Криминалистика: Учебник/ Под ред. А.Г. Филлипова и А.Ф. Волынского. М., 1998.С.228.

[5] Криминалистика. Учебник под ред. А.Г. Филлипова и А.Ф. Волынского. М.,1999.С.331.

* Курсивом выделены вопросы, которые выносятся на зачет по криминалистике.

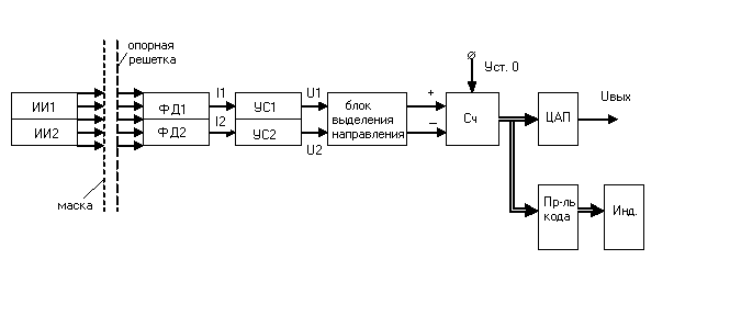
Преобразователь малых линейных перемещений.

 

1) Функциональная схема:

 

 

рис.1.

 

 

1)Диапазон возможных перемещений 0..16 мм

2) Погрешность преобразования 0.1%

3) Индикаторы: а) матричный 128х128

б) сегментный для отображения частоты

колебаний среднего значения

в)сегментный для отображения амплитуды (максимального

отклонения)

4) Разработать принципиальную электрическую схему преобразователя, рассчитать ее параметры, разработать конструкцию узла преобразователя.

5) - Частота колебаний + амплитуда

- Частота колебаний + постоянная смещения

 

 

 

В мире известны много различных методов измерения прецизионных линейных и угловых перемещений объектов, например:

1.Измерители на индуктивных преобразователях:

2. Измерители со световой решеткой.

3. Емкостные измерители перемещений и микроперемещений.

4. Лазерные интерференционные измерители перемещений

и тд.

Рассмотрим некоторые из них.

 




Поделиться с друзьями:


Дата добавления: 2015-06-04; Просмотров: 629; Нарушение авторских прав?; Мы поможем в написании вашей работы!


Нам важно ваше мнение! Был ли полезен опубликованный материал? Да | Нет



studopedia.su - Студопедия (2013 - 2026) год. Все материалы представленные на сайте исключительно с целью ознакомления читателями и не преследуют коммерческих целей или нарушение авторских прав! Последнее добавление




Генерация страницы за: 0.009 сек.