Студопедия

КАТЕГОРИИ:


Архитектура-(3434)Астрономия-(809)Биология-(7483)Биотехнологии-(1457)Военное дело-(14632)Высокие технологии-(1363)География-(913)Геология-(1438)Государство-(451)Демография-(1065)Дом-(47672)Журналистика и СМИ-(912)Изобретательство-(14524)Иностранные языки-(4268)Информатика-(17799)Искусство-(1338)История-(13644)Компьютеры-(11121)Косметика-(55)Кулинария-(373)Культура-(8427)Лингвистика-(374)Литература-(1642)Маркетинг-(23702)Математика-(16968)Машиностроение-(1700)Медицина-(12668)Менеджмент-(24684)Механика-(15423)Науковедение-(506)Образование-(11852)Охрана труда-(3308)Педагогика-(5571)Полиграфия-(1312)Политика-(7869)Право-(5454)Приборостроение-(1369)Программирование-(2801)Производство-(97182)Промышленность-(8706)Психология-(18388)Религия-(3217)Связь-(10668)Сельское хозяйство-(299)Социология-(6455)Спорт-(42831)Строительство-(4793)Торговля-(5050)Транспорт-(2929)Туризм-(1568)Физика-(3942)Философия-(17015)Финансы-(26596)Химия-(22929)Экология-(12095)Экономика-(9961)Электроника-(8441)Электротехника-(4623)Энергетика-(12629)Юриспруденция-(1492)Ядерная техника-(1748)

Определение необходимого параметра тушения пожара




 

При радиусе пожара равной или меньше глубины тушения стволами тушение осуществляется по площади пожара, при радиусе больше глубины тушения – по площади тушения (Sтуш), периметру или фронту пожара.

Глубина тушения hт для ручных стволов принимается 5 м, для лафетных 10 м.

При сложных формах площади пожара, площади тушения пожара проводятся к расчетным формам (круг, прямоугольник и т.п.)

Площадь тушения принимают равной разности общей площади пожара и площади, которая в данный момент водяными струями не обрабатывается.

 

Рис. 3. Схемы площади тушения пожара при круговой и угловой формах его развития.

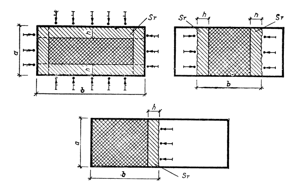
Рис. 4. Схемы площади тушения пожара при прямоугольной форме его развития.

 

Таблица 23

Формулы для определения площади тушения пожара в зависимости от формы его развития

Форма площади пожара Значение угла, град Площадь тушения при расстановке сил и средств
по фронту по периметру
Круговая   При R>h S т = p h (2R - h) При R>h S т = p h (2R - h)
Угловая   При R>h S т =0,25ph (2R - h) При R>3h S т =3,57h(R - h)
      При R>h S т =0,5p h (2R - h) При R>2h S т =3,57 h (1,4 R - h)
      При R>h S т =0,75ph(2R -h) При R>2h S т =3,57 h (1,8 R - h)
Прямо-угольная   При b>nh S т = nah При a >2 h S т =2 h (a + b -2 h)

При объемном тушении рассчитывается объем помещений (сооружений) для тушения.

 

 




Поделиться с друзьями:


Дата добавления: 2015-06-27; Просмотров: 936; Нарушение авторских прав?; Мы поможем в написании вашей работы!


Нам важно ваше мнение! Был ли полезен опубликованный материал? Да | Нет



studopedia.su - Студопедия (2013 - 2025) год. Все материалы представленные на сайте исключительно с целью ознакомления читателями и не преследуют коммерческих целей или нарушение авторских прав! Последнее добавление




Генерация страницы за: 0.011 сек.