Студопедия

КАТЕГОРИИ:


Архитектура-(3434)Астрономия-(809)Биология-(7483)Биотехнологии-(1457)Военное дело-(14632)Высокие технологии-(1363)География-(913)Геология-(1438)Государство-(451)Демография-(1065)Дом-(47672)Журналистика и СМИ-(912)Изобретательство-(14524)Иностранные языки-(4268)Информатика-(17799)Искусство-(1338)История-(13644)Компьютеры-(11121)Косметика-(55)Кулинария-(373)Культура-(8427)Лингвистика-(374)Литература-(1642)Маркетинг-(23702)Математика-(16968)Машиностроение-(1700)Медицина-(12668)Менеджмент-(24684)Механика-(15423)Науковедение-(506)Образование-(11852)Охрана труда-(3308)Педагогика-(5571)Полиграфия-(1312)Политика-(7869)Право-(5454)Приборостроение-(1369)Программирование-(2801)Производство-(97182)Промышленность-(8706)Психология-(18388)Религия-(3217)Связь-(10668)Сельское хозяйство-(299)Социология-(6455)Спорт-(42831)Строительство-(4793)Торговля-(5050)Транспорт-(2929)Туризм-(1568)Физика-(3942)Философия-(17015)Финансы-(26596)Химия-(22929)Экология-(12095)Экономика-(9961)Электроника-(8441)Электротехника-(4623)Энергетика-(12629)Юриспруденция-(1492)Ядерная техника-(1748)

Динамические насосы




Классификация насосов и их основные характеристики.

Насосы.

Вскрытие и чистка фильтров на приеме насосов.

Работы необходимо выполнять в следующей последовательности:

3.1. Убедитесь, что насос остановлен и исключена возможность его самозапуска;

3.2. Отсеките фильтр от технологической схемы, перекрыв задвижки до и после него;

3.3. Открыв дренажную задвижку, стравите давление в фильтре, падение давления контролируйте по манометру;

3.4. Убедившись, что давление в фильтре стравлено до атмосферного, ослабьте крепление фланцевого соединения крышки фильтра с помощью гаечных ключей. Очередность ослабления шпилек определяется по схеме «крест-накрест» рис 4.

3.5. Полностью освободив фланцевое соединение, снимите крышку фильтра.

3.6. Очистите полость фильтра и сетку от механических примесей и грязи, при необходимости промойте его.

3.7. Сборку произведите в обратной последовательности.

 

 

Насосами называются гидравлические машины, в которых энергия двигателя передается перемещаемой жидкости вследствие повышения ее гидродинамического напора (давления).

 

 

Различают насосы двух основных типов: динамические и объемные.

В динамических насосах жидкость перемещается при воздействии сил на незамкнутый объем жидкости, который непрерывно сообщается со входом в насос и выходом из него.

В объемных насосах жидкость перемещается (вытесняется) при периодическом изменении замкнутого объема жидкости, который периодически сообщается со входом и выходом из него.

Динамические насосы по виду сил, действующих на жидкость, подразделяются на лопастные и насосы трения.

К лопастным относятся насосы, в которых энергия передается жидкости при обтекании лопастей вращающегося рабочего колеса (или нескольких колес) насоса. Лопастные насосы, в свою очередь, делятся на центробежные и осевые, причем в центробежных насосах жидкость движется через рабочее колесо от его центра к периферии, а в осевых - в направлении оси колеса.

Насосы трения представляют собой насосы, в которых жидкость перемещается преимущественно под воздействием сил трения. К ним относятся в частности вихревые и струйные насосы.

Объемные насосы это такие, в которых жидкость, вытесняется из замкнутого пространства телом, движущимся возвратно-поступательно (поршневые, плунжерные, диафрагмовые насосы) или имеющим вращательные движения (шестеренные, пластинчатые, винтовые насосы).

Основные параметры насосов. Основными параметрами насоса любого типа являются производительность, напор и мощность. Производительность, или подача, (м3/сек) определяется объемом жидкости, подаваемой насосом в нагнетательный трубопровод в единицу времени. Напор Н (м) характеризует удельную энергию, которая сообщается насосом единице веса перекачиваемой жидкости. Этот параметр показывает, насколько возрастает энергия жидкости при прохождении ее через насос и определяется с помощью уравнения Бернулли. Напор можно представить как высоту, на которую может быть поднят 1 кг перекачиваемой жидкости за счет энергии, сообщаемой ей насосом. Поэтому напор не зависит от плотности перекачиваемой жидкости. Полезная мощность Nп, затрачиваемая насосом на сообщение жидкости энергии, равна произведению удельной энергии Н на весовой расход жидкости:

(7.1)

Мощность на валу Nв больше полезной мощности в связи с потерями энергии в насосе, которые учитываются коэффициентом полезного действия (к.п.д.) насоса н:

(7.2)

Коэффициент полезного действия характеризует совершенство конструкции и экономичность эксплуатации насоса. Величина отражает относительные потери мощности в самом насосе и выражается произведением

(7.3)

В выражение (7.3) входят величины: - коэффициент подачи, или объемный к.п.д., представляющий собой отношение действительной производительности насоса к теоретической (учитывает потери производительности при утечках жидкости через зазоры и сальники насоса, а также вследствие неодновременного перекрытия клапанов и выделении воздуха из перекачиваемой жидкости при давлении ниже атмосферного во время всасывания); - гидравлический к.п.д. - отношение действительного напора насоса к теоретическому (учитывает потери напора при движении жидкости через насос); - механический к.п.д., характеризующий потери мощности на механическое трение в насосе (в подшипниках, сальниках и т.д.).

Значение зависит от конструкции и степени износа насоса и в среднем составляет: для центробежных насосов 0,6  0,7; для поршневых насосов 0,8  0,9; для совершенных центробежных насосов большой производительности 0,93  0,95.

 

 

Центробежные насосы относятся к динамическим насосам, в них всасывание и нагнетание жидкости происходит равномерно и непрерывно под действием центробежной силы, возникающей при вращении рабочего колеса с лопатками, заключенного в спиралеобразном корпусе.

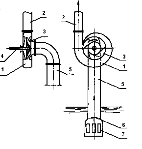
В одноступенчатом центробежном насосе (рис.7.2) жидкость из всасывающего трубопровода 5 поступает вдоль оси рабочего колеса 3 в корпус 1 насоса и, попадая на лопатки, приобретает вращательное движение.

Центробежная сила отбрасывает жидкость в спиралеобразный канал переменного сечения между корпусом и рабочим колесом, в котором скорость жидкости уменьшается до значения, равного скорости в нагнетательном трубопроводе 2. При этом, как следует из уравнения Бернулли, происходит преобразование кинетической энергии потока жидкости (динамического напора) в статический напор, что обеспечивает повышение давления жидкости. На входе в рабочее колесо создается пониженное давление, и жидкость из приемной емкости непрерывно поступает в насос. Давление, развиваемое центробежным насосом, зависит от вращения рабочего колеса. Вследствие значительных зазоров между колесом и корпусом насоса разрежение, возникающее при вращении колеса, недостаточно для подъема жидкости по всасывающему трубопроводу, если он и корпус насоса не залиты жидкостью. Поэтому перед пуском центробежный насос заливают перекачиваемой жидкостью. Чтобы жидкость не выливалась из насоса и всасывающего трубопровода при заливке насоса или при кратковременных остановках его, на конце всасывающей трубы, снабженной фильтром 7, погруженном в жидкость, устанавливают обратный клапан 6. Напор одноступенчатых центробежных насосов (с одним рабочим колесом) ограничен. Для создания более высоких напоров применяют многоступенчатые насосы, имеющие несколько рабочих колес в общем корпусе, расположенных последовательно на одном валу. Жидкость, выходящая из первого колеса, поступает по специальному отводному каналу в корпусе на второе колесо, где ей сообщается дополнительная энергия, из второго колеса через отводной канал в третье колесо и т.д. Таким образом, ориентировочно (без учета потерь) можно считать, что напор многоступенчатого насоса равен напору одного колеса, умноженному на число колес. Число рабочих колес в многоступенчатом насосе обычно не превышает пяти.

 

Рис.7.2. Схема центробежного насоса:

1 – корпус; 2 – нагнетательный трубопровод; 3 – рабочее колесо; 4 – вал; 5 – всасывающий трубопровод; 6 – обратный клапан; 7 – фильтр.

 

Характеристики насосов. Графические зависимости напора Н, мощности на валу Nв и к.п.д. насоса н называются характеристиками насоса (рис.7.6). Эти зависимости получают при испытании центробежных насосов, изменяя степень открытия задвижки на нагнетательном трубопроводе; они приводятся в каталогах на насосы. Из рисунка 7.6 следует, что с увеличением производительности при n = const напор насоса уменьшается, потребляемая мощность возрастает, а к.п.д. проходит через максимум.

 

Рис.7.6. Характеристика центробежного насоса

 

Небольшой начальный участок H = f( ), где напор слегка возрастает с увеличением производительности, соответствует неустойчивой работе насоса. Насос потребляет наименьшую мощность при закрытой напорной задвижке (при = 0). По этому пуск центробежных насосов во избежании перегрузки двигателя производят именно при закрытой задвижке. Наиболее благоприятный режим эксплуатации центробежного насоса при данном числе оборотов соответствует максимуму на кривой н= f( ).

Для выбора рабочего режима насоса пользуются универсальными характеристиками, на которых в графической форме представлена связь между напором, производительностью, числом оборотов и к.п.д. Для построения универсальных характеристик требуются испытания насоса при разных числах оборотов и построение серии главных характеристик при n = const, а также кривых н= f( ). Совокупность серии главных характеристик и линий равных к.п.д. и составляет универсальную характеристику центробежного насоса (см. рис.7.7). Линия а - а соответствует максимальным значениям к.п.д. при данном числе оборотов рабочего колеса.

Рис.7.7. Универсальная характеристика центробежного насоса.

 

Работа насосов на сеть. При выборе насоса необходимо учитывать характеристику сети, т.е. трубопровода и аппаратов, через которые транспортируется жидкость.

Характеристика сети выражает зависимость между объемным расходом жидкости и потребным напором Нп, необходимым для перемещения жидкости по данной сети. Напор Нп может быть определен как сумма геометрической высоты подачи Нг и потерь напора hп. Потери напора определяют по зависимости

(7.27)

где k - коэффициент производительности, который учитывает как полное гидравлическое сопротивление трубопровода, так и аппаратов, с которыми соединен трубопровод.

Допустим, что потери напора рассчитываются только для трубопровода. В этом случае они будут:

Площадь поперечного сечения трубопровода равна S, тогда при известной средней скорости жидкости в трубопроводе , ее расход будет = S. Заменяя в уравнении для hп скорость через расход, получим зависимость для определения k, т.е.

Характеристика сети выражается зависимостью, представляющей собой уравнение параболы:

(7.28)

Совмещение характеристик сети и насоса показано на рис.7.8. Точка А пересечения этих характеристик называется рабочей точкой. Она отвечает наибольшей производительности насоса при его работе на данную сеть. Насос должен быть выбран так, чтобы рабочая точка соответствовала требуемым производительности и напору в области наибольших к.п.д

Струйные насосы. Струйные насосы развивают низкий напор и применяются для нагнетания жидкостей (инжекторы) и всасывания их (эжекторы). Схема струйного насоса представлена на рис.7.12.

Рис.7.12. Схема струйного насоса:

1 - сопло; 2 - камера смешения; 3 - конфузор; 4 - горловина; 5 - диффузор; 6 - всасывающий патрубок; - расход рабочей (инжектирующей) жидкости - расход засасываемой (инжектируемой) жидкости; - суммарный расход жидкой смеси, уходящей из насоса.

 

Принцип действия струйных насосов основан на использовании для отсасывания и подачи жидкости кинетической энергии рабочей жидкости, которая с большой скоростью из сопла (1) поступает в конфузор (3) и создает разрежение в камере смешения (2). За счет разрежения в камеру смешения поступает засасываемая жидкость и, в результате трения, смешивается в конфузоре с рабочей жидкостью. Смесь жидкостей движется по конфузору (3) с увеличивающейся скоростью, при этом, в соответствии с уравнением Бернулли, уменьшается ее статическое давление. При движении жидкости в диффузоре (5), скорость жидкости уменьшается, но увеличивается ее давление, жидкость поступает в нагнетательный трубопровод. В качестве рабочей жидкости в струйных насосах может использоваться газ или пар.

Достоинством струйных насосов является простота их конструкции, а их недостаток - низкий коэффициент полезного действия (0,1 - 0,25).

Газлифты (эрлифты). Газлифты - это газовые (чаще воздушные) подъемники, действующие при помощи сжатого газа. Действие газлифта основано на создании разности плотностей жидкости и газожидкостной системы в двух сообщающихся сосудах. Схема газлифта показана на рис.7.13.

Рис.7.13. Схема газлифта:

1 - труба для подачи сжатого газ; 2 - распределитель газа; 3 - подъемная труба; 4 - отбойник (для отделения газа от жидкости); 5 - сборник жидкости; h1 -высота столба поднимаемой жидкости; h2 - высота барботажного слоя над уровнем чистой жидкости; H = h1 + h2 - высота подъемной трубы.

 

Условие равновесия сообщающихся сосудов для данного случая будет

Из уравнения равновесия можно определить высоту подъема жидкости

Здесь rж - плотность чистой жидкости, rсм - плотность газожидкостной системы в подъемной трубе. Простота устройства - достоинство газлифтов, а недостаток - низкий к.п.д.(20 - 30%).

 




Поделиться с друзьями:


Дата добавления: 2015-07-02; Просмотров: 3924; Нарушение авторских прав?; Мы поможем в написании вашей работы!


Нам важно ваше мнение! Был ли полезен опубликованный материал? Да | Нет



studopedia.su - Студопедия (2013 - 2026) год. Все материалы представленные на сайте исключительно с целью ознакомления читателями и не преследуют коммерческих целей или нарушение авторских прав! Последнее добавление




Генерация страницы за: 0.011 сек.