Студопедия

КАТЕГОРИИ:


Архитектура-(3434)Астрономия-(809)Биология-(7483)Биотехнологии-(1457)Военное дело-(14632)Высокие технологии-(1363)География-(913)Геология-(1438)Государство-(451)Демография-(1065)Дом-(47672)Журналистика и СМИ-(912)Изобретательство-(14524)Иностранные языки-(4268)Информатика-(17799)Искусство-(1338)История-(13644)Компьютеры-(11121)Косметика-(55)Кулинария-(373)Культура-(8427)Лингвистика-(374)Литература-(1642)Маркетинг-(23702)Математика-(16968)Машиностроение-(1700)Медицина-(12668)Менеджмент-(24684)Механика-(15423)Науковедение-(506)Образование-(11852)Охрана труда-(3308)Педагогика-(5571)Полиграфия-(1312)Политика-(7869)Право-(5454)Приборостроение-(1369)Программирование-(2801)Производство-(97182)Промышленность-(8706)Психология-(18388)Религия-(3217)Связь-(10668)Сельское хозяйство-(299)Социология-(6455)Спорт-(42831)Строительство-(4793)Торговля-(5050)Транспорт-(2929)Туризм-(1568)Физика-(3942)Философия-(17015)Финансы-(26596)Химия-(22929)Экология-(12095)Экономика-(9961)Электроника-(8441)Электротехника-(4623)Энергетика-(12629)Юриспруденция-(1492)Ядерная техника-(1748)

Поршневые насосы. Правила обслуживания насосов




Правила обслуживания насосов

Лабораторная работа

И их определение

Расчетные элементы центробежных насосов

 

Основными расчетными элементами центробежных насосов, характеризующими их конструкцию, являются следующие: коэффициент быстроходности, входной и выходной диаметры рабочего колеса, величина раскрытия корпуса, количество лопаток рабочего колеса.

Коэффициент быстроходности насоса является обобщенным критерием оценки различных рабочих колес насосов. Для уменьшения осевых сил, действующих на рабочее колесо, в диске рабочего колеса высверливаются отверстия, через которые жидкость перетекает во всасывающую полость. Естественно, при этом КПД насоса снижается. При двух и более рабочих колесах в насосе, они могут размещаться с противоположными направлениями входных отверстий. Это компенсирует или снижает действие осевых сил. Воздействие радиальных сил на рабочее колесо компенсируется наличием двух полуулиток корпуса насоса. В насосах с одной улиткой действие радиальных сил воспринимается валом и подшипниками насоса.

 

Струйные насосы. Параметры струйного насоса зависят от рода и температуры рабочей жидкости, конструктивных параметров, чистоты поверхности сопла и диффузора и в большей степени от соотношения площадей 7w41 и 7w43. Уменьшение коэффициента площадей сечений приводит к росту коэффициента подпора при одновременном уменьшении коэффициента эжекции. Следовательно, чем меньше разница между диаметрами сопла и горловины диффузора, тем на большую высоту может быть поднята эжектируемая жидкость, но ее количество при этом уменьшается.

Наоборот, увеличение коэффициента площадей сечений приводит к росту эжектируемой жидкости, но уменьшает высоту ее подъема.

Значение коэффициента полезного действия струйных насосов находится в пределах 0,15 - 0,25.

Расчет струйных насосов при заданных значениях 43, 41, Н 43, Н 41 сводится к определению оптимальных диаметров сопла диффузора, диаметра и длины камеры смешения.

Рабочей средой для струйных насосов может быть вода, пар или газ. В зависимости от этого струйные насосы называются гидроэлеваторами - если рабочей средой является вода, инжекторами - при использовании в качестве рабочей среды пара и эжекторами, если в качестве рабочей среды используется газ.

В пожарной технике находят применение главным образом гидроэлеваторы и эжекторы, т.е. водоструйные и газоструйные насосы.

 

 

 

Выполнила:

студентка гр. 3-3*

Соснина А. В.

Проверил: Орлов Г. Г.

 

 

Иваново 2011

Бывают горизонтальные и вертикальные (расположение поршня), простого и многократного действия. По скорости вращения вала кривошипа подразделяются на тихоходные (40 – 60 об/мин), нормальные (60 – 120 об/мин) и быстроходные (120 – 180 об/мин).

 

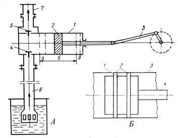
Горизонтальный поршневой насос простого действия (А): 1 – цилиндр; 2 – поршень (S – ход поршня); 3 – кривошипно-шатунный механизм; 4 и 5 – соответственно всасывающий и нагнетательный клапаны; 6 и 7 – соответственно всасывающий и нагнетательный трубопроводы; а и б – крайние положения поршня   Устройство поршня (Б): 1 – поршень; 2 – сменные уплотняющие кольца; 3 – цилиндр; 4 – шток Достоинства: высокий КПД, возможность подачи незначительных объемов жидкостей, в том числе высоковязких, под любым заданным давлением. Недостатки: неравномерность подачи, легко изнашивающиеся клапаны, сложность соединения с двигателем, тихоходность, большие размеры и масса, невозможность перекачивания химически агрессивных и жидкостей со значительным количеством механических примесей; у горизонтального поршневого насоса по сравнению с вертикальным вследствие неравномерного давления поршня на цилиндр он быстрее изнашивается. Целесообразно применять при небольших подачах и высоких давлениях для перекачивания высоковязких, огне- и взрывоопасных жидкостей, а также при дозировании жидких сред.
Характеристика поршневого насоса: 1 – теоретическая; 2 – действительная   Теоретическая производительность поршневого насоса: QT = FSn/60, где F – площадь поперечного сечения поршня; S – ход поршня; n – число оборотов вала, мин-1. Действительная производительность поршневого насоса: QД = QT hV = FSnhV/60, где hV – объемный КПД насоса (достигает 0,95 – 0,99)   Производительность поршневого насоса не зависит от напора.




Поделиться с друзьями:


Дата добавления: 2015-07-02; Просмотров: 475; Нарушение авторских прав?; Мы поможем в написании вашей работы!


Нам важно ваше мнение! Был ли полезен опубликованный материал? Да | Нет



studopedia.su - Студопедия (2013 - 2026) год. Все материалы представленные на сайте исключительно с целью ознакомления читателями и не преследуют коммерческих целей или нарушение авторских прав! Последнее добавление




Генерация страницы за: 0.009 сек.