Студопедия

КАТЕГОРИИ:


Архитектура-(3434)Астрономия-(809)Биология-(7483)Биотехнологии-(1457)Военное дело-(14632)Высокие технологии-(1363)География-(913)Геология-(1438)Государство-(451)Демография-(1065)Дом-(47672)Журналистика и СМИ-(912)Изобретательство-(14524)Иностранные языки-(4268)Информатика-(17799)Искусство-(1338)История-(13644)Компьютеры-(11121)Косметика-(55)Кулинария-(373)Культура-(8427)Лингвистика-(374)Литература-(1642)Маркетинг-(23702)Математика-(16968)Машиностроение-(1700)Медицина-(12668)Менеджмент-(24684)Механика-(15423)Науковедение-(506)Образование-(11852)Охрана труда-(3308)Педагогика-(5571)Полиграфия-(1312)Политика-(7869)Право-(5454)Приборостроение-(1369)Программирование-(2801)Производство-(97182)Промышленность-(8706)Психология-(18388)Религия-(3217)Связь-(10668)Сельское хозяйство-(299)Социология-(6455)Спорт-(42831)Строительство-(4793)Торговля-(5050)Транспорт-(2929)Туризм-(1568)Физика-(3942)Философия-(17015)Финансы-(26596)Химия-(22929)Экология-(12095)Экономика-(9961)Электроника-(8441)Электротехника-(4623)Энергетика-(12629)Юриспруденция-(1492)Ядерная техника-(1748)

Печи пламенные кузнечные




Пламенные и электрические

 

Печи камерные с выдвежным подом с заслонкой (рис. 5.3) используют для нагрева заготовок под ковку. Загрузка на под и снятие заготовок с пода осуществляются с помощью средств цеховой механизации (обычно мостовыми кранами). Печи устанавливают на специальный фундамент, являющийся общим для печи и для рельсовых путей выдвижного пода (внутри печи и вне ее). В фундаменте предусматривают приямки для размещения механизмов выдвижения пода и подъема заслонки. Для того чтобы под можно было выкатить на значительное расстояние, например в соседний пролет, применяют механизм выкатки с грузовой цепью в качестве тягового органа.

 

 

Печи этого типа применяют для нагрева однотипных заготовок под ковку или штамповку. Эти печи работают на природном газе. Продукты сгорания отводятся либо вверх под зонт и затем в вытяжную трубу.

Нагреваемые заготовки проталкивают по поду специальным толкателем. Проталкивание заготовок может быть продольным или поперечным. При относительно большой длине печи часть пода может быть выполнена с уклоном.

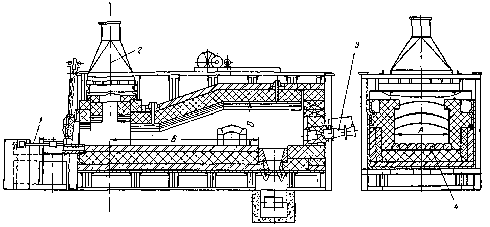
Печи с желобчатым подом (рис. 5.4) можно использовать при минимальном диаметре заготовок 40 мм. Отношение длины заготовки к диаметру не должно превышать 5. Наибольшая длина заготовок, которые можно проталкивать по желобчатому поду, не должна превышать 500 мм. Торцы заготовок должны быть правильной формы и без заусенцев. Механизмы печи состоят из механизированного бункера – питателя, шагающего пластинчатого конвейера и многоштангового толкателя; работа этих механизмов автоматизирована.

Заготовки, беспорядочно уложенные в бункере, выдаются периодически в ориентированном положении на наклонный лоток автоматического питателя, которым сбрасываются по одной в карманы пластинчатого конвейера. Последний совершает шаговое движение, при котором карман с заготовкой становится против очередного ручья в поду печи. Затем включается многоштанговый толкатель, и весь состав заготовок в очередном ручье проталкивается торец в торец, а последняя нагретая заготовка ряда выдается из печи через отверстие в полу. Цикл повторяется в заданном темпе. После израсходования заготовок на накопительном лотке питателя автоматически включается механизированный бункер, пополняющий запас заготовок. Все механизмы работают от объединенного гидропривода.


 
 
А


А-А

А

 

    Рис. 5.3. Печь нагревательная камерная тупиковая с выдвижным подом НДО: 1 – рельсовый путь; 2 – выдвижной под; 3 – заслонка; 4 – горелка; 5 – рекуператор; А, В, Б – рабочее пространство

 


 

 
 
А-А

 


А
А

 


Рис. 5.4. Печь нагревательная кузнечная с желобчатым подом с выдачей заготовок НУОЖ: 1 – загрузочный толкатель;

2 – вытяжной зонт; 3 – горелка; 4 – желобчатый под; А, В, Б – рабочее пространство

 

 





Поделиться с друзьями:


Дата добавления: 2015-06-27; Просмотров: 866; Нарушение авторских прав?; Мы поможем в написании вашей работы!


Нам важно ваше мнение! Был ли полезен опубликованный материал? Да | Нет



studopedia.su - Студопедия (2013 - 2026) год. Все материалы представленные на сайте исключительно с целью ознакомления читателями и не преследуют коммерческих целей или нарушение авторских прав! Последнее добавление




Генерация страницы за: 0.011 сек.