Студопедия

КАТЕГОРИИ:


Архитектура-(3434)Астрономия-(809)Биология-(7483)Биотехнологии-(1457)Военное дело-(14632)Высокие технологии-(1363)География-(913)Геология-(1438)Государство-(451)Демография-(1065)Дом-(47672)Журналистика и СМИ-(912)Изобретательство-(14524)Иностранные языки-(4268)Информатика-(17799)Искусство-(1338)История-(13644)Компьютеры-(11121)Косметика-(55)Кулинария-(373)Культура-(8427)Лингвистика-(374)Литература-(1642)Маркетинг-(23702)Математика-(16968)Машиностроение-(1700)Медицина-(12668)Менеджмент-(24684)Механика-(15423)Науковедение-(506)Образование-(11852)Охрана труда-(3308)Педагогика-(5571)Полиграфия-(1312)Политика-(7869)Право-(5454)Приборостроение-(1369)Программирование-(2801)Производство-(97182)Промышленность-(8706)Психология-(18388)Религия-(3217)Связь-(10668)Сельское хозяйство-(299)Социология-(6455)Спорт-(42831)Строительство-(4793)Торговля-(5050)Транспорт-(2929)Туризм-(1568)Физика-(3942)Философия-(17015)Финансы-(26596)Химия-(22929)Экология-(12095)Экономика-(9961)Электроника-(8441)Электротехника-(4623)Энергетика-(12629)Юриспруденция-(1492)Ядерная техника-(1748)

Прочностной расчет элементов пильного аппарата




 

Проверка пильной цепи на прочность заключается в опреде­лении напряжений в соединительных элементах при максимальных нагрузках, возникающих в процессе пиления.

Максимальное усилие, растягивающее цепь в процессе пиле­ния

, (32)

где Z - максимальное тяговое усилие на ведущей звездочке, Н; РМ - сила монтажного натяжения цепи, Н; РЦ - нагрузка от действия центробежных сил, Н; РД - динамическая нагрузка, Н.

При известной мощности приводного двигателя максимальное тяговое усилие на ведущей звездочке

. (33)

Нагрузка от центробежных сил

, (34)

где qЦ - вес одного погонного метра цепи, Н/м; g – ускорение свободного падения (g = 9,81 м/с); RO – радиус начальной окружности звёздочек, м.

Динамическая нагрузка

, (35)

где nЗВ – частота вращения ведущей звёздочки, об/мин, которая при известной скорости резания определяется из выражения .

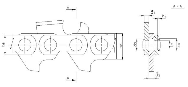
Для определения напряжений в элементах пильной цепи составляется расчетная схема нагружения (рис.6).

Рис. 6. Основные размеры пильной цепи

 

Основные размеры элементов цепей приведены в табл. 5 (см. приложение). Величина допустимых напряжений зависит от марки стали, из ко­торой изготовлены элементы цепи; их основные механические свойства приведены в табл. 6 (см. приложение).

Боковые и средние соединительные звенья цепи проверяются на разрыв в наиболее опасном сечении.

Напряжение в боковом соединительном звене

(36)

где КЗ - коэффициент запаса прочности (КЗ = 3...4); hБ – высота боковых соединительных звеньев в опасном сечении, мм; δ1 - толщина боковых соединительных звеньев, мм; d1, d2 – диаметры заклепок, и зенковки, мм; hЗ - глубина зенковки, мм.

Напряжение в среднем соединительном звене

(37)

где hC - высота среднего соединительного звена в опасном сечении, мм; dЗ - диаметр шарнира, мм; δ2 - толщина среднего соединительного звена, мм.

Боковые и средние соединительные звенья цепей для ручных мотоинструментов изготавливаются из стали 7ХНМ, а шарниры (заклепки) – из сталей 65Г или 15Х. На валочных машинах при­меняют цепи со звеньями, изготовленными из стали 9ХФ, а шар­ниры изготавливаются из стали 15Х.

Шарниры цепей проверяются на срез, смятие и по контактным напряжениям.

Напряжение среза в шарнире

(38)

Напряжение смятия в шарнире

(39)

Контактное напряжение в шарнире

(40)

Пильные шины ручных мотоинструментов изготавливаются из стали 45ХНМФА, а валочных машин - из стали 30ХГСА. Для расчета пильной шины на прочность необходимо рас­смотреть различные варианты схем нагружения пильной шины в процессе работы. В зависимости от выполняемой оперений на шину действуют силы от веса пилы и силы, прикладываемые ра­бочим. Наиболее тяжелыми случаями нагружения пильной шины являются такие, когда с помощью шины рабочий скалывает кусок подпила или пытается вытащить зажатую в пропиле шину (рис.7).

При скалывании куска подпила (рис.7, б, г) рабочий прикладывает к рукояткам пилы силы, которые передаются на шину как крутящий момент. Возникающие при этом в материале шика на­пряжения не должны превышать допустимых значений, т.е.

(41)

где МК - крутящий момент, прикладываемый к шине, Н*мм; WK - момент сопротивления сечения при кручении, мм3.

 

 

Рис. 7. Силы, действующие на пильную шину: а - при зажиме в пропиле дерева; б, г - при скалы­вании куска подпила; б - при зажиме в пропиле дерева; в - при освобождении шины из пропила

 

Крутящий момент в данном случае составляет

(42)

где РР - сила, прикладываемая к рукояткам пилы рабочим (РР = 150...200 Н); АР - расстояние между рукоятками, мм. Для сечения прямоугольной формы момент сопротивления селения при кручении можно определить по формуле

(43)

где λ - отношение ширины шины к ее толщине; hШ – толщина пильной шины, мм.

При зажиме пильного аппарата в пропиле дерева (рис. 7, а) рабочий может отпустить рукоятки пилы, и под действием силы веса пилы шина будет нагружена изгибающим моментом. При этом шина должна соответствовать определённым требованиям жёсткости, т.е. при изгибе шины стрела про­гиба или радиус кривизны шины RШ не должны превышать опре­деленных значений. Радиус кривизны пильной шины должен быть меньше радиуса допустимого прогиба пильной цепи в плоскости соединительных звеньев. Для того, чтобы не было защемления осей шарниров цепи, должно выполняться условие:

Допустимый радиус прогиба пильной цепи составляет

(44)

где δmin - допустимый зазор между заклепкой (осью) и средним звеном цепи (δmin = 0,015 мм), мм.

Изгибающий момент, действующий на шину, равен

(45)

где GП - сила веса пилы, Н; А – расстояние от центра тяжести пилы до сменного на­правляющего элемента ведомой звездочки, мм.

Радиус изгиба пильной шины

(46)

где Е - модуль упругости материала шины (Е = 2,15*105); JШ – момент инерции шины в опасном сечении, мм4.

Момент инерции шины

(47)

где ВШ – ширина пильной шины, мм.

При извлечении зажатой шины из пропила рабочий прикладывает силы, изгибающие шину в её плоскости. Проверка проч­ности шины ведется по допускаемым напряжениям на изгиб

(48)

где М - изгибающий момент, Н*мм; WИ - момент сопротивления сечения при изгибе (в опасном сечении), мм3.

Изгибающий момент

(49)

где РР - сила, приложенная рабочим к рукояткам (РР = 500 Н).

При пилении пильной шиной "на таран" рабочий приклады­вает к рукояткам силы, направленные вдоль пильной шины. Проверка устойчивости шины проводится по формуле Эйлера по ве­личине допустимой критической силы.

Критическая сила при продольном изгибе

(50)

где Jmin - наименьший момент инерции поперечного сечения ши­ны, мм4 (формула 47); λ1 - коэффициент, зависящий от способа закрепления кон­цов шины (λ1 = 0,7); lP - рабочая длина шины, мм; PP - максимальная сила рабочего, направленная вдоль пильной шины, Н.

Если в результате поверочного расчета пильная шина не отвечает требованиям прочности, то необходимо изменить раз­меры пильной шины.

 

 

2. ТЕХНОЛОГИЯ РАЗРАБОТКИ ЛЕСОСЕК БЕНЗИНОМОТОРНЫМИ ПИЛАМИ

2.1 Способы разработки пасек и делянок при валке деревьев

бензиномоторными пилами

Порядок разработки пасек и направление валки деревьев относительно волоков может быть различен и зависит от многих факторов. Основными из них являются: выбранная система машин для разработки лесосеки, состав и последовательность выполняемых операций, почвенно-грунтовые условия, наличие подроста, состав и полнота лесонасаждения. На рис. 3.4 приведены схемы разработки пасек с применением бензиномоторных пил и трелевочных тракторов с канатно-чокерной оснасткой или с манипулятором.


а б в г


д е ж з

Рис. 8 Схемы разработки пасек при помощи бензопил

 

На рис. 8, а представлен широко распространенный метод узких пасек, применяемый при наличии крупного подроста. Ширина пасеки при этом методе равняется примерно средней высоте древостоя и при ширине волока 5 м составляет 25-30 м. Деревья валятся вершиной на волок и трелевка осуществляется вершиной вперед. При трелевке хлыстов обрезка сучьев осуществляется на волоке, а порубочные остатки служат для его укрепления. На следующей позиции б представлена схема разработки пасеки методом узких лент. Размеры пасеки также составляют 25-30 м и подобная схема тоже служит для сохранения подроста. Преимуществами данной схемы перед предыдущей являются более благоприятные условия для работы рабочих и уменьшение вероятности завалов деревьев при валке.

На рис. 8, в представлена схема разработки пасеки в три заруба. Расстояние в 50 м между зарубами обеспечивает безопасность работы для рабочих. Ширина пасеки составляет на 10 м меньше двойной высоты древостоя. Данный способ применяется в хвойных лесах Восточной Сибири.

На следующем рис. 8, г приведена схема разработки пасеки при использовании на трелевке трактора с манипулятором. Трелевка производится вершиной вперед, а обрезка сучьев на пасечном волоке. Ширина лент, на которые разбивается пасека, составляет 7-8 м, что позволяет практически не съезжать трактору с волока при наборе пачки.

На следующих четырех схемах представлены варианты разработки пасек при трелевке комлями вперед. На рис. 8, д представлена схема валки деревьев на подкладное дерево. Данная схема позволяет сохранить значительное количество подроста. Ширина пасеки составляет 35-40 м. Недостатком этого способа является то, что разрабатываемая за один раз площадка, расположенная примерно под углом в 450 к волоку, не может обеспечить объем одной пачки деревьев для полной загрузки трелевочного трактора. Схемы е и ж не предусматривают сохранение подроста, кроме того, схема е предполагает сход трактора с волока и поэтому данная схема не рекомендуется для лесосек со слабыми грунтами или при глубоком снеге. Достоинствами схем является небольшие трудовые затраты на создание трелевочных волоков.

На последней схеме з представлен порядок валки деревьев при трелевке комлями вперед с использованием трактора с манипулятором. Ширина ленты для валки деревьев составляет четыре ширины ленты для набора пачки трактором. Длина ленты набора пачки должна быть равна или кратна длине пасеки или ширине делянки. Такая схема разработки пасеки также не рекомендуется для местности со слабыми грунтами или при глубоком снеге.

Разработка технологии проведения лесосечных работ на делянке включает в себя несколько составляющих, основными из которых являются: выбор схемы расположения волоков, выбор способа разработки пасек и установления порядка работы и передвижения мотористов и лесозаготовительной техники по территории делянки с учётом установленных размеров зон безопасности. Схема расположения волоков и способ разработки пасек выбираются в соответствии с представленными ранее рекомендациями.

На рис. 9. представлена технологическая схема разработки делянки при диагональном способе расположения трелёвочных волоков и применении метода узких пасек. Непосредственно на территории лесосеки выполняются три операции: валка деревьев, обрезка сучьев и трелёвка хлыстов за вершинки, причём последнее необходимо для сохранении подроста.

Последовательность при разработке делянки на рис. 9 принята следующая. Валка деревьев на делянке производится в два заруба, с правой и левой сторон, двумя вальщиками. Вальщик леса разрабатывает пасеки последовательно, вначале производя валку деревьев по одной стороне пасек его участка, а затем по другой. Во время работы вальщик движется со стороны погрузочного пункта в глубь леса, стремясь свалить деревья вершиной на волок под углом к оси волока около 300, что позволит вытаскивать стволы деревьев при сборе пачек без сильных разворотов. При удалении вальщика на расстояние более 50 м по длине пасеки или переходе его на другую пасеку мотористами производится обрезка сучьев и, по возможности, их укладка на трелёвочный волок. Последнее способствует сохранению почво-грунтов при проходе трактора по волокам во время трелёвки пачек хлыстов. Заканчивается процесс лесосечных работ на погрузочном пункте, где стрелёванные хлысты укладываются в штабеля и затем отгружаются в лесовозный транспорт.

 

 

 




Поделиться с друзьями:


Дата добавления: 2015-07-02; Просмотров: 486; Нарушение авторских прав?; Мы поможем в написании вашей работы!


Нам важно ваше мнение! Был ли полезен опубликованный материал? Да | Нет



studopedia.su - Студопедия (2013 - 2026) год. Все материалы представленные на сайте исключительно с целью ознакомления читателями и не преследуют коммерческих целей или нарушение авторских прав! Последнее добавление




Генерация страницы за: 0.012 сек.