Студопедия

КАТЕГОРИИ:


Архитектура-(3434)Астрономия-(809)Биология-(7483)Биотехнологии-(1457)Военное дело-(14632)Высокие технологии-(1363)География-(913)Геология-(1438)Государство-(451)Демография-(1065)Дом-(47672)Журналистика и СМИ-(912)Изобретательство-(14524)Иностранные языки-(4268)Информатика-(17799)Искусство-(1338)История-(13644)Компьютеры-(11121)Косметика-(55)Кулинария-(373)Культура-(8427)Лингвистика-(374)Литература-(1642)Маркетинг-(23702)Математика-(16968)Машиностроение-(1700)Медицина-(12668)Менеджмент-(24684)Механика-(15423)Науковедение-(506)Образование-(11852)Охрана труда-(3308)Педагогика-(5571)Полиграфия-(1312)Политика-(7869)Право-(5454)Приборостроение-(1369)Программирование-(2801)Производство-(97182)Промышленность-(8706)Психология-(18388)Религия-(3217)Связь-(10668)Сельское хозяйство-(299)Социология-(6455)Спорт-(42831)Строительство-(4793)Торговля-(5050)Транспорт-(2929)Туризм-(1568)Физика-(3942)Философия-(17015)Финансы-(26596)Химия-(22929)Экология-(12095)Экономика-(9961)Электроника-(8441)Электротехника-(4623)Энергетика-(12629)Юриспруденция-(1492)Ядерная техника-(1748)

Выбор муфты




В заданиях на курсовое проектирование предусматривается не проектирование муфт для соединения валов, а выбор муфты из числа стандартных конструкций с учетом особенностей эксплуатации прибора.

Типоразмер муфты выбирают по диаметру вала и величине расчетного крутящего момента на данном валу:

 

,

 

где k – коэффициент, учитывающий условия эксплуатации (k = 1,15…1,3);

T ном– номинальный крутящий момент, Н·м;

[ T ] – предельный крутящий момент, Н·м.

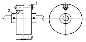
Если соосность валов в процессе монтажа и эксплуатации строго выдерживается (например, двигатель крепится к корпусу стаканом, имеющим центрирующие выступы), то допустимо устанавливать жесткие муфты. В этом случае выбираем муфту втулочную по ГОСТ 24246-96 [2, 3] (рис. 5.1).

 

 

Рис. 5.1. Конструкция втулочной муфты

 

Если отклонение от соосности соединения валов больше 0,1 мм (двигатель установлен на плите на лапах), то нужно устанавливать дисковые, плавающие или упругие муфты.

Эти муфты допускают у соединяемых валов небольшое отклонение от соосности или несовпадение геометрических осей, смещение и перекос их на некоторый угол.

Дисковые муфты или муфты с поводком характеризуются тем, что один из закрепляемых на концах осей дисков 1 и 2 или подобных им деталей (рис. 5.2) имеет на окружности штифт, палец или кулачок, а другой – соответствующее отверстие или прорезь, куда входит этот штифт или палец.

 

 

Рис. 5.2. Конструкция дисковой муфты

 

На рис. 5.3 изображена упругая четырехпальцевая муфта, имеющая среднюю часть, изготовленную из резины. Такое устройство муфты допускает некоторую несоосность и перекос соединяемых валов за счет эластичности средней части муфты.

 

Рис. 5.3. Муфта упругая четырехпальцевая

 

На рис. 5.4 показана плавающая муфта, состоящая из трех частей: двух одинаковых крайних 1 и 3 и средней части 2. Каждая из крайних частей муфты имеет прорезь, в которую входят соответствующие выступы прямоугольного сечения средней части муфты. Выступы расположены перпендикулярно друг к другу. Это позволяет допускать значительное несовпадение осей соединяемых муфтой валов.

 

Рис. 5.4. Муфта плавающая

 

Конкретные размеры выбранной по диаметру вала и величине расчетного крутящего момента муфты берут из справочной литературы [3, 9].

 





Поделиться с друзьями:


Дата добавления: 2015-06-27; Просмотров: 696; Нарушение авторских прав?; Мы поможем в написании вашей работы!


Нам важно ваше мнение! Был ли полезен опубликованный материал? Да | Нет



studopedia.su - Студопедия (2013 - 2026) год. Все материалы представленные на сайте исключительно с целью ознакомления читателями и не преследуют коммерческих целей или нарушение авторских прав! Последнее добавление




Генерация страницы за: 0.011 сек.