Студопедия

КАТЕГОРИИ:


Архитектура-(3434)Астрономия-(809)Биология-(7483)Биотехнологии-(1457)Военное дело-(14632)Высокие технологии-(1363)География-(913)Геология-(1438)Государство-(451)Демография-(1065)Дом-(47672)Журналистика и СМИ-(912)Изобретательство-(14524)Иностранные языки-(4268)Информатика-(17799)Искусство-(1338)История-(13644)Компьютеры-(11121)Косметика-(55)Кулинария-(373)Культура-(8427)Лингвистика-(374)Литература-(1642)Маркетинг-(23702)Математика-(16968)Машиностроение-(1700)Медицина-(12668)Менеджмент-(24684)Механика-(15423)Науковедение-(506)Образование-(11852)Охрана труда-(3308)Педагогика-(5571)Полиграфия-(1312)Политика-(7869)Право-(5454)Приборостроение-(1369)Программирование-(2801)Производство-(97182)Промышленность-(8706)Психология-(18388)Религия-(3217)Связь-(10668)Сельское хозяйство-(299)Социология-(6455)Спорт-(42831)Строительство-(4793)Торговля-(5050)Транспорт-(2929)Туризм-(1568)Физика-(3942)Философия-(17015)Финансы-(26596)Химия-(22929)Экология-(12095)Экономика-(9961)Электроника-(8441)Электротехника-(4623)Энергетика-(12629)Юриспруденция-(1492)Ядерная техника-(1748)

Гидравлические реле давления и времени




Реле давления применяется для последовательного включения или выключения отдельных исполнительных органов машины и для осуществления дистанционного управления. Реле давления может обеспечить контроль за давлением в гидросистеме с подачей электросигнала, свидетельствующего, например, о перегрузке системы.

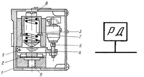
Реле давления Г62-21 (рис.7.26) состоит из корпуса 1, диафрагмы 2, пружины 3, рычага 4 с осью 5, винта 6, микропереключателя 7. Жидкость на контролируемой ветви гидросистемы подводится к отверстию 9. Если подведенное давление окажется выше установленного настройкой пружины 3, то диафрагма 2 деформируется и передает давление на рычаг 4, который при повороте вокруг оси 5 винтом 6 воздействует на микропереключатель 7. Регулировка реле давления осуществляется при помощи изменения сжатия пружины 3 винтом 8.

С момента начала деформации диафрагмы 2 до момента срабатывания реле, т.е. до момента включения микропереключателя 7, произойдет увеличение давления, которое характеризует нечувствительность аппарата,

где ΔL - путь перемещения рычага 4, необходимый для включения микропереключателя; c - жесткость пружины; Ω - активная площадь диафрагмы.

Нечувствительность реле давления различных типоразмеров колеблется от 0,3 до 1,0 МПа. Контролируемое давление находится в диапазоне от 0,5 до 32 МПа.

Рис.7.26. Реле давления Г62-2:
а - конструкция; б - условное обозначение реле давления;
1 - корпус; 2 - диафрагма; 3 - пружина; 4 - рычаг; 5 ось рычага;
6, 8 -винты; 9 - отверстие

Гидравлическое реле времени (или гидроклапан выдержки времени) это направляющий гидроаппарат предназначенный для пуска или остановки потока рабочей жидкости через заданный промежуток времени после подачи управляющего сигнала. Гидравлические реле времени применяются для обеспечения определенной выдержки во времени между различными циклами срабатывания исполнительных механизмов машины.

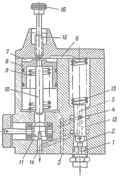
Время срабатывания реле времени определяется временем необходимым для вытеснения жидкости из гидроемкости 1. Поршень 3 приводит в движение пружина 4, а рычагом 5 осуществляется нажатие на штифт микропереключателя 6. Зарядка емкости реле времени происходит через обратный клапан 7 (рис.7.27, а).

Рис.7.27. Реле времени:
а - принципиальная схема; б - вариант схемы включения

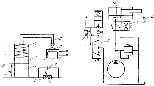
Рассмотрим пример установки реле времени. В данной схеме шток гидроцилиндра автоматически совершает холостой и рабочий ход, останавливаясь в конце каждого хода на установленное время (рис.7.27, б). В положении распределителя 1 поршень гидроцилиндра движется вправо, совершая рабочий ход. Одновременно через гидрораспределитель 2 происходит зарядка емкости реле времени. К моменту нажатия упором на путевой переключатель 3 емкость будет уже заполнена, а рабочий ход завершен. Путевой переключатель 3 переключит гидрораспределитель 2, и начнется истечение жидкости через дроссель. После установленного времени (времени истечения рабочей жидкости из емкости реле времени) за счет выключателя 4 переключатся гидрораспределители 1 и 2. Начнется холостой ход штока, и одновременно будет заряжаться емкость реле времени. В конце холостого хода путевой переключатель 5 переключит распределитель 2 и емкость реле времени снова начнет разряжаться. После ее разрядки выключатель 4 переключит распределители в начальное положение, обеспечив рабочий ход.

Рис.7.28. Реле времени дроссельного типа
1, 11 - пружины; 2 - золотник; 3, 4 - подводящее и отводящее отверстия;
5, 8 - полости; 6 - канал; 7 - дроссель; 9 - сливное отверстие; 10 - шарик;
12 - колпачок; 13 - контрогайка

Рис.7.29. Реле времени объемного типа
1, 4 - отверстия; 2, 6, 7 - полости; 3, 5 - каналы; 8 - поршень;
9, 13 - пружины; 10 - шток; 11 - упор; 12 - золотник;
14 - сливное отверстие; 15 - винт; 16 - рукоятка

По принципу работы реле времени делятся на дроссельные и объемные.

На рис.7.28 дана схема реле времени дроссельного типа, предназначенного для отсекания давления от магистрали и включения слива с настроенной выдержкой времени.

Пружина 1 отводит золотник 2 в крайнее правое положение, вследствие чего масло из отверстия нагнетания 3 отводится в отверстие 4. Если реле включено, то масло через штуцер направляется в полость 5, затем канал 6 и щель между дросселем 7 и корпусом и, наконец, в полость 8 под торец золотника 2. Под давлением масла золотник 2 медленно перемещается влево, сжимая пружину 1. Как только золотник 2 займет крайнее левое положение, отверстие 4 соединяется со сливным отверстием 9. При выключении реле времени масло из полости 8 идет под шарик 10, сжимая пружину 11. Золотник возвращается в крайнее правое положение, направляя масло в отверстие 4. Время выдержки реле времени регулируется за счет вращения дросселя 7. Для этого требуется предварительно отвернуть колпачок 12 и ослабить контргайку 13.

При малых скоростях движения гидродвигателя, а также при значительном изменении температуры рабочей жидкости реле времени дроссельного типа не может дать точной выдержки времени. Поэтому в таких случаях применяют реле времени объемного типа.

На рис.7.29 дана конструктивная схема реле времени объемного типа.

Выдержка реле времени объемного типа зависит от продолжительности хода поршня 8 и регулируется винтом 15 при помощи рукоятки 16. Жидкость из гидросистемы подводится через отверстие 1 в полость 2 и к каналу 3, затем идет через отверстие 4, продольный канал 5 и в полость 6 и далее в полость 7. При этом опускается поршень 8, сжимая пружину 9, шток 10 поворачивает упор 11. Если даже давление в полости 2 возрастает, то золотник 12, сжимая пружину 13, поднимается вверх, вследствие чего произойдет соединение полости 7 со сливным отверстием 14. В свою очередь поршень 8 пружиной 9 поднимется верх, так как давление в полости 2 упадет, а золотник 12 опустится вниз, и вся система займет исходное первоначальное положение.




Поделиться с друзьями:


Дата добавления: 2015-06-27; Просмотров: 518; Нарушение авторских прав?; Мы поможем в написании вашей работы!


Нам важно ваше мнение! Был ли полезен опубликованный материал? Да | Нет



studopedia.su - Студопедия (2013 - 2026) год. Все материалы представленные на сайте исключительно с целью ознакомления читателями и не преследуют коммерческих целей или нарушение авторских прав! Последнее добавление




Генерация страницы за: 0.013 сек.