Студопедия

КАТЕГОРИИ:


Архитектура-(3434)Астрономия-(809)Биология-(7483)Биотехнологии-(1457)Военное дело-(14632)Высокие технологии-(1363)География-(913)Геология-(1438)Государство-(451)Демография-(1065)Дом-(47672)Журналистика и СМИ-(912)Изобретательство-(14524)Иностранные языки-(4268)Информатика-(17799)Искусство-(1338)История-(13644)Компьютеры-(11121)Косметика-(55)Кулинария-(373)Культура-(8427)Лингвистика-(374)Литература-(1642)Маркетинг-(23702)Математика-(16968)Машиностроение-(1700)Медицина-(12668)Менеджмент-(24684)Механика-(15423)Науковедение-(506)Образование-(11852)Охрана труда-(3308)Педагогика-(5571)Полиграфия-(1312)Политика-(7869)Право-(5454)Приборостроение-(1369)Программирование-(2801)Производство-(97182)Промышленность-(8706)Психология-(18388)Религия-(3217)Связь-(10668)Сельское хозяйство-(299)Социология-(6455)Спорт-(42831)Строительство-(4793)Торговля-(5050)Транспорт-(2929)Туризм-(1568)Физика-(3942)Философия-(17015)Финансы-(26596)Химия-(22929)Экология-(12095)Экономика-(9961)Электроника-(8441)Электротехника-(4623)Энергетика-(12629)Юриспруденция-(1492)Ядерная техника-(1748)

Подвесная система




Устройство рифления

Звено управления

 

Предназначено для удобства действий парашютиста при управлении парашютной системой (рис. 27).

Состоит из большой петли, кольца и малой петли. Звено управления изготовлено из ленты ЛТКкрП-40-700.

Большая петля предназначена для захвата рукой, малая ─ для крепления кольца, к которому присоединена стропа управления. Для соединения звена управления с подвесной системой имеется лента петельная (текстильная застежка).

Рис. 27. Звено управления:

1 ─ большая петля; 2 ─ малая петля; 3 ─ лента петельная

 

Устройство рифления. Предназначено для снижения динамических нагрузок при наполнении купола.

Устройство рифления (рис. 28) состоит из полотнища с лентами, к которым прикреплены четыре кольца. В верхней части полотнища нашиты два кармана. Полотнища и карманы изготовлены из ткани арт. 56005крКП.

Между кольцами на полотнище сделано прямоугольное отверстие, зашитое тканью арт. 560011АП.

Рис. 28. Устройство рифления:

1 ─ полотнище; 2 ─ кольцо; 3 ─ карманы.

 

 

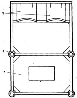
Рис. 29. Подвесная система:

1 ─ концы свободные, 2 ─ кольцо большое; 3 ─ кольцо; 4 ─ конус с пластиной; 5 ─ скоба; 6 ─ скоба крепления запасного парашюта; 7 ─ лента; 8─ лента грудной перемычки;

9 ─ пряжка; 10 ─ лямка правая, 11 ─ пряжка с перемычкой, 12 ─ ножной обхват;

13 ─ предохранитель ножной, 14 ─ пряжка; 15 ─ фиксатор скобы; 16 ─ сота;

17 ─ предохранитель; 18 ─ шлевка;

Изготовлена из ленты ЛТКОкр-44-1600 и состоит из следующих частей (Рис-29):

двух лямок (правой и левой); двух пар свободных концов.

На нижней части каждой лямки имеется пряжка, к которой присоединены лента подтяга и ножной обхват, имеющий пряжку с перемычкой, служащей для застегивания ножного обхвата.

Спереди к лямкам примонтированы лента и пряжка с перемычкой, образующие при застегивании грудную перемычку. В верхней части каждой лямки находится конус с пластиной и по два кольца (большое и малое), предназначенные для присоединения свободного конца подвесной системы. На левой лямке на уровне груди находится карман для звена ручного раскрытия, образованный между лентами поперечными строчками и закрепками. Для исключения выпадания из кармана скобы кольца звена ручного раскрытия парашюта а карман вмонтирована резиновая сота. Для присоединения подвесной системы к ранцу в верхней части лямок имеются пряжки, а к пряжке нижней части лямок ─ лента подтяга. Свободные концы подвесной системы разделяются на передние и задние. В передние свободные концы подвесной системы, заканчивающиеся, пряжками, вшиты кольца. На задние свободные концы нашиты петельная лента (для подсоединения звена управления) и карман из ленты для размещения в нем конца троса звена отсоединения.

Для правильного присоединения левый свободный конец помечен буквой <Л>.

Длина свободных концов 420 мм.

На подвесной системе имеются предохранители, предназначенные для смягчения удара металлическими деталями при наполнении купола парашюта, а также правый и левый предохранители, закрывающие места пришивок шлангов и карман звена ручного раскрытия.

 




Поделиться с друзьями:


Дата добавления: 2015-06-27; Просмотров: 354; Нарушение авторских прав?; Мы поможем в написании вашей работы!


Нам важно ваше мнение! Был ли полезен опубликованный материал? Да | Нет



studopedia.su - Студопедия (2013 - 2026) год. Все материалы представленные на сайте исключительно с целью ознакомления читателями и не преследуют коммерческих целей или нарушение авторских прав! Последнее добавление




Генерация страницы за: 0.009 сек.