Студопедия

КАТЕГОРИИ:


Архитектура-(3434)Астрономия-(809)Биология-(7483)Биотехнологии-(1457)Военное дело-(14632)Высокие технологии-(1363)География-(913)Геология-(1438)Государство-(451)Демография-(1065)Дом-(47672)Журналистика и СМИ-(912)Изобретательство-(14524)Иностранные языки-(4268)Информатика-(17799)Искусство-(1338)История-(13644)Компьютеры-(11121)Косметика-(55)Кулинария-(373)Культура-(8427)Лингвистика-(374)Литература-(1642)Маркетинг-(23702)Математика-(16968)Машиностроение-(1700)Медицина-(12668)Менеджмент-(24684)Механика-(15423)Науковедение-(506)Образование-(11852)Охрана труда-(3308)Педагогика-(5571)Полиграфия-(1312)Политика-(7869)Право-(5454)Приборостроение-(1369)Программирование-(2801)Производство-(97182)Промышленность-(8706)Психология-(18388)Религия-(3217)Связь-(10668)Сельское хозяйство-(299)Социология-(6455)Спорт-(42831)Строительство-(4793)Торговля-(5050)Транспорт-(2929)Туризм-(1568)Физика-(3942)Философия-(17015)Финансы-(26596)Химия-(22929)Экология-(12095)Экономика-(9961)Электроника-(8441)Электротехника-(4623)Энергетика-(12629)Юриспруденция-(1492)Ядерная техника-(1748)

Трансформаторы

Шины подстанций.

Неустойчивые КЗ часто возникают не только на ВЛ, но и на шинах подстанций. Поэтому на подстанциях, оборудованных быстродействующей защитой шин, также Применяется АПВ, которое производит повторную подачу напряжения на шины в случае их отключения релейной защитой; АПВ шин имеет высокую эффективность, поскольку каждый случай успешного действия.предотвращает аварийное отключение целой подстанции или ее части.

Устройствами АПВ оснащаются также все одиночно работающие трансформаторы мощностью 1000 кВА и более и трансформаторы меньшей мощности, питающие ответственную нагрузку. Устройства АПВ на трансформаторах выполняются так, чтобы их действие происходило при отключении трансформатора максимальной токовой защитой. Повторное включение при повреждении самого трансформатора, когда он отключается защитами от внутренних повреждений, как правило, не производится. Успешность действия устройств АПВ трансформаторов и шин так же высока, как и устройств АПВ ВЛ, и составляет 70—90%.

Классификация схем АПВ

В эксплуатации получили применение следующие виды устройств АПВ: трехфазные, осуществляющие повторное включение трех фаз выключателя после их отключения релейной защитой; однофазные, осуществляющие включение одной фазы выключателя, отключенной релейной защитой при однофазном КЗ; комбинированные, осуществляющие включение трех фаз (при междуфазных повреждениях) или одной фазы (при однофазных КЗ).

Трехфазные устройства АПВ в свою очередь подразделяются на несколько видов: простые (ТАПВ), быстродействующие (БАПВ), с проверкой наличия напряжения (АПВНН), с ожиданием синхронизма (АПВОС), с улавливанием синхронизма (АПВУС) и др.

По виду оборудования, на которое действием устройств АПВ повторно подается напряжение, различают АПВ линий, АПВ шин, АПВ трансформаторов.

По числу циклов (кратности действия) различают АПВ однократного действия и АПВ многократного действия (до 9).

Устройства АПВ, выполненные с помощью специальных релейных схем, называют электрическими, а встроенные в грузовые или пружинные приводы, — механическими. При оборудовании выключателей микропроцессорными терминалами АПВ обеспечивается алгоритмами функционирования терминала.

Требования к схемам АПВ

Схемы АПВ в зависимости от конкретных условий могут существенно отличаться одна от другой. Однако все они должны удовлетворять следующим основным требованиям.

1. Схемы АПВ должны приходить в действие при аварийном отключении выключателя (или выключателей), находившегося в работе. В некоторых случаях схемы АПВ должны удовлетворять дополнительным требованиям, при выполнении которых разрешается пуск АПВ: например при наличии или, наоборот, при отсутствии напряжения, при наличии синхронизма, после восстановления частоты и т. д.

2. Схемы АПВ не должны приходить в действие при оперативном отключении выключателя персоналом, а также в тех случаях, когда выключатель отключается релейной защитой сразу после его включения персоналом (т.е. при включении выключателя на КЗ), поскольку повреждения в этом случае обычно бывают устойчивыми. В схемах АПВ должна также предусматриваться возможность запрета действия АПВ при срабатывании отдельных защит. Так, например, как правило, не допускается действие АПВ трансформаторов при внутренних повреждениях в них, когда срабатывает газовая или дифференциальная защита. В отдельных случаях не допускается действие АПВ линий при срабатывании дифференциальной защиты шин.

3. Схемы АПВ должны обеспечивать определенное количество повторных включений, т. е. действие с заданной кратностью. Наибольшее распространение получило АПВ однократного действия. Применяются также АПВ двукратного, а в некоторых случаях и трехкратного действия.

4. Время действия, как правило, должно быть минимально возможным, для того чтобы обеспечить быструю подачу напряжения потребителям и восстановление нормального режима работы. Наименьшая выдержка времени, с которой производится АПВ на линиях с односторонним питанием, принимается 0,3—0,5 с. Вместе с тем в некоторых случаях, когда наиболее вероятны повреждения, вызванные набросами и касаниями проводов передвижными механизмами, целесообразно для повышения успешности АПВ принимать выдержки времени порядка нескольких секунд.

5. Схемы АПВ должны обеспечивать автоматический возврат в исходное положение готовности к новому действию после включения в работу выключателя, на который действует АПВ.

Схема 3-х фазного АПВ однократного действия

Схема управления коммутационным аппаратом

в)

 

 

Рис. 1. Управление и контроль положения коммутационного аппарата

а – релейно-контактная схема, б – схема с терминалом управления, в – фиксация последней команды оператора

 

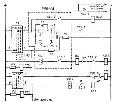
Принципиальная схема АПВ для линии с масляным выключателем приведена на рис. 1. В комплектное устройство РПВ-58 входят: реле времени КТ типа ЭВ-133 с добавочным резистором R1 для обеспечения термической стойкости реле; промежуточное реле KLI с двумя обмотками—параллельной и последовательной; конденсатор С (20 мкФ), обеспечивающий однократность действия АПВ; зарядный резистор R2 (1,1 МОм) и разрядный резистор R3 (510 Ом).

Рис. 1. Схема электрического АПВ однократного действия для линии с масляным выключателем

SA – переключатель на 4 состояния и 4 направления (ключ управления масляником, КУМ), РПВ-58 комплект АПВ, KL1 – двухобмоточное реле, КТ – реле времени, КМ – контактор включения, С=20 мКФ, R2=1,1 МОм, R3=510 Ом, YAT – электромагнит отключения, KBS – реле блокировки от многократных включений, KQT – реле положения «Отключено», SQ – вспомогательные контакты выключателя, KH – указательное реле срабатывания АПВ, время заряда tз=3R2C2=3*1,1*106*20*10-6=60 c, РЗ – защита, блокирующая действие АПВ.

 

В рассматриваемой схеме дистанционное управление выключателем производится ключом управления SA, у которого предусмотрена фиксация положения последней операции. Поэтому после операции включения ключ управления остается в положении “Включено” (Да), а после операции отключения—в положении “Отключено” (От). Когда выключатель включен и ключ управления находится в положении “Включено”, к конденсатору С подводится плюс оперативного тока через контакты ключа, а минус—через зарядный резистор R2. При этом конденсатор заряжен и схема АПВ находится в состоянии готовности к действию.

При включенном выключателе реле положения “Отключено” KQT, осуществляющее контроль исправности цепей включения, током не обтекается и контакт его в цепи пуска схемы АПВ разомкнут. Пуск схемы АПВ происходит при отключении выключателя релейной защитой в результате возникновения несоответствия между положением ключа управления, которое не изменилось, и положением выключателя, который теперь отключен. Несоответствие положений ключа и выключателя характеризуется тем, что через контакты ключа 13 на схему АПВ по-прежнему подается плюс оперативного тока, а ранее разомкнутый вспомогательный контакт выключателя SQ.1 переключился и замкнул цепь обмотки реле KQT, которое, сработав, подало контактом KQT.1 минус на обмотку реле времени КТ.

При срабатывании реле времени размыкается его мгновенный размыкающий контакт КТ.1 и вводится в цепь обмотки реле дополнительное сопротивление (резистор R1). Это приводит к уменьшению тока в обмотке реле, благодаря чему обеспечивается его термическая стойкость при длительном прохождении тока.

По истечении установленной выдержки времени реле КТ подключает замыкающим контактом КТ.2 параллельную обмотку реле KL1 к конденсатору С. Реле KL1 при этом срабатывает от тока разряда конденсатора и, самоудерживаясь через свою вторую обмотку, включенную последовательно с обмоткой контактора КМ, подает команду на включение выключателя. Благодаря использованию у реле KL1 последовательной обмотки обеспечивается необходимая длительность импульса для надежного включения выключателя, поскольку параллельная обмотка этого реле обтекается током кратковременно при разряде конденсатора. Выключатель включается, размыкается его вспомогательный контакт SQ.1 и возвращаются в исходное положение реле KQT, KL1 и КТ.

Если повреждение на линии было неустойчивым, она останется в работе. После размыкания контакта реле времени КТ.2 конденсатор С начнет заряжаться через зарядный резистор R2, сопротивление которого выбирается таким, чтобы время заряда конденсатора С составляло 20—25 с. Таким образом, спустя указанное время схема АПВ будет подготовлена к новому действию.

Если повреждение было устойчивым, то включившийся под действием схемы АПВ выключатель вновь отключится релейной защитой и вновь сработают реле KQT, и КТ. Реле KL1, однако, при этом второй раз работать не будет, так как конденсатор С, разряженный при первом АПВ, еще не успел зарядиться. Таким образом, рассмотренная схема обеспечивает однократное действие при устойчивом КЗ на линии.

При оперативном отключении выключателя ключом управления SA несоответствия не возникает и схема АПВ не действует, так как одновременно с подачей команды на отключение выключателя контактами ключа 68 размыкаются его контакты 1—3, чем снимается плюс оперативного тока со схемы АПВ. Поэтому сработает только реле KQT, а реле КТ и KL1 не сработают. Одновременно со снятием оперативного тока контактами 1-—3 SA замыкаются контакты 2—4 и конденсатор С разряжается через резистор R3. При оперативном включении выключателя ключом управления готовность схемы АПВ к действию наступает после заряда конденсатора через 20—25 с. В случае отключения линии защитой РЗ, когда Действия АПВ не требуется, через резистор R3 производится разряд конденсатора.

Для предотвращения многократного включения выключателя на устойчивое КЗ, что могло бы иметь место в случае застревания контактов реле KL1 в замкнутом состоянии, в схеме управления устанавливается специальное промежуточное реле KBS типа РП-232, имеющее две обмотки — рабочую последовательную и параллельную удерживающую. Реле KBS срабатывает при прохождении тока по катушке отключения выключателя и удерживается в сработавшем положении до снятия команды на включение. Цепь обмотки КМ при этом размыкается контактом KBS.1, благодаря чему предотвращается включение выключателя.

Ниже приведена схема реле РПВ-258, обеспечивающая двухкратное АПВ.

Особенности АПВ вакуумных выключателей [17]

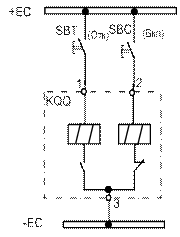
Современные выключатели, в частности вакуумные, имеют в своем составе собственные блоки управления, предназначенные для согласования устройств внешнего управления с параметрами привода выключателя. Рассмотрим блоки управления для вакуумных выключателей производства «Таврида Электрик» (BB/TEL).

Блоки управления (БУ/TEL) предназначены для управления вакуумными выключателями от схем релейной защиты и автоматики. Они выполнены в виде микропроцессорных устройств, обеспечивающих включе­ние и отключение выключателей путем разряда встроенных в БУ/TEL конденсаторов на обмотки электромагнитного привода BB/TEL. Блок управления не производит повторных включений после выполнения процедуры «Отключение» при непрерывном присутствии команды на выполнение процедуры «Включение». Время включения вакуумного выключателя не более 60 мс. Время отключения вакуумного выключателя не более 40 мс. Стандартный цикл АПВ

0 – 0.3 с – ВО – 15 c – ВО.

 

 

Схема подключения блоков управления приведена на рис. 2. Блок управления БУ/TEL получает управляющие сигналы либо от кнопок SB1, SB2 либо от фидерного терминала (в простейшем случае от микропроцессорного реле). Полученные сигналы обрабатываются блоком и выдаются в виде управляющего воздействия на электромагниты привода выключателя ВВ/TEL. Положение выключателя контролируется его вспомогательными контактами БК1, БК2, которые введены в цепи блока управления. После обработки состояния выключателя блок выдает во внешнюю схему сигналы «Готов» (при исполнении команды) или «Авария» (при отказе в исполнении команды).

В рассмотренном случае положение выключателя контролируется его блоком управления, во внешнюю цепь выдаются сигналы, полученные в результате обработки информации о команде внешней схемы и состоянии выключателя (сигналы «Готов» или «Авария»).

Подробная схема управления вакуумным выключателем приведена на рис. 3, краткое изложение процессов включения и выключения – в приложении А. Более подробные сведения имеются в [17].

 

Рис. 2. Схема подключения блоков управления вакуумными выключателями


Рис. 3. Схема соединений вакуумного выключателя

 

Схема алгоритма АПВ для терминала БМРЗ-ФКС

[13]

<== предыдущая лекция | следующая лекция ==>
Линии электропередач | Анализ функциональной схемы алгоритма АПВ
Поделиться с друзьями:


Дата добавления: 2014-01-03; Просмотров: 3560; Нарушение авторских прав?; Мы поможем в написании вашей работы!


Нам важно ваше мнение! Был ли полезен опубликованный материал? Да | Нет



studopedia.su - Студопедия (2013 - 2026) год. Все материалы представленные на сайте исключительно с целью ознакомления читателями и не преследуют коммерческих целей или нарушение авторских прав! Последнее добавление




Генерация страницы за: 0.011 сек.