Студопедия

КАТЕГОРИИ:


Архитектура-(3434)Астрономия-(809)Биология-(7483)Биотехнологии-(1457)Военное дело-(14632)Высокие технологии-(1363)География-(913)Геология-(1438)Государство-(451)Демография-(1065)Дом-(47672)Журналистика и СМИ-(912)Изобретательство-(14524)Иностранные языки-(4268)Информатика-(17799)Искусство-(1338)История-(13644)Компьютеры-(11121)Косметика-(55)Кулинария-(373)Культура-(8427)Лингвистика-(374)Литература-(1642)Маркетинг-(23702)Математика-(16968)Машиностроение-(1700)Медицина-(12668)Менеджмент-(24684)Механика-(15423)Науковедение-(506)Образование-(11852)Охрана труда-(3308)Педагогика-(5571)Полиграфия-(1312)Политика-(7869)Право-(5454)Приборостроение-(1369)Программирование-(2801)Производство-(97182)Промышленность-(8706)Психология-(18388)Религия-(3217)Связь-(10668)Сельское хозяйство-(299)Социология-(6455)Спорт-(42831)Строительство-(4793)Торговля-(5050)Транспорт-(2929)Туризм-(1568)Физика-(3942)Философия-(17015)Финансы-(26596)Химия-(22929)Экология-(12095)Экономика-(9961)Электроника-(8441)Электротехника-(4623)Энергетика-(12629)Юриспруденция-(1492)Ядерная техника-(1748)

Цанговые патроны

Для крепления заготовок из калиброванного пруткового материала в условиях крупносерийного и массового производства широко применяются цанговые патроны.

К револьверным станкам и автоматам эти патроны в большинстве случаев поставляются заводами-изготовителями вместе со станком.

С применением в цехах пневматики цанговые патроны нашли не меньшее применение и на токарных станках, а так как каждое предприятие создавало свои конструкции, то за короткое время появилось большое количество патронов этого типа [3].

При выборе цанговых патронов для оснащения токарных стан­ков необходимо учитывать, что и в условиях крупносерийного производства данный вид оборудования довольно часто перена­лаживается. Принимая во внимание это обстоятельство, следует для токарных «работ предпочесть патроны, которые могут быть быстро установлены и сняты и легко перестроены с одного размера на другой.

Рис. 16

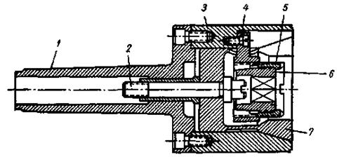
На рис. 32 показан цанговый патрон. Он удобен тем, что устанавливается на шпин­деле с помощью конусного хвостовика 1 и присоединяется к тяге пневматического цилиндра стержнем 2. Точно такое же присоеди­нение имеют и разжимные токарные оправки, что облегчает пере­наладкустанка.

Корпус патрона 3 расточен под сменную цангу 7 и имеет опор­ные площадки для крестовины 4 регулируемого упора.

Упор состоит из крестовины 4, имеющей три лапки (по числу прорезей в цанге), резьбовой втулки 5 и конусной пробки 6. Упор настраивается на требуемый размер ввертыванием втулки 5, положение которой стопорится путем завинчивания конусной пробки 6. В отдельных случаях вместо регулируемого упора могут быть применены специальные упоры, поддерживающие конец детали и дающие ей направление.

Сменные цанги выполняются с посадочным отверстием под размер обрабатываемой заготовки, а для деталей с небольшими размерами цанги имеют сменные вкладыши.

 

<== предыдущая лекция | следующая лекция ==>
Шарнирно-рычажные механизмы | Вращающиеся пневматические цилиндры
Поделиться с друзьями:


Дата добавления: 2014-01-03; Просмотров: 657; Нарушение авторских прав?; Мы поможем в написании вашей работы!


Нам важно ваше мнение! Был ли полезен опубликованный материал? Да | Нет



studopedia.su - Студопедия (2013 - 2026) год. Все материалы представленные на сайте исключительно с целью ознакомления читателями и не преследуют коммерческих целей или нарушение авторских прав! Последнее добавление




Генерация страницы за: 0.014 сек.