Студопедия

КАТЕГОРИИ:


Архитектура-(3434)Астрономия-(809)Биология-(7483)Биотехнологии-(1457)Военное дело-(14632)Высокие технологии-(1363)География-(913)Геология-(1438)Государство-(451)Демография-(1065)Дом-(47672)Журналистика и СМИ-(912)Изобретательство-(14524)Иностранные языки-(4268)Информатика-(17799)Искусство-(1338)История-(13644)Компьютеры-(11121)Косметика-(55)Кулинария-(373)Культура-(8427)Лингвистика-(374)Литература-(1642)Маркетинг-(23702)Математика-(16968)Машиностроение-(1700)Медицина-(12668)Менеджмент-(24684)Механика-(15423)Науковедение-(506)Образование-(11852)Охрана труда-(3308)Педагогика-(5571)Полиграфия-(1312)Политика-(7869)Право-(5454)Приборостроение-(1369)Программирование-(2801)Производство-(97182)Промышленность-(8706)Психология-(18388)Религия-(3217)Связь-(10668)Сельское хозяйство-(299)Социология-(6455)Спорт-(42831)Строительство-(4793)Торговля-(5050)Транспорт-(2929)Туризм-(1568)Физика-(3942)Философия-(17015)Финансы-(26596)Химия-(22929)Экология-(12095)Экономика-(9961)Электроника-(8441)Электротехника-(4623)Энергетика-(12629)Юриспруденция-(1492)Ядерная техника-(1748)

Стационарные пневматические цилиндры

При проектировании стационарных пневматических цилиндров следует руководствоваться нормалями машиностроения,

Нормаль распространяется на пневматические стационарные цилиндры двухстороннего действия, предназначенные для технологической оснастки, средств автоматизации и механизации производственных процессов и различного оборудования.

В зависимости от способа крепления цилиндры могут быть вы­полнены: с удлиненными стяжками; с фланцевым креплением; на лапах; с шарнирным креплением.

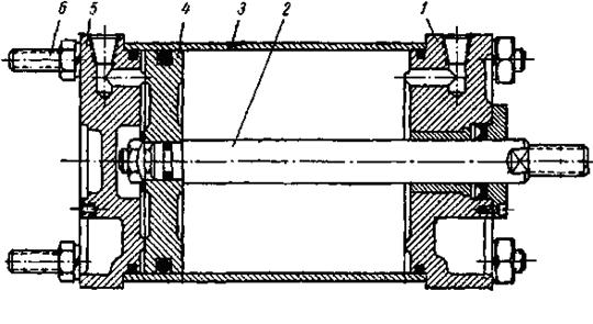
Рис. 18. Стационарный пневматический цилиндр:

/ - передняя крышка; 2 - шток; 3 - гильза; 4 - поршень;

5 - задняя крышка; 6 - стяжка.

Следует предпочесть цилиндры с креплением удлиненными стяжками. Они (рис. 34) обладают большей универсальностью и допускают при помощи переходных деталей различные способы крепления на оснастке [3].

Уплотнение крышек и поршня со штоком выполняется коль­цами круглого сечения. Шток с передней крышкой уплотнен ман­жетой V-образного профиля. Уплотнение поршня с гильзой осу­ществляется манжетами V-образного сечения (тип I) или круглого сечения (тип II). Уплотнение по типу I более сложное, его сле­дует применять только в цилиндрах, имеющих ход поршня более 100 мм, или для поршней с диаметром, превышающим 200 мм.

Подвод воздуха в цилиндр осуществляется через крышки, которые имеют резьбовые присоединительные отверстия под футорки воздухопровода. Цилиндр собирается с помощью четы­рех стяжек 6. Длина стяжек позволяет использовать их концы и для крепления цилиндра на корпусе приспособления.

 

 

<== предыдущая лекция | следующая лекция ==>
Вращающиеся пневматические цилиндры | Пневматизированные слесарные тиски
Поделиться с друзьями:


Дата добавления: 2014-01-03; Просмотров: 679; Нарушение авторских прав?; Мы поможем в написании вашей работы!


Нам важно ваше мнение! Был ли полезен опубликованный материал? Да | Нет



studopedia.su - Студопедия (2013 - 2026) год. Все материалы представленные на сайте исключительно с целью ознакомления читателями и не преследуют коммерческих целей или нарушение авторских прав! Последнее добавление




Генерация страницы за: 0.011 сек.