Студопедия

КАТЕГОРИИ:


Архитектура-(3434)Астрономия-(809)Биология-(7483)Биотехнологии-(1457)Военное дело-(14632)Высокие технологии-(1363)География-(913)Геология-(1438)Государство-(451)Демография-(1065)Дом-(47672)Журналистика и СМИ-(912)Изобретательство-(14524)Иностранные языки-(4268)Информатика-(17799)Искусство-(1338)История-(13644)Компьютеры-(11121)Косметика-(55)Кулинария-(373)Культура-(8427)Лингвистика-(374)Литература-(1642)Маркетинг-(23702)Математика-(16968)Машиностроение-(1700)Медицина-(12668)Менеджмент-(24684)Механика-(15423)Науковедение-(506)Образование-(11852)Охрана труда-(3308)Педагогика-(5571)Полиграфия-(1312)Политика-(7869)Право-(5454)Приборостроение-(1369)Программирование-(2801)Производство-(97182)Промышленность-(8706)Психология-(18388)Религия-(3217)Связь-(10668)Сельское хозяйство-(299)Социология-(6455)Спорт-(42831)Строительство-(4793)Торговля-(5050)Транспорт-(2929)Туризм-(1568)Физика-(3942)Философия-(17015)Финансы-(26596)Химия-(22929)Экология-(12095)Экономика-(9961)Электроника-(8441)Электротехника-(4623)Энергетика-(12629)Юриспруденция-(1492)Ядерная техника-(1748)

Загальна характеристика верстата. Призначення верстата. Верстат призначений для фрезерування різних деталей із сталі, чавуну і кольорових металів порівняно невеликих розмірів

ГОРИЗОНТАЛЬНО-ФРЕЗЕРУВАЛЬНИЙ ВЕРСТАТ МОДЕЛІ 6П80Г

Призначення верстата. Верстат призначений для фрезерування різних деталей із сталі, чавуну і кольорових металів порівняно невеликих розмірів. Обробка деталей здійснюється циліндрічними, дисковими, фасонними, кутовими, модульними і торцевими фрезами як за зустрічною, так і за попутною схемами фрезерування. Верстат використовується в умовах індивідуального і серійного виробництва. За наявності ділильної голівки можна фрезерувати прямозубі та косозубі шестерні та рейки, канавки і тому подібне Достатня потужність приводів і широкий діапазон швидкостей і подач дозволяють успішно працювати на верстаті як швидкорізальними фрезами, так і фрезами, оснащеними пластинками твердого сплаву (мал. 82, 83). Роботу і настроювання ділильної голівки слід вивчити по практичній роботі № 3 дисципліни ОТМЦ.

 

 

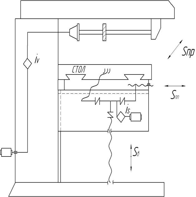
Мал. 82. Кінематична структура горизонтально-фрезерувального верстату

 

Мал. 83. Схеми закріплення інструментів на горизонтально-фрезерувальному

верстаті.

Технічна характеристика верстата

Робоча поверхня столу, мм.......................................200X800

Число швидкостей обертання шпінделя..................................l2

Межі чисел оборотів шпінделя за хвилину........................50—2240

Кількість швидкостей подач столу.......................................12

Межі швидкостей подач столу, мм/мін:

повздовжніх...............................................................22,4—1000

поперечних................................................................16—710

вертикальних...............................................................8—355

Швидкість швидкого переміщення столу, мм/мін:

повздовжнього...............................................................2400

поперечного...................................................................1710

вертикального.......................................................................855

Потужність головного електродвигуна, КВт...............................2,8

Основні вузли верстата (мал. 84). А — станина з коробкою швидкостей і вузлом шпінделя; Б — хобот з підвіскою; В— стіл; Г — додатковий зв'язок консолі з хоботом; Д — поперечні салазки; Е — консоль з коробкою подач; Ж — підстава верстата.

Органи управління. А — рукоятка для перемикання швидкостей у коробці швидкостей; 2 — рукоятка для перемикання перебору шпінделя; 3 — маховичок ручного повздовжнього переміщення столу; 4 — рукоятка включення повздовжньої подачі столу; 5 — маховичок ручного поперечного переміщення столу; 6 — рукоятка ручного вертикального переміщення консолі зі столами; 7 — маховичок для перемикання подач у коробці подач; 8 — рукоятка перемикання перебору коробки подач; 9 — рукоятка для включення і реверсування поперечної і вертикальної подач столу.

 

 

Мал. 84. Загальний вигляд горизонтально-фрезерувального верстату

моделі 6П80Г

Рухи у верстаті. Рух різання — обертання шпинделя з фрезою. Подачами є переміщення столу з оброблюваною деталлю в повздовж-ньому, поперечному і вертикальному напрямках. Допоміжні рухи — швидкі переміщення столу в тих же напрямках.

Принцип роботи. Оброблювані деталі встановлюють безпосередньо на столі, в лещатах або спеціальних пристосуваннях. Для обробки деталей в декількох позиціях широко використовується універсальна ділильна голівка, яка дозволяє проводити ділильні повороти детали на необхідну кількість рівних частин. Насадні фрези, циліндрічні, дискові і ін., встановлюють на оправках шпінделів, хвостові — безпосередньо в шпинделі або в цанговому патроні.

При установці фрез на оправках, останні одним кінцем вставляють у конус шпінделя, а іншим — в отвір підвіски.

Торцеві фрезерні головки закріплюють на торці шпінделя. Настроювання верстата відповідно до конфігурації і розмірів оброблюваної деталі проводиться переміщенням столу В, поперечних санчат Д і консолі Е.

Конструктивні особливості. Верстат має розділений привід руху різання: коробка швидкостей змонтована в станині у вигляді окремого вузла, а обертання шпинделю передається клиновими ременями. Це забезпечує безвібраційну роботу верстата навіть на найвищих числах оборотів шпинделя.

Шпиндель змонтовано на прецизійних подвійних роликових підшипниках високій жорсткості. Шпиндель розвантажено від зусиль, що вигинають його з боку ремінної передачі, оскільки приводний шків встановлено на незалежних підшипниках. Для більш рівномірного обертання шпинделя його приводна шестерня зроблена масивною, тому вона одночасно виконує роль маховику. Швидка зупинка обертання шпинделя забезпечується гальмами с електромагнітним приводом.

Верстат має дві підвіски хобота: одну на підшипниках кочення, призначену для швидкісних робіт; іншу - на підшипниках ковзання, що забезпечує роботу з фрезами діаметром менше 75 мм. Для підвищення жорсткості системи хобот Б може бути зв”язаний з консоллю Е додатковим зв'язком Р.

У приводі подач є кулькова запобіжна муфта, що виключає можливість поломки елементів приводу при надмірному збільшенні навантаження.

Для фрезерування попутним методом в приводі повздовжньої подачі столу передбачено механізм для періодичного усунення зазору між ходовим гвинтом і гайками.

<== предыдущая лекция | следующая лекция ==>
Кінематика верстата моделі 6Н12ПБ | Кінематика верстату моделі 6П80Г
Поделиться с друзьями:


Дата добавления: 2014-01-03; Просмотров: 522; Нарушение авторских прав?; Мы поможем в написании вашей работы!


Нам важно ваше мнение! Был ли полезен опубликованный материал? Да | Нет



studopedia.su - Студопедия (2013 - 2026) год. Все материалы представленные на сайте исключительно с целью ознакомления читателями и не преследуют коммерческих целей или нарушение авторских прав! Последнее добавление




Генерация страницы за: 0.013 сек.