Студопедия

КАТЕГОРИИ:


Архитектура-(3434)Астрономия-(809)Биология-(7483)Биотехнологии-(1457)Военное дело-(14632)Высокие технологии-(1363)География-(913)Геология-(1438)Государство-(451)Демография-(1065)Дом-(47672)Журналистика и СМИ-(912)Изобретательство-(14524)Иностранные языки-(4268)Информатика-(17799)Искусство-(1338)История-(13644)Компьютеры-(11121)Косметика-(55)Кулинария-(373)Культура-(8427)Лингвистика-(374)Литература-(1642)Маркетинг-(23702)Математика-(16968)Машиностроение-(1700)Медицина-(12668)Менеджмент-(24684)Механика-(15423)Науковедение-(506)Образование-(11852)Охрана труда-(3308)Педагогика-(5571)Полиграфия-(1312)Политика-(7869)Право-(5454)Приборостроение-(1369)Программирование-(2801)Производство-(97182)Промышленность-(8706)Психология-(18388)Религия-(3217)Связь-(10668)Сельское хозяйство-(299)Социология-(6455)Спорт-(42831)Строительство-(4793)Торговля-(5050)Транспорт-(2929)Туризм-(1568)Физика-(3942)Философия-(17015)Финансы-(26596)Химия-(22929)Экология-(12095)Экономика-(9961)Электроника-(8441)Электротехника-(4623)Энергетика-(12629)Юриспруденция-(1492)Ядерная техника-(1748)

Деревянные полы

Полы

Пол — многослойная конструкция, включающая следующие элементы: покрытие (чистый пол) — верхний слой пола, непосред­ственно подверженный эксплуатационным воздействиям; подсти­лающий слой (подготовка) — обеспечивает незыблемость чистого пола и распределяет нагрузки на основание; между подготовкой и чистым полом расположена прослойка — промежуточный соедини­тельный слой между покрытием и стяжкой; стяжка — слой, служа­щий для выравнивания поверхности подстилающего слоя, а также для придания покрытию требуемого уклона.

Основанием для пола служат междуэтажные перекрытия или естественный грунт.

В полах по перекрытию подстилающий слой отсутствует. В кон­струкции полов может быть дополнительный слой — тепло- и звуко­изоляционный.

В местах примыкания полов к стенам, столбам, перегородкам устраивают плинтусы.

Конструкции полов классифицируют по месту устройства — уложенные на перекрытие или на грунт (грунт может быть в подвалах или на первых этажах бесподвальных зданий); по материалу покрытия — деревянные, бетонные, керамические, из синтети­ческого материала; по виду покрытия — сплошные (бесшовные), штучные, рулонные; по конструкции подполья — пустотные с венти-тируемым зазором между основанием и чистым полом, беспустотчые, не имеющие подпольного пространства.

В зависимости от назначения здания и характера функциональ­ного процесса, протекающего в помещениях, полы должны удовлет­ворять следующим требованиям: быть прочными, т.е. обладать хорошей сопротивляемостью внешним воздействиям (истиранию и ударам); быть нескользкими и бесшумными при ходьбе; обладать малым теплоусвоением; гигиеничными, т.е. легко поддаваться очистке; удобными в эксплуатации — не образующими пыли, легко ремонтироваться; декоративными — гармонично сочетаться с внут­ренней отделкой здания; индустриальными — не требующими при возведении значительных затрат труда; экономичными — отлича­ющимися наименьшей стоимостью, трудоемкостью, продолжитель­ным сроком эксплуатации. В зависимости от назначения и характера помещения полы в мокрых помещенияхдолжны быть водонепрони­цаемыми, а в пожароопасных помещениях — несгораемыми.

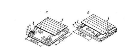
Дощатые полы укладывают по любому основанию. Их выполня­ют из шпунтованных досок толщиной 29 мм, прибиваемых к лагам. Лаги укладывают с шагом 400—500 мм по несущим элементам пере­крытий с обязательной установкой упругих звукоизоляционных прокладок. При устройстве полов по грунту лаги укладывают на кирпичные столбики сечением 250 х 250 мм, располагаемые на рас­стоянии 800—1000 мм, высотой не менее 2 рядов кирпича. Могут быть и двухслойные дощатые полы, состоящие из черного пола в виде диагонально расположенного настила из нестроганых досок и чистого пола из строганых шпунтованных досок (рис. 3.32).

Паркетные полы (штучные) устраивают из дубовой или буковой клепки (мелких дощечек), изготовленных на заводах (рис. 3.33, а). Их настилают по бетонному или дощатому основанию. При устрой­стве полов по дощатому настилу применяют шпунтованную клепку (с пазом и гребнем на боковых кромках), обеспечивающую плотное соединение клепок между собой. Клепки крепятся к настилу гвоз­дями, забиваемыми в пазы наискось. Между настилом и паркетом для предупреждения скрипа при ходьбе прокладывается строитель­ный картон. Паркетные полы по бетонной подготовке делаются по заранее выполненной цементной стяжке, паркетные клепки накле­ивают на мастике.

Полы из паркетных досок (рис. 3.33, б). Доски состоят из реечного щита, поверх которого наклеена паркетная клепка на водостойком клее. Паркетные доски укладывают на лаги, плотно сплачивая шпун­тованные кромки и забивая гвозди в кромку паза реечного щита.

 
 


 

Рис. 3.32. Дощатые полы:

а — на грунте; б — на междуэтажном перекрытии;

1 — бетонная подготовка; 2 — кирпичный столбик; 3 — гидроизоляционная

прокладка; 4 — выравнивающая подкладка; 5 — лага;

6 — шпунтованные доски; 7 — междуэтажное перекрытие;

8 — звукоизоляционная прокладка

 

 

Рис. 3.33. Паркетные полы:

а — штучные; б— паркетные доски; в — щитовые; г— мозаичные;

1 — междуэтажное перекрытие; 2 — стяжка из поризованного раствора;

3 — битумная мастика; 4 — паркет, уложенный в «елку»;

5 — звукоизоляционная прокладка; 6 — лага; 7 — паркетные доски;

8 — продольные пропилы на тыльной стороне реечного основания;

9 — паркетные щиты; 10 — подкладки в местах стыковки щитов;

11 — реечное основание щита; 12 — карта мозаичного паркета;

13 — бумага на поверхности карты

 

Продольные пропилы на тыльной стороне щита не допускают ко­робления паркетной доски и отслаивания наклеенной клепки.

Полы из щитового паркета (рис. 3.33, в). Щиты размером 400 х 400 мм имеют реечное основание с наклеенной паркетной клепкой. Щиты укладывают по лагам, прибивая их гвоздями.

Полы из мозаичного паркета (рис. 3.33, г). Мелкую паркетную клепку наклеивают лицевой стороной на плотную бумагу. Такие карты размером 400 х 400, 600 х 600 мм приклеивают к основанию битумной мастикой, затем с его лицевой стороны снимают бумаж­ную основу.

Полы из линолеума

Полы из линолеума (рис. 3.34) долговечны, эластичны, износо­стойки, гигиеничны. Их укладывают по ровному и сухому основа­нию из досок, твердых древесно-волокнистых и древесно-стружечных плит или по цементным стяжкам. Приклеивают линолеум к осно­ванию специальным клеем на основе синтетических, казеиновых или битумных смол.

 


 

Рис. 3.34. Полы из линолеума:

а — «теплые» с теплозвукоизолирующей подосновой (на перекрытии); б, в — то же безосновные и на тканевой подоснове;

г— «холодные» на тканевой подоснове (на грунте); 1 — линолеум с теплозвукоизолирующей подосновой; 2 — слой клея; 3 — стяжка из поризованного раствора; 4 — плита междуэтажного перекрытия; 5 — безосновный линолеум; 6 — клеящая мастика; 7 — теплоизоляционная прослойка; 8 — линолеум на тканевой основе; 9 — стяжка из цементного раствора; 10 — бетонная подготовка

 

В помещениях с длительным пребыванием людей устраивают «теплые» полы из линолеума с теплозвукоизолирующей подосно­вой. Перекрытия из безосновного линолеума или на тканевой под­основе должны иметь теплоизоляционную прослойку в основании.

Кромки полотнищ линолеума стыкуют внахлестку и прорезают насквозь по линейке, получая аккуратный и незаметный в стыке шов. Стыки в местах примыкания к стенам закрывают плинтусом, а в дверных проемах специальным порожком.

Цементные полы

Цементные полы (рис. 3.35, а) выполняют из цементного раство­ра состава 1:1 — 1:3, уложенного слоем 20—25 мм по бетонной подготовке. Такие полы недекоративны, холодны и укладываются только в нежилых помещениях.

Мозаичные полы (рис. 3.35, б)

Нижний слой таких полов — цементная стяжка толщиной до 25 мм, а верхний (отделочный) слой — цветной цементный раствор и мраморная крошка толщиной до 25 мм. После затвердевания сме­си поверхность шлифуют специальными машинами. При большой площади помещения в такие полы в процессе их устройства встав­ляют полоски стекла «на ребро» или латуни, разделяющие полы на отдельные квадраты, что предупреждает появление в них трещин. Такие полы декоративны, малоистираемы, водонепроницаемы, но холодны.

 
 


Рис. 3.35. Полы:

а — цементные; б — мозаичные; в — из керамической плитки;

1 — бетонная подготовка; 2 — покрытие из цементного раствора;

3 — нижний слой из бетона; 4 — отделочный слой; 5 — разделяющие полоски;

6 — выравнивающая стяжка; 7 — растворная прослойка; 8 — плитка

Полы из керамических плиток (рис. 3.35, в)

Покрытие в таких полах выполняют из плитки толщиной 10 или 13 мм квадратной, прямоугольной, восьмиугольной формы. Плитку укладывают по бетонному основанию на цементную стяжку толщи­ной 10—20 мм. Применяются также покрытия из ковровой мозаики, состоящие из мелких керамических плиток толщиной 6—8 мм раз­мером 23 х 23, 28 х 28 мм. На строительную площадку эти покрытия чаще всего поступают картами 300 х 500, 500 х 800 мм, изготовляемы­ми на заводе по заданному рисунку и наклеенными плитками лице­вой стороной на листы плотной бумаги. После укладки таких карт на стяжку бумагой кверху ее смачивают теплой водой и снимают, а швы между плитками заполняют жидким цементным раствором. Полы из керамической плитки устраивают в санузлах, вестибюлях, на лестничных площадках. Полы прочны, водоустойчивы, декоратив­ны, но холодны.

В табл. 3.4 приведены технико-экономические показатели раз­личных типов полов.

Таблица 3.4

<== предыдущая лекция | следующая лекция ==>
Тесты по теме. □ Задание 1. Установить соответствие | Тесты по теме. Технико-экономические показатели 1 м полов
Поделиться с друзьями:


Дата добавления: 2014-01-03; Просмотров: 502; Нарушение авторских прав?; Мы поможем в написании вашей работы!


Нам важно ваше мнение! Был ли полезен опубликованный материал? Да | Нет



studopedia.su - Студопедия (2013 - 2025) год. Все материалы представленные на сайте исключительно с целью ознакомления читателями и не преследуют коммерческих целей или нарушение авторских прав! Последнее добавление




Генерация страницы за: 0.01 сек.