Студопедия

КАТЕГОРИИ:


Архитектура-(3434)Астрономия-(809)Биология-(7483)Биотехнологии-(1457)Военное дело-(14632)Высокие технологии-(1363)География-(913)Геология-(1438)Государство-(451)Демография-(1065)Дом-(47672)Журналистика и СМИ-(912)Изобретательство-(14524)Иностранные языки-(4268)Информатика-(17799)Искусство-(1338)История-(13644)Компьютеры-(11121)Косметика-(55)Кулинария-(373)Культура-(8427)Лингвистика-(374)Литература-(1642)Маркетинг-(23702)Математика-(16968)Машиностроение-(1700)Медицина-(12668)Менеджмент-(24684)Механика-(15423)Науковедение-(506)Образование-(11852)Охрана труда-(3308)Педагогика-(5571)Полиграфия-(1312)Политика-(7869)Право-(5454)Приборостроение-(1369)Программирование-(2801)Производство-(97182)Промышленность-(8706)Психология-(18388)Религия-(3217)Связь-(10668)Сельское хозяйство-(299)Социология-(6455)Спорт-(42831)Строительство-(4793)Торговля-(5050)Транспорт-(2929)Туризм-(1568)Физика-(3942)Философия-(17015)Финансы-(26596)Химия-(22929)Экология-(12095)Экономика-(9961)Электроника-(8441)Электротехника-(4623)Энергетика-(12629)Юриспруденция-(1492)Ядерная техника-(1748)

Вентиляционные устройства зданий




Основной задачей вентиляции является обеспечение в помеще­ниях нормальной чистоты и влажности воздуха путем удаления от­работанного воздуха и подачи свежего. Вентиляция помещений бывает: естественная, вытяжная, приточно-вытяжная.

Естественная вентиляция осуществляется через форточки, окна, а также за счет инфильтрации, т.е. через поры материала и неплот­ности оконных и дверных проемов.

При вытяжной вентиляции загрязненный воздух удаляется из помещения через специальные каналы. Кухни, уборные и ванные должны иметь вытяжную вентиляцию непосредственно из помеще­ний.

Каналы рекомендуется предусматривать раздельными от места входа воздуха в решетки жалюзи до его выхода в атмосферу или до объединенного короба. Внутренние каналы располагают обычно во внутренних стенах или устраивают приставные вентиляционные блоки из гипсошлаковых или шлаковых плит (рис. 4.16).

Вытяжные шахты с объединенными каналами изготовляют на заводах из легкого бетона.

В приточно-вытяжных системах вентиляции воздух поступает в помещения через приточную камеру, где он в зависимости от требо­ваний предварительно прогревается или охлаждается, увлажняет­ся, очищается от пыли.

В случае применения кондиционеров воздух в помещения по­дают по сетям воздуховодов, устраиваемых аналогично воздухово­дам естественной и искусственной вентиляции.

В кирпичных стенах вентиляционные каналы сечением 140 х 140 мм выполняют при кладке стен. Стенки каналов должны быть толщи­ной не менее 120 мм. В крупнопанельных и крупноблочных домах каналы устраивают в специальных блоках. Вентиляционные блоки могут быть несущими, самонесущими и ненесущими. Каналы со­единяют с помещениями отверстиями, расположенными под потол­ком и снабженными решетками.


Рис. 4.16. Конструкции вентиляционных каналов:

а — вентиляционная стеновая панель; б — приставной вентиляционный канал у наружной стены; в — то же у внутренней;

1 — вертикальный вытяжной канал; 2 — риска для вертикального отверстия; 3 — монтажная петля; 4 — сетка из арматуры, 5 — стена наружная; 6 — воздушная прослойка 50 мм; 7 — гипсошлаковые плиты; 8 — стена внутренняя

Каждый санузел (ванная и уборная) и каждая кухня должны иметь самостоятельный канал, чтобы не нарушать звукоизоляцию

квартир и не допускать распространения запахов. Объединение ка­налов допускается в соответствии с санитарными нормами через несколько этажей. На чердаке каналы объединяют в вытяжную шах­ту и выводят над крышей (рис. 4.17).

Дымовые каналы размещают в трубах или во внутренних кирпич­ных стенах. Их сечение для печей — 0,5 х 0,5 кирпича. Для улучше­ния тяги внутреннюю поверхность дымохода затирают глиняным раствором.

Инженерные коммуникации в виде трубопроводов подводятся к зданию под землей и вводятся в подвал, где размещают приемные устройства — тепловые пункты, водомерные узлы и др. При отсут­ствии подвалов регулирующие и контрольные приборы устраивают в специальных приямках или в отдельных помещениях первого эта­жа. Вводы в здание и выпуски из здания должны решаться с учетом обеспечения гидроизоляции в местах пропуска трубопроводов че­рез стену подвала и предохранения трубопроводов от повреждения при осадке здания.

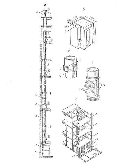
Рис. 4.17. Вентиляционные каналы:

а — в кирпичной стене; б — в сборном блоке; в — в приставном коробе; г — в подвесном коробе;

1 — канал сечением 1 х 0,5 кирпича; 2 — то же 0,5 х 0,5 кирпича; 3 — этажные вентиляционные блоки; 4 — чердачный блок;

5 — крышный блок; 6 — плита-зонт; 7 — вывод в канал-сборник; 8 — сборный канал; 9 — канал-спутник; 10 — вентиляционное отверстие; 11 — стальные уголки; 12 — стенка короба; 13 — стальная подвеска

 

Мусоропроводы устраивают в жилых зданиях высотой 5 этажей и более. Мусоропроводную камеру располагают в подвале или на первом этаже и оборудуют водопроводом и канализацией. Вход в камеру должен быть самостоятельным, изолированным от входа в здание. Состоит мусоропровод из вертикального ствола, имеющего приемные камеры на каждом этаже; вытяжных труб; мусоропроводного бункера, расположенного в камере. Вертикальный ствол вы­полняют из асбестоцементных труб (рис. 4.18).



 

Рис. 4.18. Мусоропровод:

а — общий вид; б — ствол мусоропровода, объединенный с лифтовой шахтой;

в — муфта в стыке ствола; г— крепление приемного клапана к стволу

мусоропровода; д — расположение мусоросборочной камеры;

1 — контейнер для мусора; 2 — напольный бункер с задвижкой;

3 — ствол мусоропровода; 4 — приемный клапан; 5 — муфта в местах стыков;

6 — вентиляционная труба с дефлектором; 7 — мусоропровод;

8 _ вентиляционный канал; 9 — заделка паклей; 10 — зачеканка раствором;

-| 1 _ хомуты; 12 — мусоросборочная камера; 13 — вход в здание

Мусоропровод собирают на строительной площадке из типовых заводских деталей. Для герметизации стыков используют резиновые прокладки. Мусоропроводную камеру размещают в изолированном помещении под стволом мусоропровода рядом со входом в лестнич­ную клетку.

Лифты и эскалаторы относятся к механическим устройствам для организации сообщения между этажами (рис. 4.19). Лифты бывают периодического и непрерывного действия. По назначению подраз­деляются на пассажирские, грузовые и специальные. Они отлича­ются друг от друга размерами кабин и грузоподъемностью. Лифты состоят из кабины, подвешенной на стальных канатах, перекинутых

Рис. 4.19. Строительные элементы лифтовой установки:

1 — приямок; 2 — стенка шахты; 3 — дверь шахты;

4 — машинное отделение; 5 — кабина лифта

 

через шкив подъемной лебедки, находящейся в машинном отделе­нии. Шахта лифта ограждается со всех сторон на всю ее высоту и внизу имеет приямок глубиной 1300 мм. В нем размещаются амортизато­ры и натяжное устройство. Машинное отделение может быть расположено вверху, над шахтой, или внизу, рядом с ней. Размеща­ют лифты обычно рядом с лестничной клеткой.

Эскалатор представляет собой движущуюся лестницу, располо­женную под углом 30° и предназначенную для организации движе­ния людей с одного уровня на другой. Их применяют в обществен­ных зданиях, где одновременно находится большое число людей. Ширина полотна эскалатора — от 0,5 до 1,2 м.

 




Поделиться с друзьями:


Дата добавления: 2014-01-03; Просмотров: 1202; Нарушение авторских прав?; Мы поможем в написании вашей работы!


Нам важно ваше мнение! Был ли полезен опубликованный материал? Да | Нет



studopedia.su - Студопедия (2013 - 2026) год. Все материалы представленные на сайте исключительно с целью ознакомления читателями и не преследуют коммерческих целей или нарушение авторских прав! Последнее добавление




Генерация страницы за: 0.012 сек.