Студопедия

КАТЕГОРИИ:


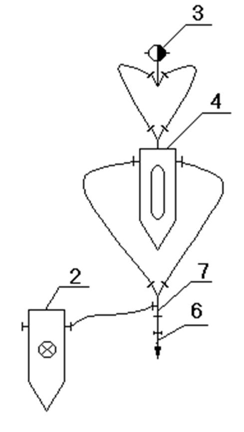
Архитектура-(3434)Астрономия-(809)Биология-(7483)Биотехнологии-(1457)Военное дело-(14632)Высокие технологии-(1363)География-(913)Геология-(1438)Государство-(451)Демография-(1065)Дом-(47672)Журналистика и СМИ-(912)Изобретательство-(14524)Иностранные языки-(4268)Информатика-(17799)Искусство-(1338)История-(13644)Компьютеры-(11121)Косметика-(55)Кулинария-(373)Культура-(8427)Лингвистика-(374)Литература-(1642)Маркетинг-(23702)Математика-(16968)Машиностроение-(1700)Медицина-(12668)Менеджмент-(24684)Механика-(15423)Науковедение-(506)Образование-(11852)Охрана труда-(3308)Педагогика-(5571)Полиграфия-(1312)Политика-(7869)Право-(5454)Приборостроение-(1369)Программирование-(2801)Производство-(97182)Промышленность-(8706)Психология-(18388)Религия-(3217)Связь-(10668)Сельское хозяйство-(299)Социология-(6455)Спорт-(42831)Строительство-(4793)Торговля-(5050)Транспорт-(2929)Туризм-(1568)Физика-(3942)Философия-(17015)Финансы-(26596)Химия-(22929)Экология-(12095)Экономика-(9961)Электроника-(8441)Электротехника-(4623)Энергетика-(12629)Юриспруденция-(1492)Ядерная техника-(1748)

Характеристики водопенных мониторов




Для подачи воды и низкократной пены при тушении пожаров в резервуарах для хранения нефти, нефтепродуктов, газового конденсата и других горючих жидкостей, на сливоналивных железнодорожных эстакадах и технологических установках по переработке нефти целый ряд отечественных и зарубежных фирм предлагает водопенные мониторы различной конструкции и производительности по воде или низкократной пене и другое оборудование, как, например, тележки для хранения и доставки пенообразователя к месту пожара с набором оборудования.

Водопенные мониторы выпускаются в различных вариантах:

- переносные;

- возимые на тележках;

- стационарные.

Водопенные мониторы, предлагаемые на рынке, имеют производительность от 20 до 100 л.с-1 и более, имеют значительную дальность подачи струй воды и пены низкой кратности (до 100 метров), высота подачи струй пены низкой кратности из них превышает 20 метров, что позволяет забрасывать пену низкой кратности в резервуары с поверхности земли. Многие мониторы имеют встроенные смесители дозаторы, которые позволяют забирать пенообразователь из установленных рядом с ними емкостей в процессе их работы, что в ряде случаев упрощает использование мониторов и доставку пенообразователя от места хранения к месту пожара.

Для обеспечения подачи воды к мониторам могут применяться как серийные пожарные автомобили, так и автономные модули пожаротушения контейнерного типа или передвижные насосные станции, смонтированные на прицепах. Принципиальные схемы подключения мониторов к пожарной технике представлены на рис. 2.1, 2.2, 2.3.

При выборе мониторов для тушения пожаров на защищаемом объекте следует учитывать возможность их работы с имеющейся передвижной пожарной техникой (пожарные автоцистерны, пожарные насосные станции и другие), возможность их быстрой доставки к месту пожара и установки в удобных для тушения пожара местах, возможность быстрой передислокации их с одного места на другое в случае необходимости. В тех местах, где имеется твердое дорожное покрытие, на котором в случае пожара будут устанавливаться мониторы предпочтительнее использовать передвижные мониторы (на прицепах, тележках), в тех местах, где их придется устанавливать на грунте предпочтительнее применять переносные мониторы.

 

 


 


 

 

Рис. 2.1 Принципиальная схема развертывания водопенного монитора с подачей воды и пенообразователя пожарными автомобилями

1. Емкость для хранения и перевозки пенообразователя; 2. Пожарный автомобиль пенного тушения; 3. Пожарный гидрант с колонкой; 4. Пожарная автоцистерна и пожарная насосная станция; 5. Пеносмеситель; 6. Водопенный монитор


Рис. 2.2 Принципиальная схема развертывания водопенного монитора с подачей воды и пенообразователя пожарными автомобилями через дозирующую вставку (7)

 

 


 

 

Рис. 2.3. Принципиальная схема развертывания водопенного монитора с подачей воды пожарным автомобилем и пенообразователя через дозирующую вставку из емкости для его хранения и доставки

 

 





Поделиться с друзьями:


Дата добавления: 2015-08-31; Просмотров: 1550; Нарушение авторских прав?; Мы поможем в написании вашей работы!


Нам важно ваше мнение! Был ли полезен опубликованный материал? Да | Нет



studopedia.su - Студопедия (2013 - 2026) год. Все материалы представленные на сайте исключительно с целью ознакомления читателями и не преследуют коммерческих целей или нарушение авторских прав! Последнее добавление




Генерация страницы за: 0.01 сек.