Студопедия

КАТЕГОРИИ:


Архитектура-(3434)Астрономия-(809)Биология-(7483)Биотехнологии-(1457)Военное дело-(14632)Высокие технологии-(1363)География-(913)Геология-(1438)Государство-(451)Демография-(1065)Дом-(47672)Журналистика и СМИ-(912)Изобретательство-(14524)Иностранные языки-(4268)Информатика-(17799)Искусство-(1338)История-(13644)Компьютеры-(11121)Косметика-(55)Кулинария-(373)Культура-(8427)Лингвистика-(374)Литература-(1642)Маркетинг-(23702)Математика-(16968)Машиностроение-(1700)Медицина-(12668)Менеджмент-(24684)Механика-(15423)Науковедение-(506)Образование-(11852)Охрана труда-(3308)Педагогика-(5571)Полиграфия-(1312)Политика-(7869)Право-(5454)Приборостроение-(1369)Программирование-(2801)Производство-(97182)Промышленность-(8706)Психология-(18388)Религия-(3217)Связь-(10668)Сельское хозяйство-(299)Социология-(6455)Спорт-(42831)Строительство-(4793)Торговля-(5050)Транспорт-(2929)Туризм-(1568)Физика-(3942)Философия-(17015)Финансы-(26596)Химия-(22929)Экология-(12095)Экономика-(9961)Электроника-(8441)Электротехника-(4623)Энергетика-(12629)Юриспруденция-(1492)Ядерная техника-(1748)

Прогрессивные способы хо­лодной листовой штамповки

Но­вые виды штамповки благодаря своей простоте и экономичности нахо­дят широкое применение в ус­ловиях мелкосерийного и единич­ного производ­ства. К ним относят штамповку резиной, жидкостью, взрывом, электрогидрав­лическую и др.

Штамповка резиной. С её помощью осуществляются разделительные и формоизменяю­щие операции. При этом пуансо­ном или матрицей является рези­на. Штамповку резиной применяют для изделий из тон­колистового металла толщиной до 2 мм (алюминия, медных сплавов, низкоуглеродистой стали).

Штамповка жидкостью. В этом случае металл дефор­мируется под давле­нием жидкос­ти, принимая форму матрицы. Данный способ применяют для вы­тяжки полых деталей разной фор­мы.

Штамповка взрывом. Для пластического формоизмене­ния заготовки при­меняют и взрыв­чатые вещества (взрывчатые газо­вые смеси из метана, пропана, гексогена и др.), создающие высокое давление, под действием которого заго­товка принимает форму штам­па. Штамповку взрывом применя­ют для изготовления крупных де­талей и дета­лей сложной формы, когда изготовление их другими способами невозможно (напри­мер, труднодеформируемые сплавы) или неэкономично. Такая штамповка не требует сложного и до­рогостоящего оборудования.

Электрогидравлическая штамповка. Этот метод характерен тем, что энерго­носителем является вы­соковольтный электрический заряд в жидкости. Разряд вызывает появление ударной волны, которая и деформирует заготовку, придавая ей необходимую форму. Этот вид штамповки дает возмож­ность выполнять все операции холод­ной листовой штамповки с большой точностью и с сравнительно малыми за­тратами.

Магнитно - импульсная штамповка. Формирование изделий этим мето­дом происходит при создании импульсного магнитного поля вокруг заготовки и взаимодействия этого поля с импульсными токами, протекающими в заготовке. В результате такого взаи­модействия в заготовке возбуждаются вихревые токи, что приводит к образо­ванию вокруг нее также электромагнитного поля. Это создает предпосылки для динамического воздействия на за­готовку и ее дефор­мирование. Этим методом осуществляют обжатие трубных заготовок, рельеф­ную формовку, вырубку и другие операции штамповки.

 

1.10 Жидкая штамповка

 

Процесс жидкой штамповки находится на стыке двух процессов, литья и штамповки. Схема процесса жидкой штамповки показана на рис. 1.32.

Процесс начинается с получения жидкого металла, который заливают в металлическую форму (матрицу), а затем пуансоном вытесняют металл, застав­ляя его течь в зазор между пуансоном и матрицей имеющий форму отливки. Ее применяют для получения крупных тонкостенных корпусных деталей из легко­плавкого материала. Отличие штамповки жидкого металла от обычной штамповки заключается в том, что деформируемый материал затвердевает и приобретает кристалличе­ское строение в процессе штамповки.

 

 

 

а б

Рис. 1.32 - Схема процесса жидкой штамповки: а - заливка металла;

б – штамповка. 1 – жидкий металл; 2 – нижняя часть металлической формы (мат­рица); 3 – верхняя часть формы (пуансон); 4 – штамповка

 

Преимущества жидкой штамповки:

1 Отсутствие предварительной обработки исходного материала;

2 Небольшое удельное усилие и работа;

3 Возможность получения глубоких полостей малого диаметра, тонких и высоких ребер;

4 Возможность получения очень крупных штампованных поковок и запрессовки в неё различной арматуры;

5 Высокая экономичность процесса

Недостатки:

1 Быстрый износ формы (штампов), особенно при получении штампованных поковок из стали, из-за возможности схватывания жидкого металла с поверхностью штампа;

2 Сложность точной дозировки объёма и более низкое качество штампованных поковок по сравнению с изделиями, имеющими волокнистое строение.

Устранить последний недостаток жидкой штамповки позволяют другие варианты. По одному из таких вариантов в метал­лической форме получают предварительную литую заготовку, которая сразу же в горячем виде подвергается горячей объемной штамповке в открытом штампе с получением окончательной за­готовки. Такие штампованные поковки приобретают высокую плотность и высокие механические свойства благодаря интенсивному теплоотводу (в 20 раз превышающему теплоотвод обычного кокиля) и одновре­менному горячему деформированию литой структуры в период кристаллизации.

Применяется технология жидкой штамповки для изготовления дисков авто­мобильных алюминиевых колес из сплавов с низкой жидкотекучестью, обла­дающих повышенными механическими свойствами.

 

1.11 Тиксоштамповка и реоштамповка

 

В последнее десятилетие учеными и исследователями в России и за рубежом разрабатываются технологии штамповки металлов в твердожидком состоянии (тиксоштамповка и реоштамповка). Эти технологии в разной степени обеспечи­вают повышение размерной точности штамповок, коэффициента использования металла. Технология жидкой штамповки обеспечивает эти преимущества в ос­новном за счет уменьшения пористости, воздействием давления на кристалли­зующийся металл, но при этом сохраняется неоднородность химического со­става (ликвация) остаточная микропористость и дендритная микроструктура.

В технологии тиксо - и реоштамповки сохраняются и учитываются пре­имущества жидкой штамповки и устраняются её недостатки за счет существен­ного изменения микроструктуры металла: вместо дендритной формируется сфе­роидальная (глобулярная) микроструктура. Эта структура формируется специ­альным воздействием на кристаллизующийся металл, в процессе образования твердожидкой суспензии в температурном диапазоне между линиями ликвидус и солидус, то есть при температуре ниже линии расплава и выше линии затвер­девания (рис. 1.33). Значительный интерес к новой технологии штамповки в твердожидком состоянии вызван открытием свойства тиксотропности металли­ческих суспензий с глобулярной микроструктурой.

Эффект тиксотропности – способность металлических суспензий с глобу­лярной микроструктурой в твердожидком состоянии значительно снижать со­противление сдвиговым деформациям, что позволяет металлу заполнять слож­ные формы полости штампов при незначительной удельной силе.

Новизна технологий состоит в том, что процессы формообразования осу­ществляются при твердожидком состоянии металла на заготовках, в которых предварительно подготовлена глобулярная микроструктура первично кристал­лизующейся фазы.

Это требует разработки новых схем организации технологических процес­сов в заготовительных производствах. В них должно быть предусмотрено воз­действие на металл, в процессе разливки, различными средствами, препятствую­щими образованию дендритной микроструктуры с последующей штамповкой (реоштамповка) или закалка (сохранение глобулярной микроструктуры), по­вторный нагрев до образования твердожидкой фазы (суспензии) и деформиро­вание в штампах на гидропрессах с ЧПУ, или на специализированных гидроко­ленных прессах (тиксоштамповка).

Тиксотехнологии характеризуются одновременным возрастанием прочно­сти и пластичности материала поковок. А при охлаждении до температуры сус­пензии с содержанием твердой фазы более 90 %, характеризуется пластично­стью и сопротивлением деформированию подобными горячей объёмной штам­повке. Отштампованные таким способом поковки обладают высоким качеством и повышенной надежностью, существенно улучшенными критериями техноло­гичности. В результате снижается масса детали, в несколько раз уменьшаются потери металла на механическую обработку, количество штамповочных опера­ций снижается до одной, а затраты энергии на формообразование снижаются многократно.

 

 

Рис. 1.33 - Схема температурных условий формообразования металла в тик­сотехнологиях

 

Страны Европейского Союза, США, Япония широко применяют тиксотех­нологии в автомобилестроении для получения поковок из алюминиевых спла­вов, обладающих повышенным комплексом механических свойств. В тиксотех­нологиях применяют в основном литейные алюминиевые сплавы, например, А 356 и другие. Такие сплавы невозможно штамповать традиционной горя­чей объемной штамповкой, т.к. в области температур, характерных для ГОШ они обладают низкой пластичностью, но обладают благоприятными свойствами для тиксоштамповки.

Применение тиксотехнологий в России перспективно, так как она является одним из основных производителей алюминия для авиакосмической, автомо­бильной и других отраслей промышленности.

1.12 Нагревательные устройства

В современных процессах обработки металлов давлением нагрев заготовок осуществляют в пламенных и электрических печах, в установках контактного и индукционного электрического нагрева.

Нагрев в пламенных печах происходит за счет лучеиспускания, конвекции и теплопроводности металла. В электрических печах сопротивления металл на­гревается за счет лучеиспускания тепла от нагревательных элементов электро­сопротивления. В установках электроконтактного нагрева - за счет тепла, выде­ляющегося при прохождении тока через нагреваемую заготовку. В установках индукционного нагрева - за счет тепла, выделяющегося в заготовке вследствие действия вихревых токов. Основными видами топлива, используемого в пла­менных печах, являются мазут и газ, причем газообразное топливо является наиболее прогрессивным. Жидкое топливо (мазут) сжигают с помощью форсу­нок, распыляющих топливо и обеспечивающих его хорошее смешивание с воз­духом. Для сжигания газа применяют газовые горелки, которые служат для по­дачи газа и воздуха в печь и смешивания их в необходимых пропорциях.

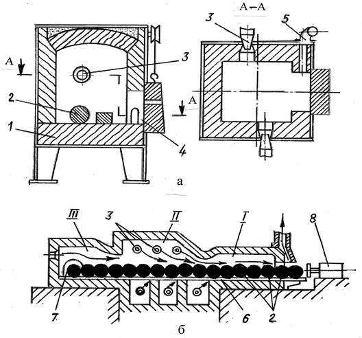
Нагревательные печи для нагрева заготовок используют двух основных типов: камерные и методиче­ские.

Камерная печь. В печи заготовки 2 укладывают на под 1, разо­гретый до температуры посадки, рис.1.34,а. После прогрева заготовок до заданной темпера­туры, их извлекают, как правило, через окно 4. Рабочее пространство печи нагревается за счет сжигания топлива с помощью форсунок или горелок 3. Продукты сгорания отводятся через дымоход 5.

Методическая печь, рис. 1.34,б. Рабочее пространство печи имеет не­сколько зон с различной температурой. Заготовки 2 проталкиваются с помощью толкателя 8 и, перемещаясь по поду печи 6, попадают сначала в первую подог­ревательную зону I (600-800 ° С), затем в зону максимального нагрева II (1250-1350 ° С), где установлены горелки 3. Зона III является зоной выдержки, в кото­рой происходит выравнивание температуры по сечению заготовки. Горячие газы движутся навстречу перемещающимся заготовкам, которые выдаются из печи через окно 7. Существенным недостатком нагрева в пламенных печах с обычной атмо­сферой является обезуглероживание поверхности стальных заготовок и высокий угар металла, что связано с большими потерями металла (до 3 - 4 % от общей массы нагреваемого металла за один цикл нагрева). Для уменьшения потерь металла применяют защитные атмосферы.

Рис. 1.34 - Нагревательные печи: а - камерная; б - методическая

Электропечи сопротивления. Конструктивно они такие же, как и пламен­ные, но в качестве нагревателей используют металлические или карборундовые (силитовые) элементы сопротивления, подключающиеся к силовой электриче­ской сети. Сопротивления, нагреваясь, излучают теплоту, которая передается стенкам печи и заготовкам, находящимся на поду. Явным преимуществом таких печей является возможность точного регулирования температуры рабочего про­странства. Однако при температурах, необходимых для нагрева стали, стойкость элементов сопротивления низка. Поэтому используют их в основном для на­грева под обработку давлением цветных сплавов.

Индукционное электронагревательное устройство, рис. 1.35,а. Заготовку 1 помещают внутрь многовиткового соленоида (индуктора) 2, выполненного из медной трубки. По индуктору пропускают переменный ток, и в заготовке, ока­зывающейся в переменном электромагнитном поле, возникают вихревые токи, под действием которых и происходит разогрев заготовки.

Преимущества индукционного нагрева: высокая скорость, в несколько раз превышающая скорость нагрева в печах; почти полное отсутствие окалины и обезуглероживания; возможность повышения температуры начала ОМД без по­явления перегрева; удобство автоматизации подачи и выдачи заготовок; улуч­шение условий труда.

К недостаткам следует отнести: меньшую универсальность, т. к. для загото­вок разных размеров нужно применять разные индукторы; высокую стоимость электроустановок и электроэнергии. Поэтому индукционный нагрев применяют в цехах крупносерийного производства поковок.

Устройство электроконтактного нагрева, рис.1.35,б. В устройствах концы заготовки 1 зажимают между медными контактами 3, к которым подводится ток большой силы. При прохождении тока через заготовку в ней, из-за ее электриче­ского сопротивления, выделяется теплота, пропорциональная квадрату силы тока. Контактный нагрев обладает теми же достоинствами, что и индукционный.

Рис. 1.35 - Схемы электронагревательных устройств: а - индукционный;

б – контактный; 1 – заготовка; 2 – нагревательные элементы; 3 – контакты

 

В настоящее время при разработке оборудования и технологических про­цессов ОМД используют ряд программ, например Quantor Form (разработана в ЦНИИТМАШе). Эффективное применение моделирования при разработке тех­нологии ОМД, приводит к значительному экономическому эффекту.

 

1.13 Требования к материалам поковок и штампованных поковок в энергетическом машиностроении

 

Поковки и штампованные поковки должны изготавливаться в соответствии с требова­ниями конструкторской и НД и соответствовать ГОСТ 7062, ГОСТ 7505, ГОСТ 7829, ГОСТ 8479.

Исходным материалом для изготовления поковок могут служить слитки, обжатые болванки, кованые или катаные заготовки, а также заготовки с устано­вок непрерывной разливки стали и различные виды проката. Размеры поковок должны учитывать припуски на обработку резанием, допуски на размеры и технологические напуски для поковок, изготавливаемых ковкой на прессах по ГОСТ 7062, ковкой на молотах по ГОСТ 7829 и горячей штамповкой по ГОСТ 7505, а также напуски на пробы для контрольных испытаний.

На поверхностях поковок не должно быть трещин, плен, песочин. На необ­рабатываемых поверхностях поковок допускаются вмятины и забоины, а также пологая вырубка или зачистка дефектов при условии, что глубина указанных дефектов не выходит за пределы наименьших допускаемых размеров поковок по ГОСТ 7062.

На обрабатываемых поверхностях поковок допускаются отдельные де­фекты без удаления, если их глубина, определяемая контрольной вырубкой или зачисткой, не превышает 75 % фактического одностороннего припуска на обработку резанием для поковок, изготавливаемых ковкой и 50 % изготавли­ваемых штамповкой. Поковки не должны иметь трещин, усадочной рыхлости.

Режим термической обработки легированных и углеродистых сталей уста­навливается предприятием - изготовителем и должен соответствовать

ГОСТ 8479..

Поковки, прошедшие после термической обработки правку в холодном или подогретом состоянии, должны быть подвергнуты отпуску для снятия внутрен­них напряжений. Все поковки из легированных и углеродистых сталей с содер­жанием углерода выше 0,25 % и все поковки для деталей, подлежащих даль­нейшей термической обработке, должны подвергаться отжигу или нормализа­ции. Число повторных термических обработок не должно быть более двух.

Испытание поковок на твердость следует производить в соответствии с требованиями ГОСТ 9012. Испытание на ударный изгиб производить в соот­ветствии с ГОСТ 9454.

Каждая поковка должна иметь маркировку. Место маркировки указывается на чертежах детали. Маркировка должна соответствовать ГОСТ 8479.

2 обработка металлов резанием

 

Настоящий раздел учебного пособия базируется на терминах и определениях, приведенных в следующей НД:

- ГОСТ 3.1109 - 82 ЕСТД Термины и определения основных понятий;

- ГОСТ 25751 - 83 Инструменты режущие. Термины и определения общих понятий;

- ГОСТ 25761 - 83 Виды обработки резанием. Термины и определения общих понятий;

- ГОСТ 25762 - 83 Обработка резанием. Термины, определения и обозначения общих понятий.

 

2.1 Общие понятия в обработке резанием

 

Резание материалов является разновидностью механической обработки.

Обработка резанием – обработка, заключающаяся в образовании новых поверхностей отделением поверхностных слоёв материала с образованием стружки.. Стружка – деформированный и отделённый в результате обработки резанием поверхностный слой материала заготовки.

Под обрабатываемой поверхностью понимают поверхность заготовки, которая частично или полностью удаляется при обработке. Под обрабо­танной поверхностью понимают поверхность, образованную на заготовке в результате обработки.

Черновая обработка – обработка резанием, при которой снимается основная часть припуска.

Припуск – слой материала, удаляемый с поверхности заготовки в целях достижения заданных свойств обрабатываемой поверхности.

Чистовая обработка – обработка, в результате которой достигаются заданные точность размеров и шероховатость обрабатываемых поверхностей.

Шероховатость поверхности – совокупность неровностей, образующих микрорельеф поверхности детали.

Обработку резанием осуществляют на металлорежущих станках с помощью режущих инструментов.

Металлорежущий станок – станок, предназначенный для размерной обработки металлических заготовок путём снятия материала.

Режущий инструмент – инструмент для обработки резанием.

 

Виды обработки резанием:

- лезвийная обработка (обработка, осуществляемая лезвийным инструментом);

- абразивная обработка (обработка, осуществляемая множеством абразивных зёрен);

- отрезание (обработка, заключающаяся в отделении заготовки в качестве части от целого вдоль одной её стороны);

- вырезание (обработка, заключающаяся в отделении заготовки в качестве части от целого вдоль двух или нескольких её сторон);

- разрезание (обработка, заключающаяся в разделении заготовки на части);

- резьбонарезание (обработка, заключающаяся в образовании резьбы);

- зубонарезание (обработка, заключающаяся в образовании зубьев);

- затылование (обработка, заключающаяся в образовании задних поверхностей лезвий затылованных зубьев).

Движения, которые обеспечивают резание материала или вызывают изменение поверхностного слоя заготовки, различают по видам:

- главное движение резания (ГДР) - прямолинейное поступательное или враща­тельное движение заготовки или режущего инструмента, происходящее с наибольшей скоростью в процессе резания (обозначение Dг);

- движение подачи - прямолинейное поступательное или вращательное движе­ние режущего инструмента или заготовки, скорость которого меньше скоро­сти главного движения резания, предназначенного для того, чтобы распро­странить отделение слоя материала на всю обрабатываемую поверхность (обозна­чение Ds);

- подача - отношение расстояния, пройденного рассматриваемой точкой режу­щей кромки или заготовки вдоль траектории этой точки в движении подачи, к соответствующему числу циклов или определенных долей этого другого движе­ния во время резания или к числу определенных долей цикла другого движения (обозначение S);

- скорость движения подачи - скорость рассматриваемой точки режущей кромки в движении подачи (обозначение Vs);.. - цикл движения - полный оборот, ход или двойной ход режу­щего инструмента или заготовки. Долей цикла является часть оборота, соответст­вующая угловому шагу зубьев режущего инструмента;

- ход - движение в одну сторону при возвратно - поступатель­ном движении;

- подача на оборот - подача, соответствующая одному обороту инструмента или заготовки (обозначение S0);

- подача на ход - подача, соответствующая одному ходу заготовки или инстру­мента (обозначение Sx);

- подача на зуб - подача, соответствующая повороту инструмента или заго­товки на один угловой шаг режущего инструмента (обозначение Sz).

- подача на двойной ход - подача, соответствующая одному двойному ходу за­готовки или инструмента (обозначение S2x).

- скорость главного движения резания - скорость рассматриваемой точки ре­жущей кромки или заготовки в главном движении резания (обозначение V).. - глубина резания - толщина снимаемого слоя металла, измеренная по перпендикуляру к обработанной поверхности заготовки, за один рабочий ход инструмента относительно обрабатываемой поверхности (обозначение t).

2.2 Процесс образования стружки

Процесс резания (стружкообразования) является сложным физическим процессом, сопровождающимся большим тепловыделением, деформацией металла, износом режущего инструмента и наростообразованием на резце. При резании различных материалов образуются следующие основные типы стружек: сливная (непрерывная), скалывания (элементная) и надлома.

 

а б в

Рис. 2.1 - Типы стружек при обработке резанием: а – сливная; б - скалывания; в - надлома

Сливная стружка - образуется при резании пластичных металлов (низкоуглеродистая сталь, латунь и др.) с высокими скоростями резания и малыми подачами.. Стружка скалывания - состоит из отдельных элементов, связанных друг с другом и имеет пилообразную поверхность. Такая стружка образуется при обработке высокоуглеродистых и легированных сталей и некоторых видов латуни с малыми скоростями резания и большими подачами. С изменением условий резания стружка скалывания может перейти в сливную и наоборот.

Стружка надлома - образуется при резании низкопластичных материалов (чугун, бронза) и состоит из отдельных кусочков.

При обработке металлов, особенно пластичных, в непосредственной близости к режущей кромке резца на переднюю поверхность резца налипает обрабатываемый материал, образуя металлический нарост, имеющий клиновидную форму и по твердости в 2-3 раза превышающий твердость обрабатываемого материала. Являясь как бы продолжением резца, нарост изменяет геометрические параметры резца, участвует в резании металла и оказывает влияние на результаты обработки, износ резца и силы, действующие на резец. При обработке нарост периодически скалывается и вновь образуется; отрыв частиц нароста по длине режущего лезвия происходит неравномерно, что приводит к мгновенному изменению глубины резания. Эти явления, повторяющиеся периодически, увеличивают шероховатость обработанной поверхности. С увеличением пластичности обрабатываемого металла размеры нароста возрастают.

<== предыдущая лекция | следующая лекция ==>
Волочение – процесс деформирования металла путём его протягивания через отверстие в волоке, имеющее меньшее поперечное сечение, чем заготовка | Штифтовые соединения
Поделиться с друзьями:


Дата добавления: 2014-01-04; Просмотров: 1367; Нарушение авторских прав?; Мы поможем в написании вашей работы!


Нам важно ваше мнение! Был ли полезен опубликованный материал? Да | Нет



studopedia.su - Студопедия (2013 - 2026) год. Все материалы представленные на сайте исключительно с целью ознакомления читателями и не преследуют коммерческих целей или нарушение авторских прав! Последнее добавление




Генерация страницы за: 0.017 сек.