Студопедия

КАТЕГОРИИ:


Архитектура-(3434)Астрономия-(809)Биология-(7483)Биотехнологии-(1457)Военное дело-(14632)Высокие технологии-(1363)География-(913)Геология-(1438)Государство-(451)Демография-(1065)Дом-(47672)Журналистика и СМИ-(912)Изобретательство-(14524)Иностранные языки-(4268)Информатика-(17799)Искусство-(1338)История-(13644)Компьютеры-(11121)Косметика-(55)Кулинария-(373)Культура-(8427)Лингвистика-(374)Литература-(1642)Маркетинг-(23702)Математика-(16968)Машиностроение-(1700)Медицина-(12668)Менеджмент-(24684)Механика-(15423)Науковедение-(506)Образование-(11852)Охрана труда-(3308)Педагогика-(5571)Полиграфия-(1312)Политика-(7869)Право-(5454)Приборостроение-(1369)Программирование-(2801)Производство-(97182)Промышленность-(8706)Психология-(18388)Религия-(3217)Связь-(10668)Сельское хозяйство-(299)Социология-(6455)Спорт-(42831)Строительство-(4793)Торговля-(5050)Транспорт-(2929)Туризм-(1568)Физика-(3942)Философия-(17015)Финансы-(26596)Химия-(22929)Экология-(12095)Экономика-(9961)Электроника-(8441)Электротехника-(4623)Энергетика-(12629)Юриспруденция-(1492)Ядерная техника-(1748)

Типы желобов наружного водостока




Желоба

КРЫШИ

Вопросы для самопроверки

  1. Дайте классификацию валют по статусу.
  2. В каком случае валюта считается свободно конвертируемой?
  3. Какие валюты и почему считаются резервными?
  4. Какие факторы и как влияют на валютный курс?
  5. Как изменение курса национальной валюты влияет на конкурентоспособность национальных производителей?
  6. Какие цели преследуют субъекты валютного рынка?
  7. В чем состоят особенности современного мирового валютного рынка?
  8. Что такое валютная политика государства, и каковы ее цели?
  9. Охарактеризуйте формы валютной политики государства.

 

 

. Крыша - это верхняя ограждающая конструкци здания, одновременно выполняющая несущие, гидроизолирующие, а при бесчердачных (совмещенных) крышах и теплых чердаках, еще и теплоизолирующие функции.
Крыша - один из главных элементов здания, защищающий ее от воздействий извне: дождя, снега, мороза, солнечной радиации, пыли, вредных веществ и др. Она должна выдерживать ветровые и снеговые нагрузки и соответствовать противопожарным нормам, а кроме того, выполнять декоративные функции.
Кровля - это верхний элемент крыши (покрытия), предохраняющий здание от проникновения атмосферных осадков.
Чердак - это пространство между поверхностью покрытия (крыши), наружными стенами и перекрытием верхнего этажа. Он надежно защищает дом от холода, обеспечивает вентиляцию и проветривание конструктивных элементов крыши. С конструктивной точки зрения, чердак значительно повышает надежность и долговечность крыши, однако, увеличивает стоимость здания по сравнению с домом, имеющим мансарду.
Мансарда - этаж в чердачном пространстве, фасад которого полностью или частично образован поверхностью (поверхностями) наклонной или ломаной крыши, при этом линия пересечения плоскости крыши и фасада должна быть на высоте не более 1,5 м от уровня пола мансардного этажа. Внутреннее пространство дома при этом используется максимально, отчего стоимость здани существенно уменьшается.
Крыши устраивают чердачные и бесчердачные. В бесчердачных крышах последняя выполняет одновременно и функции чердачного перекрытия; в этом случае крышу называют покрытием, или совмещенной крышей.
Крыша бывает утеплённая или холодная. Чердачные крыши для большинства зданий выполняют холодными. Холодная крыша защищает здание только от атмосферных осадков; теплозащита помещений верхнего этажа обеспечивается (в случае необходимости) чердачным перекрытием. Бесчердачные крыши могут быть холодными (над неотапливаемыми строениями) и теплыми (над отапливаемыми зданиями).


ПО ФОРМЕ КРЫШИ ДЕЛЯТСЯ НА СКАТНЫЕ И ПЛОСКИЕ.
1.Плоская крыша - крыша, имеющая уклон менее 2,5 %. Может быть эксплуатируемой.
2.Скатная крыша - крыша, имеющая уклон более 2,5 %.
Скатные крыши подразделяются на: Односкатные, опирающиеся на две наружные стены разной высоты. Чаще всего она используется на вспомогательных зданиях, сооружениях простой конструкции, производственных или складских корпусах. Скат крыши обращают к наветренной стороне, защищая тем самым здание от ветра, дождя и снега. Они самые экономичные и удобные и позволяют максимально использовать внутреннее пространство здания, могут служить потолком в хозяйственных постройках (гаражах, сараях, банях и т. д.), не требующих его строгой горизонтальности.

Двухскатные, опирающиеся на две наружные стены равной высоты. Cостоят из двух скатов, направленных в противоположные стороны. Треугольные торцовые стены, образующиеся при этой форме, называются щипцами и фронтонами. Является самой распространенной классической конструкцией крыши. Существуют варианты крыш с висячими стропильными фермами или с наклонными стропилами. К многочисленным вариантам этого типа отнесят крыши с равномерным или неравномерным углом наклона или же размером свеса.

Вальмовая крыша - четырехскатная крыша с треугольными скатами (вальмами) от конька до карниза по торцовым сторонам. Если вальма не доходит до карниза, крыша называется полувальмовой. Характерные черты - наличие слуховых окон. Иногда четырехскатные кровли выполняются в виде полувальмовых. В этом случае боковые скаты (полувальмы) срезаются и имеют по линии уклона меньшую длину, чем основные скаты. Полувальмовые крыши применяют для защиты фронтона от неблагоприятных внешних воздействий, лучше всех выдерживает ветровые нагрузки, но очень трудоемка, и ее строительство требует определенных профессиональных навыков.

Шатровые, четыре ската которых выполнены в виде одинаковых треугольников, сходящихся в одной точке; Шатер, шатровое покрытие- завершение центрических построек (храмов, колоколен, башен) в виде высокой четырехгранной, восьмигранной или многогранной пирамиды. Распространено в русском каменном зодчестве с XVI в.. В культовых сооружениях шатер обычно увенчивался луковичной главой, в гражданской и военной - дозорной вышкой, флюгером.

Ломаные (мансардные), двухскатные, каждая плоскость которых представляет собой два прямоугольника, соединенных между собой под тупым углом. При необходимости использования чердачного помещения для сушки белья, хранения домашней утвари или устройства мансарды крышу жилого дома делают двухскатной или ломаной.
ЭЛЕМЕНТЫ КРЫШИ
1. несущая конструкция, состоящая из деревянных балок, стропил или сборных ферм, состоящих из верхнего и нижнего поясов и заключенной между ними решетки из скосов и подкосов;
2. основания под кровлю;
3. гидро- и теплоизоляционный слой;
4. кровля.
Стропила. Несущими конструкциями чердачных малоэтажных крыш являются стропила, которые бывают наслонными и висячими. Крыши с наслонными стропилами устраивают в домах, имеющих опорные стены. Пролет между опорами может достигать 4,5 м. При пролете от 5 до 6 м под стропила ставят подкосы. Конструкция крыши выбирается с учетом уклона кровли, длины перекрываемого пролета, сечения стропил и обрешетки, вида кровельного материала и величины снегового покрова.
Наслонные стропила:
Наслонные стропила более просты по конструкции и экономичны, однако для их применения необходимо наличие внутренних стен или несущих перегородок. Эти стропила состоят из пары отдельных наклонных стропильных ног, опирающихся нижним концом на верх стен, а верхними, соединенными друг с другом концами, - на прогон, поддерживаемый стойками. Опорой для стоек служат несущие внутренние стены или перегородки. Наслонные стропильные ноги делают из бревен толщиной 13-20 см, из пластин 15/2- 20/2 см или досок толщиной не менее 5 см. Стропила располагают на расстоянии от 1 до 1,5 м друг от друга. Для уменьшения прогиба стропильных ног при недостаточной их толщине ставят подкосы из бревен толщиной 13-15 см, брусьев или парных досок, а в некоторых случаях (при несимметричных внутренних опорах)- ригели (повышенные затяжки) из пластин сечением не менее 13X2 см, а также из брусьев или парных досок.
Висячие стропила:
используются в том случае, когда пролет крыши составляет 7-12 м и при отсутствии промежуточных опор, а также в домах со стенами из сырцовых материалов. Простейшие висячие стропила состоят из стропильных ног (верхнего пояса) и затяжки (нижнего пояса), соединенных между собой врубками, поковками и гвоздями. Для предупреждения прогибов стропильных ног (при недостаточной их толщине) между ними вводят ригель. При пролетах более 6 м висячие стропила делаются со стойкой (бабкой) посредине, к которой на стальном хомуте подвешивается затяжка. Висячие стропила изготовляют из бревен, брусьев или досок. Подстропильные лежни (мауэрлаты), лежни под стойки и другие части стропил, соприкасающиеся со стенками из каменных и сырцовых материалов, изолируются от них посредством осмолкиилипрокладки толя. Для мауэрлата, который устраивается с целью равномерного распределения веса от крыши по всей стене, отбирают бревна толщиной не менее 18 см. В местах прохождения дымовых труб расстояние от стропильных ног до дымового канала должно быть не менее 40 см.
Основание под кровлю
из штучных или рулонных материалов может быть выполнено в виде обрешетки или сплошного настила. В первом случае для его изготовления используются деревянные бруски, во втором - деревянные бруски и доски.
1. Сплошной настил делается в том случае, когда в качестве покрытия используются асбестоцементные плитки или рулонный материал. Под плитки доски настила выкладывают с небольшим зазором (не более 10 мм) в один слой, под рулонный материал - в два слоя: рабочий и защитный.
Узкие доски защитного слоя должны находиться под углом 45 градусов к рабочему. Между настилами помещают противоветровую прокладку из рубероида.
2. Обрешетка применяется в том случае, когда кровельное покрытие делается из волнистых асбестоцементных листов (шифера), листовой стали, черепицы или дерева.
При изготовлении основания необходимо соблюдать два основных требования: все его элементы должны быть плотно закреплены на несущих конструкциях, а их стыки над стропилами располагаться в разбежку. Заданное расстояние между досками или брусками - обрешетинами - должно строго соблюдаться по всей поверхности основания. Самые широкие из них необходимо располагать под стыками кровельного материала, а также у конька и карниза, а самые толстые (на 15-35 мм толще других) - у карниза. Ширина основания под разжелобком должна составлять не менее 750-800 мм, а под карнизным свесом с настенными желобами - равняться ширине свеса. В коньках и на ребрах кровли деревянные бруски устанавливаются на ребро.

Водоотводы. Отвод воды с кровель чердачных крыш (дождевой и талой) бывает неорганизованным и организованным. При неорганизованном водоотводе вода стекает с кровли на всем ее протяжении. Такой водоотвод допускается лишь в малоэтажных домах при условии, что стекающая вода не попадает на тротуары. При организованном водоотводе - вода, стекающая с кровли, по желобам отводится к наружным водосточным трубам. Различают три вида желобов: настенные, подвесные и выносные (рис1).

Устройство водостока со скатных крыш

 

Рис. 1. Устройство водостока со скатных крыш:

а - настенный желоб; б - железобетонный карниз-желоб; в - сливной карниз с подвесным желобом (1 - кровля; 2 - настенный желоб; 3 - крюк; 4 - воронка; 5 - водосточная труба; 6 - подвесной желоб; 7 - оклеечная гидроизоляция; 8 - кровельная сталь; 9 - глухарь; 10 - стойка перил с подкосом; 11 - ограждающие стержни, или полосы); г - воронка внутреннего водостока (1 - чаша воронки; 2 - прижимное кольцо; 3 - крышка; 4 - крепежный винт; 5 - стеклопласт; 6 - асбестоцементная труба; 7 - утеплитель; 8 - эластичная прокладка; 9 - фланец; 10 - прижимной винт).

Водосточные трубы изготовляются из кровельной стали толщиной 0,5...0,6 мм и состоят из верхней воронки и трубы, составленной из отдельных звеньев и имеющей перегибы вверху у воронки и внизу у отмета. Трубы изготавливают диаметром 105, 140 и 215 мм. Диаметр верхней части воронки должен в 2...2,5 раза превышать диаметр трубы. Крепление водосточных труб к стенам производится при помощи ухватов, располагаемых на высоте через 1...1,5 м и прочно заделанных в стены. При внутренних водостоках на крыше устанавливаются специальные водоприемные воронки, соединенные с чугунными стояками, проходящими внутри здания и отводящими воду в подземную ливневую сеть или канализацию.

Чугунная воронка внутреннего водостока состоит из чаши воронки, прижимного кольца, колпака или крыши, закрепляющего устройства (см. рис.1). Водоприемные воронки устанавливают в ендовах. Расположенные внутри здания трубы отводят атмосферную воду в ливневую канализацию. Расстояние между воронками зависит от длины ската. Площадь кровли, приходящаяся на одну воронку, не должна превышать 800...1200 м2. Необходимые продольные уклоны для стока воды к воронкам в ендовах создаются за счет переменной толщины укладываемого в них слоя легкого бетона. Продольный уклон должен быть не менее 1°. Водоприемные воронки внутренних водостоков делают из чугуна. Воронка состоит из трех основных частей: патрубка, входящего в верхний конец и заделанного в конструкцию покрытия, корпуса с отверстиями для приема стекающей с кровли воды и крышки или колпака с отверстиями. Каждую воронку присоединяют к трубе (стояку) диаметром не менее 100 мм. В местах установки воронки в покрытии предусматривают отверстия размером 400х400 мм, в которое вставляют чашеобразный чугунный поддон с отверстием для патрубка воронки. При установке патрубка в поддон участки между его стенками и воронкой заливают горячей битумной мастикой, стеклотканью или мешковиной, пропитанной битумом, и заводят в нее края кровли. Корпус воронки устанавливают в патрубке поверх кровли и в нижней части также заливают битумом.

 

Рис.2.

Рис.3.

Рис.4. Конструктивные схемы и узлы двускатных дощатых крыш:
а, б —висячие стропила (фермы) для одноэтажных однопролетных зданий; в — наслонные стропила для одноэтажных двухпролетных зданий; г — висячие стропила (термы) для мансардных однопролетных зданий; д—то же с ломаной крышей; е — то же для мансардных двухпролетных зданий

Рис.5. Формы крыш:

а — односкатная; б — двускатная; в — ломаная; г—вальмовая; д—шатровая; е — многощипцовая

 

 

Рис.6.

Элементы крыши: 1 - скаты; 2 - конек; 3 - наклонное ребро; 4 - разжелобок; 5 - карнизный свес; 6 - фронтонный свес; 7 - желоб; 8 - водосточная труба; 9 - дымовая труба.

 

 

Рис.7.

Висячие стропила: 1 - раскос; 2 - одинарная затяжка; 3 - доска-накладка; 4 - подкладка; 5 - наружная стена; 6 - накладка.

Рис.8.

Наклонные стропила: 1 - раскос; 2 - мауэрлат; 3 - скрутка; 4 - наружная стена; 5 - внутренняя стена; 6 - врубка; 7 - лежень; 8 - рубероид.

Рис.9.

Фрагмент плана стропил вальмовой крыши:

1 – стена; 2 – подстропильный брус; 3 – коньковый брус; 4 – накосная подстропильная нога (брус);5 – стропило; 6 – нарожник (укороченное стропило); 7 – кобылка; 8 – каркас слухового окна

Рис.10. Стропильные конструкции односкатных крыш:

1 – стена; 2 – перекрытие; 3 – стропило; 4 – подстропильный брус; 5 – стойка;

6 – стойка шпренгеля; 7 – подкос; 8 – пристенная стойка

 

Рис.11. Конструкции ферм для индивидуальных домов: 1 - двухскатная ферма; 2 - ферма со сложной формой верхнего пояса; 3 - ферма-ножницы; 4 - сводчатая ферма; 5 - мансардная ферма.

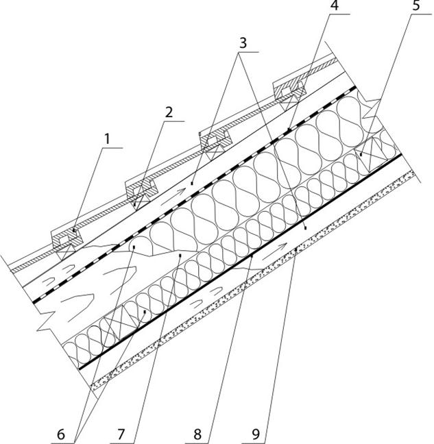
Рис12.Схема устройства двухъярусного мансардного этажа.

1 - кровельное покрытие и гидроизоляция; 2 - сплошная обрешётка покрытия; 3 - контробрешётка;4 - обрешётка; 5 - ветрозащита; 6 – утеплитель минераловатный; 7,13 - пароизоляция;8,14 - облицовка; 9 - половая доска; 10 - лаги; 11 - балка перекрытия; 12 - звукоизоляция минераловатная

Рисю 13.

Рис.14.

 

 

Рис. 15.

Рис. 16.

 

 

рис.17.

Виды ферм: 1 – ферма-ножницы; 2 – ферма с трехсегментным нижним поясом; 3 – ферма-балка для односкатных крыш; 4, 5, 6 – готовые мансардные фермы

Рис.18.

 

 

• 1 -Кровельное покрытие

• 2- Контробрешетка

• 3-Проставочный брусок

4-Гидроизоляция

• 5-Теплоизоляция

• 6-Стропило

• 7-Пароизоляция

• 8-Внутренняя отделка

С утеплителем, размещенным между стропилами

 

Рис.19.

• 1-Кровельное покрытие

• 2-Контробрешетка

• 3-Проставочный брусок

• 4-Гидроизоляция

• 5-Обрешетка для теплоизоляции

• 6-Теплоизоляция

• 7-Стропило

• 8-Пароизоляция

• 9-Внутренняя отделка мансарды

С утеплителем, размещенным между стропилами и в каркасе над стропилами

рис.20.

• 1-Кровельное покрытие

• 2-Контробрешетка

• 3-Проставочный брусок

• 4-Гидроизоляция

• 5-Обрешетка для теплоизоляции

• 6-Теплоизоляция

• 7-Стропило

• 8-Пароизоляция

• 9-Внутренняя отделка мансарды

С утеплителем, размещенным между стропилами и в каркасе под стропилами

Рис.21.


наружный организованный водосток

Наружный организованный водосток представляет собой систему водоотвода, которая устраивается снаружи дома. Наружный водосточные системы применяются для отвода воды со скатных кровель (с уклоном более 15%). Этот водоотвод состоит из водосточных желобов с продольным уклоном не менее 2% и наружных водосточных труб. Система работает следующим образом:

Вода со скатов крыши, попадает в желоба, оттуда - в водозаборные воронки, которые располагаются у карнизных свесов на расстоянии 12-20 м друг от друга, а затем отводится по водосточным трубам, которые закреплены на наружных стенах здания, в дренажный колодец или ливневую канализацию (вариантом может стать большая бочка).

Достоинства наружного организованного водостока:

- обеспечивает защиту кровли, стен дома и фундамента от воздействия осадков

Недостатки наружного водостока:

• скатывающийся с крыши снег может срывать с креплений водосточные желоба

В таком случае желоб устанавливают так, чтобы его наружный край не оказался выше плоскости, которая продолжает поверхность ската кровли. Середина желоба при этом должна находится на вертикали прямо под краем карнизного слива, чтобы вся вода стекала в желоб - см. на рис.:


установка желоба

• система может деформироваться от действия ветра, от механических ударов.

• без подогрева зимой вся водосточная система может промерзнуть и ее может "порвать".

Наружная система отвода воды с крыши состоит из:


наружная система отвода воды с крыши

• желоба

• водоприемной воронки,

• труб

• карнизные водосточные желоба, они устанавливаются вдоль карнизного свеса.


карнизный желоб

• парапетные водосточные желоба встречаются в старых домах, они собирают воду в желоб, расположенный между двумя парапетными стенами (такие архитектурные решения в современном частном строительстве встречаются достаточно редко). Парапетный желоб является конструктивным элементом крыши. Желоб создают из металла, или же выемка, куда поступает с крыш вода, покрывается битумным материалом. Вода подается в водослив. (рис).

 


парапетный желоб

• разжелобковые водосточные желоба направляют воду в карнизные или парапетные водостоки. Они являются разновидностью сливов в местах соединений скатов крыши.

 


разжелобковый водосточный желоб




Поделиться с друзьями:


Дата добавления: 2014-01-04; Просмотров: 7151; Нарушение авторских прав?; Мы поможем в написании вашей работы!


Нам важно ваше мнение! Был ли полезен опубликованный материал? Да | Нет



studopedia.su - Студопедия (2013 - 2026) год. Все материалы представленные на сайте исключительно с целью ознакомления читателями и не преследуют коммерческих целей или нарушение авторских прав! Последнее добавление




Генерация страницы за: 0.01 сек.