Студопедия

КАТЕГОРИИ:


Архитектура-(3434)Астрономия-(809)Биология-(7483)Биотехнологии-(1457)Военное дело-(14632)Высокие технологии-(1363)География-(913)Геология-(1438)Государство-(451)Демография-(1065)Дом-(47672)Журналистика и СМИ-(912)Изобретательство-(14524)Иностранные языки-(4268)Информатика-(17799)Искусство-(1338)История-(13644)Компьютеры-(11121)Косметика-(55)Кулинария-(373)Культура-(8427)Лингвистика-(374)Литература-(1642)Маркетинг-(23702)Математика-(16968)Машиностроение-(1700)Медицина-(12668)Менеджмент-(24684)Механика-(15423)Науковедение-(506)Образование-(11852)Охрана труда-(3308)Педагогика-(5571)Полиграфия-(1312)Политика-(7869)Право-(5454)Приборостроение-(1369)Программирование-(2801)Производство-(97182)Промышленность-(8706)Психология-(18388)Религия-(3217)Связь-(10668)Сельское хозяйство-(299)Социология-(6455)Спорт-(42831)Строительство-(4793)Торговля-(5050)Транспорт-(2929)Туризм-(1568)Физика-(3942)Философия-(17015)Финансы-(26596)Химия-(22929)Экология-(12095)Экономика-(9961)Электроника-(8441)Электротехника-(4623)Энергетика-(12629)Юриспруденция-(1492)Ядерная техника-(1748)

Окна промышленных зданий




Форму, размеры и места расположения оконных проемов в промышленных зданиях выбирают на основании светотехнического расчета в целях обеспечения нормативного освещения для работающих и технологического процесса.

При проектировании естественного освещения здания учитывают ряд факторов: назначение здания, особенности микроклимата помещений, климатические условия района строительства и др.

Световые проемы предусматривают в стенах (естественное боковое освещение) здания виде отдельных окон или лент (одна или несколько лент по высоте) и при необходимости в покрытии (верхнее освещение через фонари).

Окна должны обеспечивать необходимую освещенность, воздухообмен, теплозащиту здания, быть долговечными, прочными и эстетичными.

В промышленных одноэтажных зданиях окна занимают значительную площадь в ограждающих стеновых конструкциях, поэтому при назначении их размеров должны учитываться и экономические факторы.

Сплошное остекление целесообразно для зданий с избыточным выделением тепла, а также для зданий с взрывоопасными производствами.

Конструкции окон испытывают как силовые, так и несиловые воздействия. К нагрузкам силового характера относят ветровые, снеговые, а также монтажные нагрузки. К несиловым воздействиям относятся: температурно-влажностные деформации, шум, солнечная радиация, пыль, атмосферные осадки, агрессивные химические примеси воздушной среды и т.п.

Остекление в окнах может быть одинарным, двойным или тройным.

Номинальные размеры оконных проемов по ширине и высоте принимают кратными 600 мм. Расстояние от уровня чистого пола здания до низа проема назначают 1,2 м, 1,8 м и более. Заполнение светопроемов осуществляют отдельными переплетами или панелями полной заводской готовности.

По материалу окна делят на: деревянные, железобетонные и металлические.

Металлические окна со стальными переплетами. Каркас таких окон представляет собой вертикальные импосты, расположенные через 1,5 – 2 м, которые приваривают к закладным элементам перемычечных панелей. К импостам на болтах крепят глухие переплеты или рамы с открывающимися фрамугами: верхней, средней или нижней подвески.

Переплеты изготавливают из прокатных профилей на сварке. Жесткость окон обеспечивают импостами и рамами (уголками по периметру). При высоте проема более 8,4 м предусматривают ветровые ригели из швеллеров и уголков.

Окна с переплетами из спаренных труб и из гнутых профилей применяют для помещений с сухим и нормальным температурно-влажностным режимом при отсутствии агрессивных сред; окна с переплетами из одинарных труб – для помещений со среднеагрессивной средой.

Для заполнения окон применяют стекло толщиной 4 мм и клееные стеклопакеты толщиной 32 мм. Одинарное остекление и стеклопакеты крепят к переплетам с помощью резиновых профилей.

Стальные окна выполняют и из готовых стальных панелей. Оконные панели соединяют между собой стальными планками и болтами, а с колоннами – аналогично соединениям стеновых панелей. Панели нижнего яруса устанавливают на цоколь по слою из цементно-песчаного раствора. Вертикальные швы закрывают нащельником, а горизонтальные – заполняют мастикой и закрывают стальными сливами. Стекла к переплетам крепят резиновыми профилями или алюминиевыми штапиками

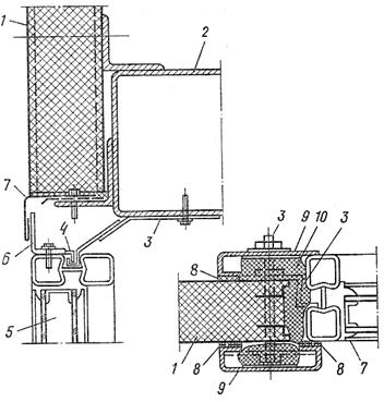
Хорошими технико-экономическими показателями обладают проемы из переплетов и оконных панелей, выполненных из спаренных тонкостенных труб. В таких проемах высотой более 3,6 м устраивают ветровые ригели, которые крепят к колоннам каркаса или простеночным панелям. Переплеты крепят к закладным элементам и ветровым ригелям через 1,5 м. Швы между оконными панелями заполняют резиновыми профилями, гернитовыми шнурами, тиоколовой мастикой и снаружи закрывают алюминиевым нащельником (рис.1).

Стальные заполнения оконных проемов обладают достаточной прочностью, хорошей светопрозрачностью. К их недостаткам следует отнести коррозию.

1 – стеновая панель;

2 – ригель;

3 – крепежный элемент;

4 – планка на переплете;

5 – окно;

6 – уголок;

7 – слив;

8 – уплотнитель;

9 – нащельник;

10 - утеплитель

Рис. 1. Сопряжение стальных переплетов со стенами

Алюминиевые переплеты имеют теплотехнические характеристики практически не отличающиеся от характеристик аналогичных окон со стальными переплетами. Алюминиевые окна предназначены для зданий с сухим и нормальным температурно-влажностным режимом при отсутствии агрессивных сред.

Унифицированные конструкции алюминиевых окон изготавливают с одинарным остеклением, с двойным остеклением стеклопакетами в одинарном переплете с термокладышем, двойным и тройным остеклением (стеклопакеты и стекло) в раздельных переплетах.

Максимальная высота оконных проемов с алюминиевыми переплетами не должна превышать 7,2 м. Окна крепят к ригелям. Вес окон и ветровая нагрузка воспринимается ригелями и цокольными панелями.

Окна состоят из алюминиевой коробки и створок, изготавливаемых из алюминиевых профилей. Стекла и стеклопакеты устанавливают в переплетах на опорные фиксирующие прокладки. Остекление закрепляют алюминиевыми профильными штапиками-защелками через резиновые профили (рис. 2).

 

 

1 – окно;

2 – утеплитель;

3 - планка;

4 – болт;

5 – нащельник;

6 – уплотнитель;

7 – стена;

8 – скоба;

9 – термовкладыш;

10 – ригель; 11 – слив;

12 - винт

 

 

Рис. 2. Сопряжение алюминиевых переплетов со стенами

Железобетонные переплеты используются в зданиях с повышенной влажностью воздуха и при нормальном температурно-влажностном режиме. Эти окна выполняют из отдельных переплетов и в виде готовых стекложелезобетонных панелей, имеющих длину 6 м.

Железобетонные переплеты стыкуют по высоте без оконных коробок, соединяя между собой цементно-песчаным раствором. Крепят их к откосам проемов за счет выпусков арматуры, а переплеты верхнего яруса с помощью ершей. Швы между переплетами и стеной заделывают раствором, а зазор между перемычкой и переплетом (10 мм) – эластичными синтетическими материалами.

Железобетонные переплеты не подвергаются загниванию и коррозии, но трудоемки в изготовлении и тяжелы в устройстве.

Деревянные переплеты и панели применяют во временных зданиях и в зданиях с нормальным температурно-влажностным режимом.

Отдельные переплеты-блоки состоят из коробок и створок (раздельных и спаренных). Блоки располагают в один или несколько ярусов. При высоте проема более 7,2 м между ярусами блоков укладывают деревянные ригели. Ригели и деревянные импосты, устанавливаемые через 3 м по ширине проема, воспринимают ветровые усилия. Крепят оконные блоки к откосам, перемычкам, ригелям и импостам гвоздями и ершами. Стыки конопатят паклей и закрывают нащельником.

В стенах из крупных панелей ленточные и сплошные световые проемы целесообразно заполнять деревянными панелями. Панели имеют размеры 1,3х6; 1.8х6 м. Они могут быть глухими и с открывающимися створками. Элементы панели соединяют между собой шипами и склеивают. К колоннам панели крепят коротышами из уголков, а между собой – гвоздями. Зазоры между панелями заполняют смоленой паклей или упругими синтетическими материалами и с обеих сторон закрывают нащельниками.

Деревянное заполнение проемов нетрудоемкое в изготовлении, имеет небольшой вес, но возгораемое, подвержено короблению и загниванию, менее прочное и светоактивное в сравнении с другими материалами, применяемыми для заполнения оконных проемов.

На рис. 3 изображено сопряжение створок деревянных окон с рамой переплета.

1 – рама; 2 – стеклопакет;

3 – штапик;

4 - уплотнитель;

5 – створка; 6 – мастика;

7 – прокладка; 8 – петля;

9 – отверстие для стока

воды

 

 

Рис. 3. Узлы сопряжения створок деревянных окон с рамой переплета

 

Беспереплетное заполнение оконных проемов. К беспереплетным заполнениям относят стеклоблоки, листы из стеклопластика и профильное стекло.

Заполнения из стеклоблоков обеспечивают герметичность ограждений, повышенное сопротивление теплопередаче, снижают тепловую радиацию. Они гигиеничны, легки в уборке.

Заполнения оконных проемов из стеклоблоков применяют в промышленных зданиях с кондиционированием воздуха и вакуумной гигиеной (приборостроение, радиоэлектроника и т.п.) и для производств с повышенными гигиеническим требованиями (предприятия пищевой и легкой промышленности, часовые заводы и т.п.).

К недостаткам ограждений из стеклоблоков следует отнести возможные их разрушения в связи с усадочными и температурными деформациями от неравномерного прогрева и разности коэффициентов линейного расширения стекла и материала швов (бетона, раствора).

В промышленных зданиях для заполнения оконных проемов применяют стекложелезобетонные панели, имеющие номинальную длину 6 м, где светопрозрачным элементом служат стеклоблоки. Панели устанавливают на стальные столики и крепят к колоннам, как и стеновые панели. Швы между панелями заполняют жгутами из пороизола или гернита и промазывают мастикой. Стекложелезобетонные панели дешевле стальных на 40-60%.

В зданиях со стенами из волнистых асбестоцементных или алюминиевых листов целесообразны светопрозрачные ограждения из волнистых стеклопластиков. Стеклопластиковые листы по размерам и профилю соответствуют алюминиевым и асбестоцементным листам и имеют толщину 1,5 – 2,5 мм. Крепление их к ригелям аналогично креплениям асбестоцементных и алюминиевых листов.

Заполнение оконных проемов профильным стеклом осуществляют из отдельных элементов и из панелей. Стеклопрофилит (стекор) имеет сечение в виде швеллера, двойного швеллера и коробки (коробчатого сечения) (рис. 4).

В неотапливаемых зданиях применяют стекор швеллерного сечения; в отапливаемых – коробчатого типа на высоту не менее 2,4 м от пола (выше возможно применение стекора швеллерного типа); в герметических зданиях – только коробчатого типа стекор.

 

 

а) б) в)


 

Рис. 4. Типоразмеры профильного стекла (стекора):

а) стекор швеллерного типа;

б) стекор двойного швеллерного типа;

в) стекор коробчатого типа

 

 

Стекор применяют для ленточного остекления высотой 1,8 – 3,6 м и остекления отдельных проемов высотой 2,4 – 6 м. При сплошном остеклении высотой до 15, 6 м в проемы устанавливают стальной фахверк из горизонтальных ригелей, которые располагают между ярусами остекления и вертикальных импостов- тяжей, связывающих ригели между колоннами. Стальные горизонтальные ригели опирают на опорные консоли колонн.

Стекор крепят к стеновым перемычечным панелям и ригелям с помощью винтов, скрепляющих обоймы стекора с крепежными уголками. Обоймы образуют непрерывным обрамляющим гнутым уголком. Сопряжение уплотняют прокладками из морозостойкой резины и защищают от увлажнения гидроизоляционной мастикой (рис.5).

На основе стеклопрофилита изготавливают панели. Панели с заполнением стекором швеллерного типа имеют номинальные размеры 1,8х6; 2,4х6 м, коробчатого типа - 1,8х6; 2,4х6 и 3х6 м.

Панель представляет собой стальную раму из гнутых профилей на сварке, заполненную стекором. Для обеспечения жесткости в вертикальных швах панели с шагом 1 м размещают тяжи. В местах соприкосновения стеклопрофилита с рамой устанавливают прокладки из губчатой резины.

Панели опирают на стальные столики и крепят к колоннам анкерами и болтами. Швы между панелями заделывают пороизолом и закрывают нащельником.

 

 

а) б)

 
 

 


 

 

в)

 

Рис. 5. Оконные заполнения из стеклопрофилита:

а) крепление коробчатого стекора к перемычечной панели;

б) крепление стекора швеллерного типа к ригелю;

в) крепление стекора швеллерного типа к цоколю

 

При заполнении оконных проемов стеклопрофилитом, стеклоблоками, стеклопластиком или матовым и рифленым стеклами в нижней части окон рекомендуется устраивать узкие ленты из обычного стекла – для психологической связи людей, находящихся внутри здания, с природным окружением.

 




Поделиться с друзьями:


Дата добавления: 2014-01-04; Просмотров: 2076; Нарушение авторских прав?; Мы поможем в написании вашей работы!


Нам важно ваше мнение! Был ли полезен опубликованный материал? Да | Нет



studopedia.su - Студопедия (2013 - 2026) год. Все материалы представленные на сайте исключительно с целью ознакомления читателями и не преследуют коммерческих целей или нарушение авторских прав! Последнее добавление




Генерация страницы за: 0.011 сек.