Студопедия

КАТЕГОРИИ:


Архитектура-(3434)Астрономия-(809)Биология-(7483)Биотехнологии-(1457)Военное дело-(14632)Высокие технологии-(1363)География-(913)Геология-(1438)Государство-(451)Демография-(1065)Дом-(47672)Журналистика и СМИ-(912)Изобретательство-(14524)Иностранные языки-(4268)Информатика-(17799)Искусство-(1338)История-(13644)Компьютеры-(11121)Косметика-(55)Кулинария-(373)Культура-(8427)Лингвистика-(374)Литература-(1642)Маркетинг-(23702)Математика-(16968)Машиностроение-(1700)Медицина-(12668)Менеджмент-(24684)Механика-(15423)Науковедение-(506)Образование-(11852)Охрана труда-(3308)Педагогика-(5571)Полиграфия-(1312)Политика-(7869)Право-(5454)Приборостроение-(1369)Программирование-(2801)Производство-(97182)Промышленность-(8706)Психология-(18388)Религия-(3217)Связь-(10668)Сельское хозяйство-(299)Социология-(6455)Спорт-(42831)Строительство-(4793)Торговля-(5050)Транспорт-(2929)Туризм-(1568)Физика-(3942)Философия-(17015)Финансы-(26596)Химия-(22929)Экология-(12095)Экономика-(9961)Электроника-(8441)Электротехника-(4623)Энергетика-(12629)Юриспруденция-(1492)Ядерная техника-(1748)

Анализ типовых схем базирования

Определенность и неопределенность базирования.

В практике достигнутое правильное положение детали может измениться, если возникнут силы или моменты сил, нарушающие контакт поверхности детали с опорными точками приспособлений.

Поэтому для сохранения полученного при базировании правильного положения детали необходимо обеспечить непрерывность контакта баз.

Другими словами необходимо обеспечивать определенность базирования деталей.

ОПРЕДЕЛЕННОСТЬ БАЗИРОВАНИЯ детали – «неизменность» ее положения относительно поверхностей другой детали или деталей, с которыми она соединена и которые определяют ее положение в процессе изготовления.

НЕОПРЕДЕЛЕННОСТЬ БАЗИРОВАНИЯ - единичное или многократное изменение требуемого положения детали относительно поверхностей сопряженных деталей (или детали), определяющих ее положение.

Неопределенность базирования всегда порождает дополнительные погрешности, и следовательно снижают точность обработки на предварительно настроенных станках.

 

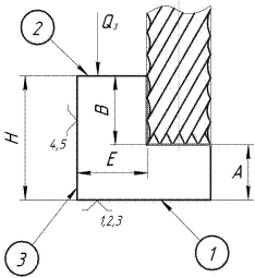
1.Установка плоскими поверхностями.

Заготовка прижата силой , пальцевой фрезой фрезеруется уступ, выдерживая размеры А, В, Е. Станок предварительно настроен.

    Необходимо проанализировать погрешность базирования при получении размеров А, В, Е. Н – высота детали, А – настроечный размер.
Рисунок 2.15 Пример схемы базирования плоскими поверхностями.  

=0 и =0 - т. к. технологическая и измерительная базы совпадают,

- так как измерительной базой является поверхность 2, а технологической базой - поверхность 1.


Составляем размерную цепь

В=Н-А

А- настроечный размер, значит А=const.

Таким образом, действительная погрешность базирования для размера В, будет зависеть от допуска на размер Н:

.

Чтобы получить , необходимо совместить ТБ с ИБ (перевернуть заготовку), т.е. переустановить ее на поверхность 2.

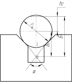
2.Установка наружными цилиндрическими поверхностями.

 

Размеры валов в обрабатываемой партии всегда имеют некоторый разброс по диаметру. Так при фрезеровании лысок и шпоночных пазов на валах размеры последних могут быть заданы как , или .

Рисунок 2.16 Пример базирования наружными цилиндрическими поверхностями.

Но так как диаметральные размеры обрабатываемых валов изменяются от некоторого минимального до максимального значений, положение из осей может быть расположено в точках или . Соответственно положение верхней точки А также может изменяться.

Требуется проанализировать возникающие погрешности базирования когда размер задан одним их трех способов: как , или .

а) выдерживаемый размер задан как h3.

Составим размерную цепь

h=ОА-ОМ

АО - настроечный размер (отрезок), АО=const и на погрешность базирования не влияет.

После тригонометрических преобразований получим, что погрешность базирования будет определяться формулой

=

б) выдерживаемый размер задан как h2

  Строим размерную цепь H2=Б1-Б2 Б1 – является настроечным размером, значит вся погрешность связана с размером Б2. =  
Рисунок 2.17 Пример базирования вала на призме.  

в) размер задан как h1 (от верхней точки) и, проведя аналогичные рассуждения получим:

=.

Таким образом, рассмотрев три возможных варианта простановки размеров: , или как делаем вывод, что минимальная погрешность базирования будет иметь место, если выдерживаемый размер задан как .

В практике встречаются и другие подходы к снижению погрешности базирования:

А) за счет изменения положения призмы,

Рисунок 2.18 Пример изменения базирования вала с использованием призмы.

Б) за счет уменьшения допусков на диаметр D,

В) за счет изменения (замены) схемы базирования.

Возможны и другие решения.

3.Установка на «короткие конуса» (в центрах)

  1 -обрабатываемая поверхность, 2- измерительная (конструкторская) база, 3- технологическая (установочная) база, а – выдерживаемый размер.
Рисунок 2.19 Пример базирования по схеме «короткий конус».  

 

Погрешность базирования возникает из-за колебаний размеров конструкторской базы.

Составим размерную цепь а=Б1+Б2

Будем искать из треугольника АОБ.

, так как является настроечным размером, значит вся погрешность будет обусловлена размером Б2.

Б2=ОА=

Тогда искомая погрешность базирования для размера а

.

<== предыдущая лекция | следующая лекция ==>
Правила (принципы) базирования. Определенность и неопределенность базирования | Установка на длинный центр (конус Морзе)
Поделиться с друзьями:


Дата добавления: 2014-01-04; Просмотров: 2448; Нарушение авторских прав?; Мы поможем в написании вашей работы!


Нам важно ваше мнение! Был ли полезен опубликованный материал? Да | Нет



studopedia.su - Студопедия (2013 - 2026) год. Все материалы представленные на сайте исключительно с целью ознакомления читателями и не преследуют коммерческих целей или нарушение авторских прав! Последнее добавление




Генерация страницы за: 0.012 сек.