Студопедия

КАТЕГОРИИ:


Архитектура-(3434)Астрономия-(809)Биология-(7483)Биотехнологии-(1457)Военное дело-(14632)Высокие технологии-(1363)География-(913)Геология-(1438)Государство-(451)Демография-(1065)Дом-(47672)Журналистика и СМИ-(912)Изобретательство-(14524)Иностранные языки-(4268)Информатика-(17799)Искусство-(1338)История-(13644)Компьютеры-(11121)Косметика-(55)Кулинария-(373)Культура-(8427)Лингвистика-(374)Литература-(1642)Маркетинг-(23702)Математика-(16968)Машиностроение-(1700)Медицина-(12668)Менеджмент-(24684)Механика-(15423)Науковедение-(506)Образование-(11852)Охрана труда-(3308)Педагогика-(5571)Полиграфия-(1312)Политика-(7869)Право-(5454)Приборостроение-(1369)Программирование-(2801)Производство-(97182)Промышленность-(8706)Психология-(18388)Религия-(3217)Связь-(10668)Сельское хозяйство-(299)Социология-(6455)Спорт-(42831)Строительство-(4793)Торговля-(5050)Транспорт-(2929)Туризм-(1568)Физика-(3942)Философия-(17015)Финансы-(26596)Химия-(22929)Экология-(12095)Экономика-(9961)Электроника-(8441)Электротехника-(4623)Энергетика-(12629)Юриспруденция-(1492)Ядерная техника-(1748)

Силовые головки и столы

Делительным барабаном

 

Многопозиционные станки проектируют для деталей, по­верхности которых необходимо обрабатывать за несколько пере­ходов, причем эти поверхности расположены в различных плоскостях. Типовые компоновки таких агрегатных станков могут быть вертикальными (рис. 15.2, а, в), горизонтальными (рис. 15.2, б, г, е), вертикально-горизонтальными (рис. 15.2, д). На этих станках деталь обрабатывают последовательно с одной, двух и трех сторон на нескольких позициях в приспособлениях 1, установленных на поворотном делительном столе 2. Благодаря этому вспомогательное время, связанное с загрузкой-выгрузкой и зажимом-разжимом обрабатываемой заготовки, совмещается со вре­менем обработки; несовмещенным остается время поворота стола.

Типовые компоновки атрегатных станков с круговым движе­нием заготовок в вертикальной плоскости выполнены односторон­ними (рис. 15.3, а), двусторонними (рис. 15.3, б) и трехсторонними (рис. 15.3, в). Это станки барабанного типа, у которых зажимные приспособления 2 смонтированы на поворотном барабане 1, а обработка ведется с одной, двух и трех сторон.

Агрегатные станки чаще всего используют для работы в полу­автоматическом цикле, реже их снабжают загрузочными и раз­грузочными устройствами, в этом случае станки работают как автоматы. Агрегатные станки могут работать индивидуально или входить в автоматические линии.

Силовая головка является самостоятельным узлом аг­регатного станка и предназначена для вращения рабочих шпин­делей и осуществления продольной подачи инструмента. Силовые головки делят на самодействующие и несамодействующие. Само­действующие силовые головки имеют встроенный привод для осуществления вращательного движения и движения подачи инструмента. У несамодействующих головок имеется только привод вращения шпинделей; головку устанавливают неподвижно на перемещающемся силовом столе, который имеет привод подачи, находящийся вне головки.

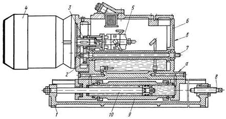
Самодействующие головки могут иметь механический, пневма­тический, гидравлический и пневмогидравлический приводы подачи. У головки с механической подачей (рис. 15.4) продольная подача осуществляется цилиндрическим кулачком 7 с винтовым пазом, который вращается от электродвигателя 5 через червячную передачу 3-2, сменные зубчатые колеса 4 и червячную пару 1 и 9. Ролик 8 жестко связан с салазками 10 головки и при ее движении остается неподвижным. Положение ролика вместе с ползушкой, к которой он прикреплен, регулируют винтом 6. Головка имеет предохранительную фрикционную муфту 11. Шпиндель 12 вра­щается через две пары зубчатых колес от электродвигателя 5.

Большое распространение в агрегатных станках получили силовые головки с гидравлическим приводом. Корпус головки (рис, 15.5) служит резервуаром для масла, которое гидронасосом подается в панель управления, а оттуда поступает в наружные

трубопроводы для подвода к передней и задней полостям цилиндра

 

 

.

Рис. 15.4. Самодействующая головка с механической подачей

У пневмогидравлических силовых головок подача шпинделя осуществляется с помощью пневмоцилиндра с гидравлическим регулированием. В электромеханической самодействующей головке с подачей ходовым винтом (рис. 15.6) от главного электродвигателя Ml через вал 1 и зубчатые колеса 3 и 4 движение передается валу 5, соединенному со шпиндельной коробкой. От вала 1 через червяч­ную передачу 2 вращение сообщается валу 7, на котором имеются две электромагнитные муфты 6 и 8. Когда включена муфта 5, движение рабочей подачи передается валу 11 через сменные ко­леса e/f, при включении муфты 8 - через сменные колеса c/d.

 

Вал 11 через предохранительную муфту 9 и червячную пере­дачу 10 вращает гильзу 13, в которой закреплена гайка 14 ходо­вого винта 12. При рабочей подаче, а также при выключении ускоренного хода головки привод ходового винта заторможен тормозом 15. Ускоренно головка перемещается от реверсивного электродвигателя М2, который вращает ходовой винт 12

Рис. 15.5. Самодействующая при неподвижных гайке 14 и гильзе

гидравлическая силовая головка: 13, удерживаемых

1 - электродвигатель; 2 - зубчатая передача; самотормозя­щейся червячной

3 - выходной вал для передачи вращения инструментам; передачей 10. Гамма

4 - зубчатая пара для вращения пластинчатого насоса; нормализованных агрегатных

5 – гидроцилиндр самодействующих сило­вых

головок показана на рис. 15.7.

Рис. 15.6. Электромеханическая самодействующая силовая головка

Силовые столы широко применяют в агрегатных станках. Устанавливаемые на силовые столы бабки и коробки могут быть использованы при сверлильных, расточных или фрезерных рабо­тах.

Столы бывают одно- и многошпиндельными. Кроме того, на столы могут быть установлены зажимные приспособления с об­рабатываемыми заготовками для осуществления рабочих циклов с прямолинейным

перемещением. Столы

можно применять для

автоматизации сборочных

операций. Применение силовых столов позволяет совершенствовать прин­цип агрегатирования и расширить технологические возможности агрегатных станков. На их базе создают станки для выполнения большинства операций механической обработки резанием деталей различных классов. Электромеханические силовые столы (рис. 15.8, а) состоят из собственно силового стола 2 (рис. 15.8, а) и привода подачи 1.

В виде отдельного узла выполнен

Рис. 15.7. Агрегатные самодействующие блок упоров управления 3. Несущей

силовые головки с гидравлической (а) частью силового стола является

и плоскокулачковой (б) подачей корпус с одной плоской и одной

призматической направляющими, по

которым с помощью винтовой парыперемещается платформа, причем винт установлен на опорах качения в корпусе стола, а гайка закреплена на плат­форме.

Вращение винту передается от электродвигателя через редуктор привода подачи. Привод подачи имеет два электродви­гателя, из которых один (меньшей мощности) предназначен для осуществления рабочей подачи, а второй (большей мощности) — для ускоренных вспомогательных перемещений.

Столы выпускают нескольких исполнений в зависимости от длины хода (два или три исполнения), способа установки - гори­зонтальный и вертикальный (два исполнения), точности изготовле­ния - нормальной или повышенной (два исполнения). Привод агрегата в зависимости от рабочей подачи налаживают на опре­деленный диапазон (три исполнения). Блок упоров управления можно устанавливать справа или слева на силовом столе. Силовой стол с гидравлическим приводом подачи(рис. 15.8, б) состоит из платформы 4, установленной на корпус 5 с направля­ющими и закрепленнымвнутри гидроцилиндром 12, шток 13которого крепится к платформе. В передней части корпуса стола установлен регулирующий «жесткий» упор 7. Упоры 1 блока управления закреплены на платформе; на боковой поверхности корпуса стола установлена плита 2 с бесконтактными электри­ческими преобразователями 3. Гидроцилиндр с одной стороны крепят к корпусу винтами посредством фланца 16 и полуколец 15, с другой стороны он входит в расточенное отверстие кронштейна 9. Шток крепят к платформе гайкой 8 и ориентируют в определенном положении винтом 11. В штоке имеются каналы для выпуска воздуха из штоковой полости гидроцилиндра. С одной стороны шток направлен поршнем 14 по внутренней поверхности гидро­цилиндра, а с другой - бронзовой втулкой, установленной в крышке 10.

Столы можно устанавливать как в горизонтальном, так и в вертикальном или наклонном положении. При направлении рабочей подачи сверху вниз подвижные части уравновешиваются противовесом. Для этого имеются специального исполнения сило­вые столы, у которых платформа снабжена серьгами для крепле­ния цепей противовеса. Во избежание перемещения платформы по направляющим корпуса во время транспортирования предусмо­трено крепление ее к корпусу в исходном положении прихва­тами 6.

Рис. 15 8. Силовые столы с электро

механическим (а) и гидравлическим

(б) приводами подачи

 

 

Гидропанели

Для управления циклом работы силовой головки при­меняют гидропанели. Различают гидропанели с электромехани­ческим и электрическим управлением. Гидропанель с электро­механическим управлением для силовых головок агрегатных станков (рис. 15.16) обеспечивает быстрый подвод, две рабочие подачи, быстрый отвод в исходное положение и остановку силовой головки. Для обеспечения двух различных рабочих подач на гидропанели имеется два дросселя. Силовые головки, обслужива­емые гидропанелью, имеют дифференциальный цилиндр, у кото­рого площадь поперечного сечения поршня в 2 раза больше площади поперечного сечения штока.

Панель работает от сдвоенного нерегулируемого шиберного насоса (насоса рабочих подач высокого давления и насоса быстрых ходов низкого давления). При таком положении направляющего гидрораспределителя 5, как это показано на рис. 15.9, а, будет осуществляться рабочая подача 1. При положении «Останов» направляющий гидрораспределитель 5 займет крайнее правое положение (рис. 15.9, б). В этом случае масло под действием насоса 16 низкого давления поступает через предохранительный клапан 17, подпорный клапан 12 и направляющий гидрораспре­делитель 5 обратно в бак. Масло под действием насоса 15 высокого давления также, пройдя через направляющий гидрораспредели­тель 5, будет сливаться в бак.

Для пуска головки необходимо включить соленоид подвода 2, который переместит запорно-регулирующий элемент 3 вниз и откроет доступ масла под действием насоса низкого давления 16 в правую полость направляющего гидрораспределителя 5. Запор­но-регулирующий элемент этого гидрораспределителя сместится в крайнее левое положение, соответствующее быстрому подводу. Масло под действием обоих насосов будет поступать в гидроци­линдр 1, и поршень со штоком будет быстро перемещаться влево. Вытесняемое масло из левой задней полости цилиндра будет поступать в его правую переднюю полость, способствуя увеличе­нию подачи насосов.

Рис. 15.9. Гидропанель:

 

При таком положении силовая головка будет быстро перемещаться вперед до тех пор, пока рычаг 7 переключе­ния найдет на упор, который его повернет. В результате этого рычаг переключения приподнимет фиксатор 6, и направляющий гидрораспределитель 5 под действием пружины сместится на одно деление вправо - в положение «Первая рабочая подача». Масло под действием насоса 16 низкого давления через предохрани­тельный клапан 17, подпорный клапан 12 и направляющий гидро­распределитель 5 сливается в бак, а масло под действием насоса 15 высокого давления, пройдя через предохранительный клапан 13, дозирующий клапан 18, фильтр 21, дроссель 20 первой рабочей подачи и направляющий гидрораспределитель 5, будет поступать в переднюю полость гидроцилиндра. Из задней полости гидроцилиндра масло будет сливаться в бак, проходя через кла­пан 11 противодавления и направляющий гидрораспредели­тель 5.

При дальнейшем движении головки рычаг переключателя 7 опять приподнимет фиксатор 6, и направляющий гидрораспре­делитель 5 сместится еще на одну ступень вправо. Масло будет распределяться, как и в предыдущем случае, только в переднюю полость гидроцилиндра оно будет поступать, пройдя дроссель 20 первой и дроссель 19 второй рабочих подач. Это будет соответство­вать положению «Вторая рабочая подача»

При перемещении направляющего гидрораспределителя 5, аналогично предыдущим случаям, на очередную ступень вправо масло из обоих насосов, пройдя гидрораспределитель 5, минуя клапан противодавления 11, откроет обратный клапан и поступит в заднюю полость рабочего цилиндра, а из передней полости, пройдя направляющий гидрораспределитель 5, будет сливаться в бак - положение «Быстрый отвод». Крайнее правое положение направляющего гидрораспределителя будет соответствовать позиции «Останов».

Для быстрого отвода силовой головки необходимо включить соленоид отвода 4, который приподнимает фиксатор 6, и направля­ющий гидрораспределитель 5 займет положение, соответствующее быстрому отводу. Рычагом ручного управления 8 вручную регу­лируют работу поршня. Манометром 9 измеряют давление масла в панели.

Силовые головки мод. ГСМ-01, ГСМ-03 и ГСМ-04 показаны на рис. 15.10. От двигателя 4, через пару зубчатых колес и ременную передачу вра­щение передается через втулку 1 на шпиндель 2. Последний установлен внутри пиноли 3, которая является поршнем гидропривода подачи. При перемещении поршня вправо шпиндель скользит внутри втулки, с которой имеет подвижное шпоночное соединение. Для сверления отверстий диаме­тром менее 1 мм имеются головки с высокочастотным двигателем; шпин­дель совершает до 24000 об/мин.

Силовые головки данной группы применяют при обработке малогаба­ритных деталей с небольшой длительностью цикла и малой длиной хода инструмента (до 150 мм).

 

Ι- быстрый подвод; ΙΙ - вторая рабочая подача; ΙΙΙ - быстрый отвод; IV – останов; А - подача из насоса низкого давления и из задней полости цилиндра; Б - подача в переднюю полость цилиндра; В - подача из насоса высокого давления; Г - подача в дроссель; Д - подача в заднюю полость цилиндра; Ж - подача в бак; 3 - подача из насоса низкого давления; И - подача в бак и переднюю полость цилиндра; 1 - гидроцилиндр; 2 - соленоид подвода; 3 - пусковой запорно-регулирующий элемент; 4 - соленоид отвода; 5 -- направляющий гидрораспределитель; 6 - фиксатор; 7 - рычаг переключе­ния; 8 - рычаг ручного управления; 9 - манометр; 10 - обратный клапан; 11 - кла­пан противодавления; 12 - подпорный клапан; 13, 17 - предохранительные клапаны; 14 - регулятор давления предохранительного клапана; 15 - насос высокого давления; 16 - насос низкого давления; 18 - дозирующий клапан; 19 - дроссель второй рабочей подачи (2П); 20 - дроссель первой рабочей подачи (1П); 21 — фильтр

Промышленность вы­пускает гамму головок различных размеров с условным диаметром свер­ления до 16 мм, мощностью привода 0,27-3 кВт, силой подачи 0,4-6,3 кН, с частотой вращения до 9000 об/мин.

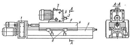
На рис. 15.11 показана самодействующая силовая головка с подвижным корпусом и гидравлическим приводом подачи. В

направляющих салазках 1 (илн направляющих

станины) установлен корпус 6 головки. С левой

его стороны размещен электродвигатель 4,

Рис. 15.10. Малогабаритная силовая который с помощью колес 3 - 2 вращает

головка с гидравлическим приводом приводной вал 7, расположенный внутри

литой трубы корпуса. Правый конец трубы

входит в корпус шпиндельной коробки, устанавли­ваемой на плоскость а и закрепляемой на плоскости б. Внутри корпуса силовой головки находится один или два гидронасоса 5 с приводом от того же электродвигателя. Перемещение головки ограничивает винт 8. разновидностей гвдравлических схем, в зависимости от номера габарита головки (2 - 7). В них применяют дроссельное регулирование на входе, что признано наиболее оптимальным для агре­гатных станков.

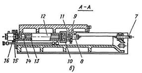
На рис. 15.12 представлена гидравлическая схема привода п Вся гидравлическая аппаратура скомпонована в едином агрегате - гидравлнческой панели. У

Рис. 15.11. Силовая головка с гидравлическим приводом

самодействующих головок она монтируется в одной из боковых стенок корпуса. В нижней части корпуса головки установлен силовой цилиндр 9. Его шток 10 неподвижно закреплен в приливе салазок или станины 1. На боковых поверхностях силовой головки устанавливают упоры, воздействующие на электрическую и гидравличе­скую аппаратуру управления.

Рис. 15.12. Гидравлическая схема силовой головки

Гидравлические головки, выпускаемые промышлен­ностью, имеют несколько

одачи си­ловых головок 2-го и 3-го габаритов серии ЗУ. В этих головках применяют преимущественно дроссельное регулирование подачи с использованием дифференциального включения силового цилиндра на входе (см. ниже). Схема включает сдвоенный насос 1 (1.1- рабочей подачи, 1.2 - быстрых ходов), гидропанель 24 и цилиндр 23 с закрепленным штоком. Потоки масла распределяются главным золотником 10. Он

закрепляет­ся в пяти положениях фиксатором 9. В крайние позиции золотник

устана­вливается при помощи золотников управления 16 и 20, перемещаемых толкающими соленоидами 15 и 19 При включении одного из них масло, подаваемое насосом 1.2, поступает в ту или иную полость плунжера 17, перемещая его вправо или влево до упора. Это движение при помощи ре­ечной передачи сообщается главному золотнику 10 В промежуточные по­зиции устанавливают упоры, закрепляемые на салазках. Имея разную вы­соту, они при движении силовой головки по салазкам воздействуют на золотник через ролик 8.

Рассмотрим работу гидропривода при различных положениях главного золотника 10. На рисунке золотник показан во второй позиции. Для уста­новки его в первую позицию необходимо включить соленоид 19. При этом положении золотника полости а и б соединяются, а полости в - изоли­руются. Масло от насоса 1.1 по трубопроводу 4 поступает в полость б. Сюда же подается масло, нагнетаемое насосом 1.2 через подпорный кла­пан 21 и трубопровод 22. Из полости 6 масло поступает в полость а, а от­сюда - в правую полость цилиндра. Масло, вытесняемое из.левой полости цилиндра, пройдя через обратный клапан 12, поступает в полость б, а от­туда - в правую полость цилиндра, вследствие чего происходит быстрое перемещение силового органа (подвод).

Во второй позиции (как на схеме) золотник 10 обеспечивает первую ра­бочую подачу (большую). В этом случае масло поступает от насоса 1.1 че­рез фильтр 2, трубопровод 3, дроссель 6 и полость а в правую полость ци­линдра. Излишки масла идут на слив через переливной клапан 25.2. Масло, вытесняемое из левой полости цилиндра по сливной трассе, пройдя обратный клапан 12 и полость в, поступает в бак. Все масло, которое по­дает насос 1.2, сбрасывается на слив. Равномерность подачи масла обеспе­чивается дозирующим клапаном 5, поддерживающим постоянство перепа­да давления, а защита насоса 1.2 - клапаном 25.1 панели 25.

Аналогично первой происходит вторая рабочая подача при положении золотника в третьей позиции. Разница в потоках заключается в том, что канал в золотник из дросселя 6 перекрывается плунжером, и масло из дросселя 6 поступает в дроссель 7 с меньшим проходным сечением и да­лее - в правую полость цилиндра.

В четвертой позиции масло, поступающее от насоса 1, по трубопрово­дам 22 и 4 сливается в бак - это положение «Стоп». При нахождении зо­лотника 10 в самой верхней позиции масло от насоса 1 по трубопроводам 4 и 26—22 поступает в полость б, а оттуда, пройдя обратный клапан 11,- в левую полость цилиндра 23. Из правой полости масло идет в по­лость а, а оттуда - на слив через отверстие 18.

При выдержке головки на жестком упоре правый торец цилиндра 9 встречает упорный винт 8 (см рис. 15.11), вследствие чего давление масла в системе повышается. Если давление превысит заданное датчиком 13, ре­ле давления 14 (рис. 15.12) дает команду на включение соленоида 15 и бы­стрый отвод головки.

Гидравлические силовые головки применяют для выполнения как лег­ких, так и тяжелых работ при обработке деталей средних и больших раз­меров. Имея мощный привод главного движения (2,2 - 30 кВт) и преодоле­вая большие силы подачи (5,6-100 кН), они позволяют осуществлять наибольшую концентрацию операций. Гидропривод обеспечивает бессту­пенчатое регулирование подачи в пределах 0,12-14 мм/с и скорость бы­стрых перемещений порядка 50 - 125 мм/с. Кроме того, малое время хо­лостых ходов обусловлено достаточной точностью переключения с быстрых ходов на рабочие подачи и наоборот (выбег составляет 0,18-0,47 мм). Большая жесткость, надежная защита от перегрузки и самосмазываемость деталей привода обеспечивают силовой головке вы­сокие эксплуатационные качества.

К числу недостатков гидравлических головок следует отнести слож­ность эксплуатации и ремонта гидропанелей, нестабильность подачи при резко меняющихся силах резания, С помощью гидравлических силовых го­ловок нельзя нарезать резьбу. Быстрые перемещения в агрегатных станках с гидроприводом составляют по времени

Рис. 15.13. Электромеханическая силовая головка с винтовым приводом

до 50%. Увеличение скорости бы­стрых ходов более 5 м/с вызывает рост инерционности и времени хода. Введение двухскоростного подвода с переключением на скорость 2 м/с по­вышает стабильность точки переключения и сокращает время переключе­ния на 27-50%.

Для выполнения фрезерных операций, чернового и чистового растачи­вания, подрезки больших торцов требуются головки жесткой конструкции, с большим расстоянием между опорами шпинделей в шпиндельных коро­бах (или бабках) и небольшим их вылетом относительно направляющих. Рассмотренные силовые головки не отвечают этим требованиям. Поэтому возникла необходимость механизм главного движения отделить от меха­низма подачи и выполнить силовую головку в виде двух независимых уз­лов: силового стола и силовой бабки.

На рис. 15.13 представлен общий вид такой силовой головки с винтовым приводом подачи. Главным элементом агрегата является силовой стол 4, установленный в направляющих салазках 5. Независимый привод стола осуществляется с помощью электродвигателей, редуктора 1 и пары винт - гайка. В зависимости от назначения станка на силовом столе уста­навливают сверлильные, фрезерные, обточные, подрезные, алмазно-расточные и другие силовые бабки 2. Бабки имеют отдельный привод главного движения, индивидуальный рабочий шпиндель или приводной вал 3, вращающий шпиндель шпиндельной коробки. Коробки устанавли­вают на полость а стола и закрепляют в плоскости б бабки. Силовой стол может быть использован также для установки на нем приспособления с обрабатываемой заготовкой. Движением стола управляют система упо­ров 6 и конечные электрические переключатели.

Головки с силовым столом обеспечивают большую гибкость при кон­струировании агрегатных станков, а винтовой привод подачи - надежную и стабильную подачу порядка 0,2 - 2,2 мм/с, скорость быстрых ходов 0,07-0,11 м/с и силу подачи 3 -100 кН. Мощность привода главного дви­жения 0,8 - 30 кВт. Эти показатели такие же, как и у гидравлических си­ловых головок. К преимуществам силовых головок с винтовым приводом следует отнести также более простые конструкцию и аппаратуру управле­ния; с помощью данных головок можно нарезать резьбу. К недостаткам головок относятся сложность электрической схемы, ступенчатое изменение подачи, трудности при получении малых подач. Вследствие большой инерционности во время быстрых перемещений точность переключения движе­ния стола на рабочую подачу низка (выбег до 2,5 мм), поэтому эти головки требуют большей величины врезания (на 2 - 3 мм выше нормативного). Силовые столы с гидравлическим приводом подачи не имеют этих недостатков.

 

<== предыдущая лекция | следующая лекция ==>
Агрегатные станки | Шпиндельные коробки и насадки
Поделиться с друзьями:


Дата добавления: 2014-01-04; Просмотров: 4448; Нарушение авторских прав?; Мы поможем в написании вашей работы!


Нам важно ваше мнение! Был ли полезен опубликованный материал? Да | Нет



studopedia.su - Студопедия (2013 - 2026) год. Все материалы представленные на сайте исключительно с целью ознакомления читателями и не преследуют коммерческих целей или нарушение авторских прав! Последнее добавление




Генерация страницы за: 0.009 сек.