Студопедия

КАТЕГОРИИ:


Архитектура-(3434)Астрономия-(809)Биология-(7483)Биотехнологии-(1457)Военное дело-(14632)Высокие технологии-(1363)География-(913)Геология-(1438)Государство-(451)Демография-(1065)Дом-(47672)Журналистика и СМИ-(912)Изобретательство-(14524)Иностранные языки-(4268)Информатика-(17799)Искусство-(1338)История-(13644)Компьютеры-(11121)Косметика-(55)Кулинария-(373)Культура-(8427)Лингвистика-(374)Литература-(1642)Маркетинг-(23702)Математика-(16968)Машиностроение-(1700)Медицина-(12668)Менеджмент-(24684)Механика-(15423)Науковедение-(506)Образование-(11852)Охрана труда-(3308)Педагогика-(5571)Полиграфия-(1312)Политика-(7869)Право-(5454)Приборостроение-(1369)Программирование-(2801)Производство-(97182)Промышленность-(8706)Психология-(18388)Религия-(3217)Связь-(10668)Сельское хозяйство-(299)Социология-(6455)Спорт-(42831)Строительство-(4793)Торговля-(5050)Транспорт-(2929)Туризм-(1568)Физика-(3942)Философия-(17015)Финансы-(26596)Химия-(22929)Экология-(12095)Экономика-(9961)Электроника-(8441)Электротехника-(4623)Энергетика-(12629)Юриспруденция-(1492)Ядерная техника-(1748)

Упругие элементы рессорного подвешивания

 

Основной составной частью рессорного подвешивания являются упругие элементы, которые смягчают толчки и удары, действующие на движущийся вагон со стороны рельсового пути. У неподвижного вагона упругие элементы испытывают лишь воздействие статической нагрузки, прогибаясь на величину, называемую статическим прогибом.

В качестве упругих элементов вагонов применяют витые стальные пружины, пневматические, торсионные, тарельчатые, кольцевые рессоры, резиновые и другие типы упругих элементов.

В ходовых частях современных вагонов наибольшее распространение получили витые цилиндрические пружины (рис. 7.2, а), главной характеристикой которых является жесткость (податливость). Чем больше жесткость пружины, тем меньше она прогибается под действием одной и той же нагрузки.

Конические пружины (рис. 7.2, б) имеют более благоприятную силовую характеристику, но сложны в изготовлении и ремонте. Поэтому они не нашли широкого распространения в вагоностроении.

 

Рис. 7.2. Витые пружины: а – цилиндрическая; б – коническая

 

В тележке 18-100 рессорное подвешивание состоит из двух комплектов (рис. 7.3), размещенных в рессорных проемах левой и правой боковых рам.

 

 

Рис. 7.3. Общий вид рессорного комплекта тележки модели 18-100:

1 – фрикционный клин; 2 – наружная пружина; 3 – внутренняя пружина

В каждый комплект рессорного подвешивания входят семь двухрядных цилиндрических пружин и два клиновых фрикционных гасителя колебаний. Каждая двухрядная пружина состоит из наружной и внутренней пружин, имеющих разную навивку – правую и левую соответственно, чтобы пружины не сцеплялись между собой.

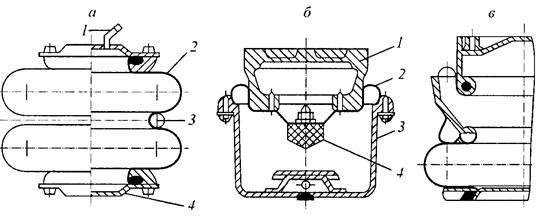
В тележках пассажирских вагонов скоростных поездов применяют пневматические рессоры баллонного (рис. 7.4, а), диафрагменного (рис. 7.4, б) или смешанного (рис. 7.4, в) типов.

Основным преимуществом пневматических рессор перед другими типами упругих элементов является их способность поддерживать положение кузова на определенном уровне относительно головок рельсов независимо от величины нагрузки благодаря автоматическому регулированию давления воздуха внутри рессоры. Кроме того, они обладают хорошими вибро- и шумогасящими свойствами, что повышает комфортность вагона.

 

 

Рис. 7.4. Типы пневматических рессор:
а – баллонный: 1 – патрубок для подвода воздуха; 2 – резинокордная оболочка;
3 – опоясывающее кольцо; 4 – нижняя опора; б – диафрагменный: 1 – надрессорная балка; 2 – диафрагменный баллон; 3 – корпус; 4 – ограничитель; в – смешанный

 

В вагоностроении наибольшее применение получили рессоры диафрагменного типа, которые позволяют получать регулируемые характеристики вертикальной и горизонтальной жесткостей. На пневморессору опирается надрессорная балка 1 (рис. 7.4, б), которая соединяется с диафрагменным баллоном 2, прикрепленным к корпусу 3. Внутри рессоры имеется резиновый ограничитель 4, предусмотренный на случай резкого падения давления в системе или большой просадки надрессорной балки под действием динамических нагрузок.

В грузовых вагонах используются торсионные, тарельчатые
и кольцевые упругие элементы.

Торсионная рессора (рис. 7.5, а) представляет собой прямой стальной стержень (торсион) 4, один конец которого закреплен в кронштейне 5,
а другой жестко связан с рычагом 1, который шарнирно соединяется с обрессоренной частью вагона (надрессорная балка, например). Второй опорой служит подшипник 2, установленный в кронштейне 3, причем в подшипнике может быть создано необходимое трение, способствующее затуханию колебаний вагона. Кронштейны 3 и 5 могут быть укреплены на раме тележки. Торсион 4 изготавливается из специальной термически обработанной стали.

 

 

Рис. 7.5. Типы рессор, применяемых в грузовых вагонах:

а – торсионная: 1 – рычаг; 2 – подшипник; 3 – кронштейн; 4 – торсион; 5 – кронштейн; б – тарельчатая (состоит из набора упругих стальных тарелей); в – кольцевая

 

Нагрузка Р на торсионную рессору вызывает поворачивание рычага 1, а следовательно, скручивание торсиона 4, вызывая упругие деформации кручения.

Подобные торсионные устройства применяются в полувагонах отечественной постройки для облегчения поднимания крышек люков после разгрузки кузова: один конец торсиона прикреплен к крышке люка, а другой к рычагу, шарнирно связанному с хребтовой балкой рамы.

Торсион при этом закручивается под действием силы тяжести высыпающегося груза, а после освобождения крышки от груза упруго деформированный торсион поднимет ее в горизонтальное положение.

Торсионные рессоры получили распространение в некоторых тележках вагонов за рубежом.

Тарельчатая рессора (рис. 7.5, б) состоит из набора упругих стальных тарелей, имеющих вид усеченного конуса с углом подъема Y и высотой Н, соединенных в секции по две, четыре и более штук в каждой. В результате действия силы Р тарели распрямляются и угол Y уменьшается. При этом рессора получает прогиб, смягчая ударную нагрузку. Тарельчатые рессоры в вагоностроении применяются редко.

Кольцевая рессора (рис. 7.5, в) состоит из наружных 1 и внутренних 2 стальных колец, опирающихся друг на друга своими конусными поверхностями. Под действием нагрузки Р рессора прогибается вследствие упругих деформаций растяжения наружных и сжатия внутренних колец, так как на конусных их поверхностях возникают значительные поперечные силы. Кольцевые рессоры обладают очень высокой амортизационной способностью, достигающей 60–70 % работы, т. е. могут воспринимать большие нагрузки и применяться в рессорном подвешивании тяжеловесных вагонов, а также в некоторых конструкциях ударно-тяговых приборов.

Резиновые и резинометаллические упругие элементы находят применение в тележках вагонов, так как они обладают хорошими амортизирующими свойствами, а также способностью гасить вибрационные и звуковые колебания. Однако недостаточно широкое их распространение объясняется свойствами резины, существенно влияющими на параметры подвешивания при различных климатических условиях и длительности эксплуатации. Резиновые элементы чаще всего используют в тележках отечественных вагонов в виде прокладок в буксовом подвешивании и в скользунах для гашения высокочастотных колебаний и уменьшения шума, а также в шкворневых узлах тележек скоростных вагонов.

 

<== предыдущая лекция | следующая лекция ==>
Тема 7. Рессорное подвешивание вагонов | Гасители колебаний и стабилизирующие устройства
Поделиться с друзьями:


Дата добавления: 2014-01-03; Просмотров: 4445; Нарушение авторских прав?; Мы поможем в написании вашей работы!


Нам важно ваше мнение! Был ли полезен опубликованный материал? Да | Нет



studopedia.su - Студопедия (2013 - 2025) год. Все материалы представленные на сайте исключительно с целью ознакомления читателями и не преследуют коммерческих целей или нарушение авторских прав! Последнее добавление




Генерация страницы за: 0.009 сек.