Студопедия

КАТЕГОРИИ:


Архитектура-(3434)Астрономия-(809)Биология-(7483)Биотехнологии-(1457)Военное дело-(14632)Высокие технологии-(1363)География-(913)Геология-(1438)Государство-(451)Демография-(1065)Дом-(47672)Журналистика и СМИ-(912)Изобретательство-(14524)Иностранные языки-(4268)Информатика-(17799)Искусство-(1338)История-(13644)Компьютеры-(11121)Косметика-(55)Кулинария-(373)Культура-(8427)Лингвистика-(374)Литература-(1642)Маркетинг-(23702)Математика-(16968)Машиностроение-(1700)Медицина-(12668)Менеджмент-(24684)Механика-(15423)Науковедение-(506)Образование-(11852)Охрана труда-(3308)Педагогика-(5571)Полиграфия-(1312)Политика-(7869)Право-(5454)Приборостроение-(1369)Программирование-(2801)Производство-(97182)Промышленность-(8706)Психология-(18388)Религия-(3217)Связь-(10668)Сельское хозяйство-(299)Социология-(6455)Спорт-(42831)Строительство-(4793)Торговля-(5050)Транспорт-(2929)Туризм-(1568)Физика-(3942)Философия-(17015)Финансы-(26596)Химия-(22929)Экология-(12095)Экономика-(9961)Электроника-(8441)Электротехника-(4623)Энергетика-(12629)Юриспруденция-(1492)Ядерная техника-(1748)

Оборудование УПН

Занятие 2 Технология предварительного обезвоживания и сброса воды. Деэмульгаторы, их классификация

Рисунок 2 – Нефтяные эмульсии

Рисунок 1 – Зависимость кажущейся вязкости эмульсии от содержания воды в нефти и исходной температуры смешения

Эмульсия: 1 – обратного типа ВН; 2 – прямого типа НВ

 

На промыслах, как правило, встречаются эмульсии типа нефть - вода - газ, в которых дисперсионной средой является нефть, а дис­персной фазой - вода и газ. Эффективную вязкость таких эмульсий определяем по формуле:

,

где b =0 - 0,7 – объемное газосодержание

В =0 – 0,7 – объемная обводненность нефти

· Плотность. Плотность эмульсии можно рассчитать, зная плотнос­ти нефти и воды и их процентное содержание;

· Электрические свойства. Электропроводимость нефтяной эмульсии обусловливается не только количеством содержащейся воды и степенью ее дисперсности, но и количеством растворенных в этой воде солей и кислот. В нефтяных эмульсиях, помещенных в электрическом поле, капельки воды располагаются вдоль его силовых линий, что приводит к резкому увеличению электропроводимости этих эмульсий;

· Устойчивость и старение. Устойчивость - это способность эмуль­сий в течение определенного времени не разрушаться и не разделяться на нефть и воду. Устойчивость эмульсии определяется временем ее существования и выражается формулой:

,

где Н – высота столба эмульсии, см

u - средняя линейная скорость расслоения эмульсии, смс

На устойчивость нефтяных эмульсий большое влияние оказывают: дисперсность системы; физико-химические свойства эмульгаторов, об­разующих на поверхности раздела фаз адсорбционные защитные оболочке "брони" (рисунок 2, а); наличие на глобулах дисперсной фазы двойного электрического заряда, который защищает частицы эмульсии от слипа­ния; температура смешивающихся жидкостей - при повышении температу­ры устойчивость эмульсии понижается; величина рН эмульгированной пластовой воды - с увеличением рН, которое достигается введением щелочи, снижается механическая прочность бронированных оболочек. Утолщение брони всегда протекает во времени, поэтому эмульсия В/Н со временем становится более устойчивой, т.е. происходит ее "старение". В начальный период "старение" происходит интенсивно, затем постепенно замедляется и уже через сутки прекращается. Поэто­му свежие эмульсии разрушаются легче и быстрее.

 

а – «старение» нефтяной эмульсии: 1 – толщина брони, 2, 3 – эмульгирующие вещества (естественные ПАВ), 4 – капля воды;

б – происхождение двойного электрического заряда: 1 – положительно заряженная частица, 2 – отрицательно заряженная частица, 3 – дисперсионная среда, 4 – частица воды

 

Контрольные вопросы

 

  1. Что называется нефтяными эмульсиями?
  2. По каким признакам классифицируют нефтяные эмульсии?
  3. Перечислить основные физико-химические свойства нефтяных эмульсий.
  4. Что такое устойчивость нефтяных эмульсий?
  5. Какие вещества называют естественными эмульгаторами?

Цели:

· познакомить с деэмульгаторами;

· изучить установку с предварительным сбросом воды типа УПС-30006М

 

 

Сепарационные установки с предварительным сбросом пластовой воды предназначены для разгазирования и частичного (до 5-20% остаточного содержания пластовой воды) обезвоживания нефти перед подачей ее на установку комплексной подготовки нефти.

Автоматизированные установки для сепарации с предварительным сбросом пластовой воды типа УПС конструкции ТатНИИнефтемаша и СПКБ Нефтехимавтоматики предназначены для сепарации нефтяного газа и сброса свободной пластовой воды, а также для оперативного учета продукции скважин и имеют несколько модификаций.

Модернизированные установки типа УПС-30006М, УПС-63006М и УПС-300016М, УПС-630016М спроектированы по одной технологической схеме: конструкции их подобны и имеют унифицированную систему КИП и автоматики. Различие состоит в объемах технологических емкостей и диаметрах условных проходов штуцеров и запорно-регулирующей арматуры, а также в рабочих давлениях.

Установки типа УПС-30006М, УПС-63006М выполнены в моноблоке и состоят из блока сепарации и сброса воды, запорно-регулирующей арматуры и системы контроля и управления. Установки можно использовать как на первой, так и на второй ступени сепарации. Если установки используют на первой ступени сепарации, то необходима установка предварительного отбора газа перед поступлением продукции скважин в технологическую емкость. Если установку используют на второй ступени сепарации, то монтаж устройства предварительного отбора газа не требуется.

Блок сепарации и сброса воды А сплошной сферической перегородкой разделен на два отсека – сепарационный Б и отстойный В. Продукция скважин поступает в сепарационный отсек Б по соплу 1 и нефтеразливной полке 2, где происходит отделение основного объема нефтяного газа. Отделившийся нефтяной газ через регулятор уровня в сепарационном отсеке отводится в отсек В, откуда через каплеотбойники 4 и регулятор давления поступает в газовый коллектор.

Водонефтяная эмульсия из сепарационного отсека Б перетекает в отстойный отсек В под действием перепада давления между отсеками. Допустимый перепад давления между отсеками Б и В не более 0,2 МПа. Эмульсия перетекает через каплеобразователь, на входе в который водонефтяная эмульсия смешивается с горячей водой, поступающей с УПН и содержащий остаточный деэмульгатор. В каплеобразователе происходит укрупнение капель в результате многократных столкновений под действием турбулентных пульсаций. Если не используют каплеобразователь, то горячая вода с УПН подается в нефтегазопровод за 200-300 м до входа в технологическую емкость. Водонефтяную эмульсию вводят в отстойный отсек В через входной распределитель 3. Отстоявшаяся вода отводится через перфорированную трубу 8, расположенную в нижней части емкости. Предварительно обезвоженная нефть отводится через перфорированную трубу 7, расположенную в верхней части емкости, и через штуцер 5 или 6. Штуцер 6 используют при работе отстойной секции в режиме неполного заполнения, а штуцер 5 – при работе в режиме полного заполнения при незначительных газовых факторах.

Система контроля и управления осуществляет регулирование уровня нефть-газ и нефть-вода, давления в технологической емкости, измерение расходов предварительно обезвоженной нефти, сбрасываемой воды и горячей воды, сигнализацию предельных (аварийных) давлений и уровня нефти в емкости и отключение установки при их достижении, измерение давления и температуры.

При параллельной работе допускается использование не более двух установок.

 

Техническая характеристика УПС-30006М

 

Пропускная способность по сырью, м3 Рабочее давление, МПа Рабочая температура, оС Обводненность поступающей продукции, выходящей из установки, % Мощность, потребляемая системой контроля и управления, кВт Длина-ширина-высота, мм Масса, кг 0,6   до 20   1,5 17750-5345-4956

 

Для разрушения нефтяных эмульсий применяются деэмульгаторы, основное назначение которых - вытеснить с поверхностного слоя капель воды эмульгаторы - естественные ПАВ, содержащиеся в нефти и воде. Затем деэмульгатор образует гидрофильный адсорбционный слой, в результате чего капельки воды при столкновении сливаются в более крупные капли и оседают. Деэмульгаторы следует подавать на забой скважин и осуществлять "внутрискважинную" деэмульсацию. При подаче деэмульгаторов на забой скважин обычно эмульсия В/Н превращается в эмульсию Н/В.

Под эффективностью деэмульгаторов понимают их деэмульсационную способность, которая характеризуется их расходом, качеством подготовленной нефти (содержанием в ней остаточных хлористых солей, воды и механических примесей), а также минимальной температурой и продолжительностью отстоя нефти.

Деэмульгаторы, применяемые для разрушения эмульсии типа В/Н, делятся на две группы: на ионогенные (образующие ионы в водных растворах) и неионогенные (не образующие ионов в водных растворах).

К первой группе относятся НЧК - нейтрализованный черный контакт и НКГ - нейтрализованный кислый гудрон. Они малоэффективны и в настоящее время почти не применяются.

Неионогенные деэмульгаторы подразделяются на водорастворимые и нефтерастворимые. К водорастворимым относятся деэмульгаторы отечественного производства типа проксанол и проксамин. К нефтерастворимым деэмульгаторам отечественного производства относятся дипроксамин 157, импортного производства – дисолван, сепарол и т.д. Неионогенные деэмульгаторы синтезируют на основе продуктов реакции окиси этилена или окиси пропилена со спиртами, жирными кислотами и алкифенолами.

Преимущества неионогенных деэмульгаторов:

· не взамодействуют с растворенными в пластовой воде солями металлов и не образуют твердых осадков;

· удельный расход их значительно ниже (5-50 гт).

 

Физико-химическая характеристика реагентов-деэмульгаторов

 

Марка реагента Плотность при 20оС, кгм3 Температура застывания, оС
Проксамин Дипроксамин 157 Дисолван 4411 Сепарол 5084 - 930-950 -44 -38 - -50

Контрольные вопросы

 

  1. Для чего предназначены автоматизированные установки типа УПС?
  2. Из каких блоков состоит УПС?
  3. Для чего применяются деэмульгаторы?
  4. Что понимают под эффективностью деэмульгаторов?
  5. Перечислить реагенты-деэмульгаторы.

 

 

Занятие 3 Основные методы разрушения нефтяных эмульсий. Оборудование УПН

 

Цели:

· изучить основные методы разрушения нефтяных эмульсий;

· рассмотреть оборудование УПН

 

Существуют следующие основные методы разрушения нефтяных эмульсий:

· внутритрубная (путевая) деэмульсация;

· гравитационный отстой;

· центрифугирование;

· фильтрация через твердые пористые тела;

· термохимическая подготовка нефти;

· электродегидрирование.

 

Внутритрубная деэмульсация. Разрушение нефтяной эмульсии происходит в трубах на пути движения по стволу скважины, выкидной линии и сборному коллектору вплоть до УПН. Принцип прост и состоит в следующем: в межтрубное пространство эксплуатационных скважин или в начало сборного коллектора дозировочным насосом (15-20 гт) подается деэмульгатор, который сильно перемешивается с этой эмульсией в процессе ее движения до УПН и разрушает ее. Эффективность внутритрубной деэмульсации зависит от эффективности самого деэмульгатора, интенсивности и длительности перемешивания эмульсии с ПАВ, количества воды, содержащейся в эмульсии, температуры смешивания.

Гравитационный отстой. Происходит за счет разности плотностей пластовой воды и нефти в герметизированных отстойниках и сырьевых резервуарах. Гравитационный отстой может применяться также без нагрева эмульсии, когда нефть и вода не подвергаются сильному перемешиванию и в нефти практически отсутствуют эмульгаторы, обводненность при этом составляет около 60%.

Центрифугирование. Значительную силу инерции, возникающую в центрифуге, можно использовать для разделения жидкостей с различными плотностями. Разделение водонефтяных эмульсий в центрифугах – исключительно эффективный метод, который еще не нашел практического применения и находится в стадии эксперимента.

Фильтрация. Нестойкие эмульсии иногда успешно расслаиваются при пропускании их через фильтрующий слой (гравий, битое стекло, стекловата и др.). Данная деэмульсация основана на явлении селективного смачивания. Размеры фильтров, имеющих вид колонн, зависят от объема прокачиваемой эмульсии, ее вязкости и скорости движения. Нефтяная эмульсия вводится в колонну снизу и проходит через фильтр, где вода удерживается и сбрасывается через низ колонны, а нефть свободно про­ходит и отводится через верх. Применяется в сочетании с термохимическими методами.

Термохимические установки - ТХУ. Состоят из сепараторов-деэмуль­саторов, отстойников-электродегидраторов и другого оборудования. Око­ло 80% всей добываемой обводненной нефти обрабатывается на ТХУ, к преимуществам которых относятся предельная простота установки (теп­лообменник, отстойник и насос), сравнительно низкая чувствительность режима работы установки к значительному изменению содержания воды в нефти, возможность замены деэмульгаторов по мере изменения характе­ристики эмульсии без замены оборудования и аппаратуры.

Основной показатель качества товарной нефти, прошедшей обработ­ку на ТХУ, это остаточное содержание в ней воды и солей. В настоящее время широко распространены блочные ТХУ - УДО-2М, ПТБ-10 и др. в ко­торых одновременно происходят сепарация нефти от газа, обезвоживание и обессоливание ее.

Электродегидрирование. Электродегидраторы применяются для обессоливания средних, тяжелых и вязких нефтей.

 

Рисунок 3 – Эмульгированные капли воды в электрическом поле. Силовые линии а – в чистой нефти; б – в нефти с полярными каплями воды

 

 

Рисунок 4 – Сечение горизонтального электродегидратора 1 и 2 – электроды; 3 – изоляторы; 4 – трансформатор высокого напряжения; 5 – выход обессоленной и обезвоженной нефти; 6 – раздаточный коллектор; 7 – сброс отделенной воды

 

Принцип работы: если безводную нефть налить между двумя плоски­ми параллельными электродами, находящимися под высоким напряжением, то возникает однородное электрическое поле, силовые линии которого параллельны друг другу (рисунок 3, а). При замене безводной нефти эмуль­сией типа В/Н расположение силовых линий меняется и однородность по­ля нарушается (рисунок 3, б), в результате диспергированные капли поля­ризуется и вытягиваются вдоль силовых линий с образованием в вершинах капель воды электрических зарядов, противоположных зарядам на электродах. Происходит сначала упорядоченное движение, а затем столкновение капель воды. Эффективность разрушения эмульсий в поле пе­ременного тока значительно выше, чем в поле постоянного: тока.

Разработаны типовые горизонтальные электродегидраторы: 1ЭГ-160 и 2ЭГ-160/3. Первый электродегидратор (рисунок 4) имеет два электрода, второй - три.

Эмульсия подается в ЭГ через маточник 6, затем она проходит слой отстоявшейся воды, уровень которой поддерживается автоматически на 20-30 см выше маточника. В этой зоне нефтяная эмульсия подвергается водной промывке, в результате которой она теряет основную массу со­леной воды. Затем эмульсия, поднимаясь в вертикальном направлении с небольшой скоростью, последовательно подвергается обработке сна­чала в зоне слабой напряженности электрического поля между уровнем отстоявшейся воды и нижним электродом 1. а затем в зоне сильной напряженности между электродами 1 и 2.

 

 

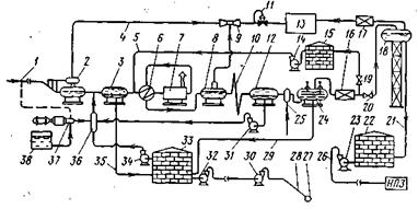
Работает эта установка следующим образом. Нефть, газ и вода по промысловому сборному коллектору 1 под давлением 1-1,5 МПа на­правляются в сепаратор первой ступени 2 с предварительным отбором газа. Газ из сепаратора по газопроводу 4 поступает в эжектор 9, а из него под собственным давлением - на ГПЗ 13. Обводненная нефть из сепаратора 2 направляется в отстойник 3, где происходит предвари­тельное разрушение эмульсии и сброс по водоводу 35 отделившейся во­ды в резервуар с гидрофобным жидкостным фильтром 33. В отстойнике полностью разрушить эмульсию и отделить воду от нефти невозможно, часть этой воды (до 4%) вместе с нефтью в виде эмульсии поступают в теплообменник 6, в котором она предварительно нагревается за счет горячей нефти, выходящей из деэмульсатора (печи) 7. В печи 7 эмуль­сия нагревается до температуры 40-70°0 за счет сжигания газа в топке, в результате чего выделяются из нефти углеводородные газы. Го­рячая нефтегазоводяная смесь проходит межтрубное пространство теп­лообменника 6 и направляется в сепаратор второй ступени 8. Газ из сепаратора второй ступени 8 подается в эжектор 9, разрушенная от нагрева в печи эмульсия попадает в каплеобразователь 10, призванный укрупнить капли воды до размеров, способных осаждаться и отделяться от нефти. Окончательно нефть от воды отделяется в отстойнике по обезвоживанию нефти 12. Горячая вода с ПАВ из отстойника 12 забира­ется насосом 31 и подается в смеситель 36, в который одновременно нагнетается деэмульгатор дозировочным насосом 37. Смесь горячей воды с деэмульгатором направляется в линию, соединяющую сепаратор 2 с отстойником предварительного сброса воды 3.

Дозировочным насосом 37 деэмульгатор может подаваться также в сборный коллектор 1 и перед теплообменником 6. В том случае, если эмульгированная нефть в герметизированной системе сбора движется не за счет давления на устьях скважин, а сырьевым центробежным насосом, то деэмульгатор нужно подавать на прием этого насоса, а сборный коллектор, соединяющий БДНС с УПН, использовать как каплеобразователь.

При подаче деэмульгатора в сборный коллектор (пунктирная линия) расстояние от точки ввода деэмульгатора до сепаратора или отстойника должно быть не менее 100-150 м. Такое расстояние позволяет осуществлять эффективное перемешивание эмульсии с ПАВ и быстрое ее расслоение.

Обезвоженная практически полностью в отстойнике 12 нефть (до 1%) содержит в себе еще много солей (до 1000 мг/л). Поэтому эта нефть из отстойника 12 направляется в смеситель, куда по линии 25 подается пресная вода для ее обессоливания. Затем нефть, тщательно перемешанная с пресной водой, поступает в электродегидратор 24, предназначенный для обессоливания средних и тяжелых вязких нефтей. Из электродегидратора 24 обессоленная и обезвоженная нефть направляется в автомат количества и качества товарной нефти 16, где специальные приборы контролируют допустимое в нефти количество воды и солей. Если нефть окажется некондиционной (воды > 1% и солей > 100 мг/л), то автоматически закрывается кран 20 и открывается кран 19, эта нефть поступает в резервуар 15, из которого насосом 14 подается в теплообменник 6 и печь 7. Если нефть кондиционная, то она поступает на третью ступень сепарации - концевой сепаратор 18, из которого самотеком по нефтепроводу 21 попадает в парк товарных резервуаров 22. Оттуда забирается насосами головной станции 23 и по магистральному нефтепроводу 26 транспортируется на НПЗ.

 

Рисунок 5 - Принципиальная схема УПН, применяемая при герметизированной системе сбора

 

Отделившаяся вода в электродегидраторе 24 сбрасывается в резе­рвуар 33, где она окончательно освобождается от капелек нефти и за­бирается насосом 32 для подачи ее на КНС. Там установлены насосы высокого давления 30 (до 20 МПа) для подачи воды по водоводу 28 в нагнетательные скважины 27 для ППД.

Нефть, выделившаяся из пластовой воды в резервуаре 33, насосом 34 подается в смеситель 36, а затем в отстойник предварительного сброса воды 3.

 

Теплообменники. Существуют кожухотрубчатые и "труба в трубе".

Печь ПТБ-10. Предназначена для нагрева нефтяных эмульсий в промысловых условиях.

Блок нагрева БН-5,4 нефтяной эмульсии с отстойниками и каплеобразователем. Предназначается для интенсивного нагрева и пере­мешивания эмульсии с ПАВ, в результате чего происходит ее разруше­ние. Каплеобразователь предназначается для доведения ПАВ до капе­лек пластовой воды и разрушения "бронирующих" оболочек.

Эжекторы. В нефтяной промышленности применяются в качестве смесителей промывочной воды при обессоливании нефти, а также отбо­ра низконапорного газа высоконапорным. В газовой промышленности - для отбора также низконапорного газа высоконапорным.

Отстойники. Предназначаются для отделения воды от нефти при подаче в них частично или полностью разрушенной эмульсии. Отстой­ники могут использоваться для предварительного сброса воды при сильно обводненной нефти или после печей для окончательного обезвоживания нефти. В настоящее время имеется большое число отстойни­ков для предварительного и окончательного отделения воды от нефти. Все они отличаются некоторыми конструктивными элементами.

 

Контрольные вопросы

 

  1. Перечислить основные методы разрушения нефтяных эмульсий.
  2. От чего зависит эффективность внутритрубной деэмульсации?
  3. Каким образом работает электродегидратор?
  4. Какие существуют теплообменники?
  5. Для чего предназначаются отстойники?

 

<== предыдущая лекция | следующая лекция ==>
Свойства эмульсий | 
Поделиться с друзьями:


Дата добавления: 2013-12-12; Просмотров: 1672; Нарушение авторских прав?; Мы поможем в написании вашей работы!


Нам важно ваше мнение! Был ли полезен опубликованный материал? Да | Нет



studopedia.su - Студопедия (2013 - 2026) год. Все материалы представленные на сайте исключительно с целью ознакомления читателями и не преследуют коммерческих целей или нарушение авторских прав! Последнее добавление




Генерация страницы за: 0.012 сек.