Студопедия

КАТЕГОРИИ:


Архитектура-(3434)Астрономия-(809)Биология-(7483)Биотехнологии-(1457)Военное дело-(14632)Высокие технологии-(1363)География-(913)Геология-(1438)Государство-(451)Демография-(1065)Дом-(47672)Журналистика и СМИ-(912)Изобретательство-(14524)Иностранные языки-(4268)Информатика-(17799)Искусство-(1338)История-(13644)Компьютеры-(11121)Косметика-(55)Кулинария-(373)Культура-(8427)Лингвистика-(374)Литература-(1642)Маркетинг-(23702)Математика-(16968)Машиностроение-(1700)Медицина-(12668)Менеджмент-(24684)Механика-(15423)Науковедение-(506)Образование-(11852)Охрана труда-(3308)Педагогика-(5571)Полиграфия-(1312)Политика-(7869)Право-(5454)Приборостроение-(1369)Программирование-(2801)Производство-(97182)Промышленность-(8706)Психология-(18388)Религия-(3217)Связь-(10668)Сельское хозяйство-(299)Социология-(6455)Спорт-(42831)Строительство-(4793)Торговля-(5050)Транспорт-(2929)Туризм-(1568)Физика-(3942)Философия-(17015)Финансы-(26596)Химия-(22929)Экология-(12095)Экономика-(9961)Электроника-(8441)Электротехника-(4623)Энергетика-(12629)Юриспруденция-(1492)Ядерная техника-(1748)

Понятие аэродинамических трубах и гидролотках

Аэродинамические эксперименты проводятся в аэродинамических трубах –исследо-вательских экспериментальных установках, в которых можно создать искусственный ре-гулируемый поток газа для продувки моделей ЛА или реальных объектов и проводить ис-следования физической картины обтекания и законов движения газа.

В зависимости от поставленной задачи аэродинамические исследования проводятся в аэродинамических трубах различной конструкции и назначения:

- малых скоростей ( );

- сверхзвуковых скоростей );

- переменной плотности;

- натуральной величины ЛА;

- специального назначения (штопорные, свободного полета, плазменные,дымовые)

Первая аэродинамическая труба в России была построена основоположником совре-менной ракетно-космической техники К.Э. Циолковским в 1887г. в г. Калуга.

В дальнейшем аэродинамические трубы широко использовались в научно – исследо-вательских целях Н.Э. Жуковским. Под его руководством в 1904г. была построена аэроди-намическая труба диаметром 1,2 м в Московском высшем техническом училище им. Баумана со скоростью потока до 20 м/с, в ЦАГИ в г. Жуковском в 1918г. Диаметр совре-менных аэродинамических труб достигает порядка 20 м, где можно было проводить ис-следования ЛА натурной величины.

По способу получения воздушного потока аэродинамические трубы подразделяются на:

- вентиляторные (компрессорные);

- баллонные;

- вакуумные;

- эженторные;

Воздушные тракты аэродинамических труб могут выполняться замкнутыми и незам-кнутыми.

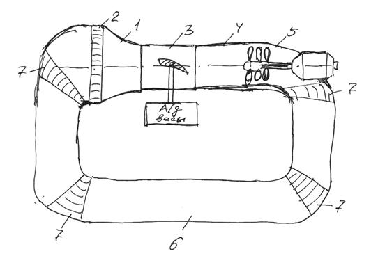
Аэродинамическая труба с незамкнутым контуром (труба прямого действия) состоит из:

- коллектора – 1;

- спрямляющей решетки – 2;

- рабочей части – 3;

- диффузора – 4;

- вентилятора – 5;

Рис 1.4.4 Аэродинамическая труба с незамкнутым воздушным контуром

 

Коллектор предназначен для того, чтобы на входе в рабочую часть трубы поток воз-духа стал плавным, без завихрений. Для этого поток воздуха коллектора подвергается большому сжатию: площадь поперечного сечения на входе в 5-ть и больше раз больше чем площадь перед спрямляющей решеткой.

Диффузор предназначен для плавного уменьшения скорости потока при подходе к вентилятору, чтобы снизить потери энергии на трения воздуха о стенки трубы и умень-шить расчетный перепад давления вентилятора.

Трубы прямого действия могут быть с закрытой или открытой рабочей частью и ра-ботать на всасывание или нагнетание. Такие трубы просты по конструкции, малогабарит-ны, но неэкономичны.

Аэродинамические трубы с замкнутым контуром кроме общепринятых частей трубы прямого действия имеют обратный канал для циркуляции воздушного потока и поворот-ные лопатки для уменьшения завихрения на поворотах. Трубы с замкнутым контуром зна-чительно экономичнее, но громоздкие и имеют большую турбулентность потока.

Рис 1.4.5 Аэродинамическая труба с замкнутым контуром.

Где

6 – канал обратного тока воздуха

7 – поворотные лопатки

Для измерения аэродинамических сил и моментов трубы снабжаются аэродинами-ческими весами, и манометрами для определения давления и скорости в различных точках потока, а также различными оптическими приборами для наблюдения и фотографирова-ния спектров обтекания. По числу измеряемых а/д сил и моментов аэродинамические весы бывают одно-двух-трех и шести компонентные. Широкое применение получили автома-тические и тензометрические весы.

Для использования экспериментальных продувок на моделях и распространять их результаты на реальные объекты необходимо моделировать весь процесс. И. Ньютон раз-работал теорию подобия и создал научный труд «Закон аэродинамического подобия». Этот закон позволяет осуществлять переход от модели к натурному объекту и с доста-точной точностью выполнить аэродинамические и прочностные расчеты ЛА.

 

 

ЛЕКЦИЯ 2.1 ПОНЯТИЕ О ПОТОКЕ ЖИДКОСТИ И ГАЗОВ, ВИДЫ ДВИЖЕНИЯ И ЕГО СВОЙСТВА

 

План:

<== предыдущая лекция | следующая лекция ==>
Принцип моделирования в аэродинамике | Место теории в изучении среды
Поделиться с друзьями:


Дата добавления: 2013-12-12; Просмотров: 488; Нарушение авторских прав?; Мы поможем в написании вашей работы!


Нам важно ваше мнение! Был ли полезен опубликованный материал? Да | Нет



studopedia.su - Студопедия (2013 - 2025) год. Все материалы представленные на сайте исключительно с целью ознакомления читателями и не преследуют коммерческих целей или нарушение авторских прав! Последнее добавление




Генерация страницы за: 0.104 сек.