Студопедия

КАТЕГОРИИ:


Архитектура-(3434)Астрономия-(809)Биология-(7483)Биотехнологии-(1457)Военное дело-(14632)Высокие технологии-(1363)География-(913)Геология-(1438)Государство-(451)Демография-(1065)Дом-(47672)Журналистика и СМИ-(912)Изобретательство-(14524)Иностранные языки-(4268)Информатика-(17799)Искусство-(1338)История-(13644)Компьютеры-(11121)Косметика-(55)Кулинария-(373)Культура-(8427)Лингвистика-(374)Литература-(1642)Маркетинг-(23702)Математика-(16968)Машиностроение-(1700)Медицина-(12668)Менеджмент-(24684)Механика-(15423)Науковедение-(506)Образование-(11852)Охрана труда-(3308)Педагогика-(5571)Полиграфия-(1312)Политика-(7869)Право-(5454)Приборостроение-(1369)Программирование-(2801)Производство-(97182)Промышленность-(8706)Психология-(18388)Религия-(3217)Связь-(10668)Сельское хозяйство-(299)Социология-(6455)Спорт-(42831)Строительство-(4793)Торговля-(5050)Транспорт-(2929)Туризм-(1568)Физика-(3942)Философия-(17015)Финансы-(26596)Химия-(22929)Экология-(12095)Экономика-(9961)Электроника-(8441)Электротехника-(4623)Энергетика-(12629)Юриспруденция-(1492)Ядерная техника-(1748)

Указания по усилению оснований и фундаментов




5.3.1. Выбор способа усиления оснований и фундаментов, зданий, имеющих недопустимые деформации, нарушающие его нормальную эксплуатацию, а также при реконструкции с увеличением нагрузок па фундаменты, следует выполнять с учетом:

а) характера деформаций наземных конструкций (нарастания, затухания, стабилизации, периодичности их проявления — сезонного, регулярного, аварийного, одно- или многократного, случайного, многолетнего и т. п.);

б) типа здания по характеру технологического процесса и вероятности обводнения грунтов в его основании, в том числе:

зданий с технологическим процессом, сопровождающимся регулярным разливом воды или водных жидкостей на отдельных участках или на всей площади;

то же, зданий, не имеющих технологического процесса с регулярным разливом воды или водных жидкостей, оснащенных водонесущими сетями и помещениями бытового назначения;

то же, не оснащенных водонесущими сетями и устройствами, за исключением систем наружного водоотвода и ливневой канализации, с расположением наружных водонесущих сетей на расстояниях, превышающих полуторную глубину просадочной толщи под объектом;

в) наличия (отсутствия) внешних постоянно действующих или возможных (аварийных) источников замачивания грунтов основания (водохранилищ, градирен, бассейнов, прудов-отстойников, резервуаров и др.), расположенных вблизи объекта усиления (реконструкции);

г) характера технологического процесса в здании после завершения его реконструкции (см. п. "б") и оснащенности водонесущими сетями, устройствами и оборудованием;

д) продолжающихся утечек воды из неисправных водонесущих сетей и сооружений водопровода, канализации, теплоснабжения, ливнесборников, выпусков ливневой и бытовой канализации и т. п.;

е) подъема уровня подземных вод (постоянного, сезонного);

ж) ежегодного затопления территории застройки паводковыми водами;

и) нарушения условий естественного стока атмосферных и талых вод вследствие отсутствия необходимой вертикальной планировки на застроенной территории;

к) бесконтрольного полива зеленых насаждений.

5.3.2. Выбор конструкции усиления следует, наряду с учетом факторов, перечисленных в п. 5.3.1., производить исходя из степени подготовки основания и условий сложности строительства, которые подразделяются на группы:

— на площадке объекта (1 группа) — в зависимости от состава и объема выполненных подготовительных инженерных мероприятий по полному или частичному устранению просадочных свойств грунтов от внешней нагрузки в верхней зоне основания (табл. 5.1):

Таблица 5.1

Группы сложности условий строительства на площадке объекта Просадка фунтов Ssl, p от внешней нагрузки в верхней зоне основания hsl, p
1-А (тяжелые) не устранена
1-Б (средние) устранена частично
1-В (легкие) устранена полностью

 

— на территории застройки (2 группа) — в зависимости от величин возможного искривления (наклона) и относительных горизонтальных деформаций поверхности основания при просадке грунтов толщи от собственного веса с учетом выполненных геотехнических мероприятий по устранению их просадочных свойств в пределах иросадочной толщи Нsl(табл. 5.2):

Таблица 5.2

Группы сложности условий строительства на территории застройки Деформации здания совместно с основанием S0+Sg при просадке грунтов от собственного веса S sl, g
2-А (тяжелые) S0+Sg>S'u
2-Б (средние) S'u>S0+Sg>Su
2-В (легкие) S0+Sg≤Su

Примечание к табл. 5.2:

S0+Sg - включает относительную разность осадок 50 и просадок 5^ смежных фундаментов, расстояние между которыми I;

S0 — величина совместных деформаций для грунтов естественной влажности;

Sg — то же, дополнительных совместных деформаций с учетом параметров искривления грунтов основания от собственного веса;

Su, S'u значения предельных совместных деформаций в зависимости от конструктивной системы здания для случаев, когда конструкции объекта рассчитаны или не рассчитаны на усилия, возникающие в них при взаимодействии с основанием (п. 5.2.1).

5.3.3. В зависимости от характера и вида источника замачивания основания, длительности (периодичности) его действия, областей локализации деформаций в наземных конструкциях здания, динамики их развития и степени опасности для прочности, устойчивости, трещиностойкости конструкций, а также для обеспечения нормальной эксплуатационной пригодности объекта, следует разрабатывать инженерные мероприятия по устранению дальнейшего (продолжающегося) замачивания фунтов в основании его фундаментов или для максимально возможного снижения влияния факторов, перечисленных в п. 5.3.1.

5.3.4. При расчете и проектировании конструкций следует определять расчетом величины прогнозируемых осадок этих фундаментов с учетом изменения (увеличения, уменьшения) их размеров в плане и по глубине, изменения характера и величин нагрузок на них, величин давлений на грунт под их подошвами и т. д. При этом следует проверять возможную неравномерность осадок, а при группах сложности условий строительства 2—А, Б, В (табл. 5.1, 5.2) также учитывать искривление основания при замачивании грунтовой толщи вследствие ее просадки от собственного веса.

5.3.5. Технические решения по усилению грунтового основания и фундаментов принимаются в зависимости от вида действующих на здание факторов (п. 5.3.1—5.3.2) после выполнения работ, предусмотренных п. 5.3.3.

В состав технических решений по усилению фундаментов должны включаться сопутствующие конструктивные элементы, обеспечивающие проектное опирание колонн, связей, выпуски анкеров для крепления стальных стоек, устройство (наращивание) стаканов в верхней ступени башмаков в случае поднятия колонн, выравнивающие набетонки, подливки и прочее, исходя из максимальных прогнозируемых величин осадок и их возможной неравномерности.

В тех случаях, когда по обоснованным причинам (в частности, при технологическом процессе с непрерывным разливом воды) не может быть обеспечено полное предотвращение утечек воды в грунты основания, следует разрабатывать технические решения по максимальному снижению утечек воды в грунт, а также усиления (приспособления) конструкций здания для восприятия ими усилий и возможных перемещений, вызванных деформациями основания.

5.3.6. Инженерные мероприятия по восстановлению эксплуатационной пригодности зданий, имеющих недопустимые деформации вследствие просадки грунтов в основании их фундаментов, следует выполнять только после завершения работ по п. 5.3.3 и геодезического подтверждения стабилизации осадок фундаментов и деформаций наземных конструкций.

В случаях, когда деформации конструкций здания стабилизировались, но сохраняется опасность повторного замачивания фунтов основания с соответствующим появлением (и развитием) новых деформаций в конструкциях, может применяться закрепление (стабилизация) лессового грунта путем его силикатизации, обжига (термического закрепления), смолизации или др. проверенных на практике методов. При этом, как правило, допускается ограничиваться ремонтно-восстановительными работами, выполненными на первом этапе ликвидации последствий просадки основания без дополнительных усилений фундаментов и наземных конструкций.

Если закрепление просадочного основания указанными выше способами невозможно по обоснованным причинам (непрерывный технологический процесс, плотность размещения оборудования, водонасыщенный грунт основания и пр.), проектирование и расчет усиления фундаментов производится по фактическим физико-механическим характеристикам грунтов основания при их полном водонасыщении (степени влажности Sr> 0,8).

5.3.7. Силикатизация и смолизация просадочных лессовых грунтов осуществляется нагнетанием через систему инъекторов водных растворов силиката натрия или смолы с отвердителем. В зависимости от фильтрационных свойств грунта применяется силикатизация однорастворная, двухрастворная и электросиликатизация.

Применение силикатизации и электросиликатизации при наличии в толще грунта нефтяных продуктов, смол, масел, а также при температуре фунта в зоне закрепления ниже ГС не эффективно.

Термическое закрепление (обжиг) осуществляется сжиганием газового топлива либо при помощи электронагрева в пробуренных скважинах при низкой влажности фунта основания и применяется, как правило, с целью создания под зданием обожженного массива заданной формы и глубины. В процессе выполнения работ по силикатизации фунтов основания в начальный период нагнетания в грунт водного раствора силиката возможно нарастание имеющихся осадок (просадок), что должно быть учтено при разработке проекта усиления фундаментов и наземных конструкций.

При применении способа обжига температура у подошвы фундамента может превышать предел сохранности прочности материала (для бетона 200°С), для предотвращения чего верх обожженного массива не доводят до подошвы фундамента на 0,3—0,5м. При этом следует применять специальные меры для защиты от проникания продуктов сгорания в эксплуатируемые помещения. В связи с этим применение способа обжига в объектах с постоянным пребыванием людей не рекомендуется.

5.3.8. При невозможности закрепления грунтов основания (п. 5.3.6) усиление деформированных конструкций фундаментов может выполняться путем уширения их подошв, наращивания (усиления) тела фундамента или подводки под них свай (в том числе, задавливаемых), опирающихся на прочные слои грунта.

4.3.9. Уширение подошв ленточных фундаментов или увеличение площади подошв столбчатых фундаментов зданий независимо от группы сложности условий строительства (п. 5.3.2), может выполняться с помощью конструктивно-технологических решений в соответствии с рис. 5.1...5.8.

При этом следует учитывать, что при увеличении площади передачи нагрузки на основание возрастает глубина зоны просадки от внешней нагрузки hsl, p под усиленными фундаментами с соответствующим ростом величины возможной просадки при замачивании их оснований (рис. 5.9, а).

При группе сложности условий строительства 1—А (тяжелых) уширение подошв ленточных фундаментов или увеличение площади подошв столбчатых фундаментов не предотвращает развития возможных просадок в их основании как при замачивании сверху, так и при подъеме уровня подземных вод.

При группах сложности условий строительства 1—Б, 1—В (средних и легких) необходимо проверять расчетом величину возрастания глубины зоны просадки от внешней нагрузки hsl, p и в зависимости от этого принимать решение о целесообразности (нецелесообразности) увеличения площади подошв существующих фундаментов либо использовании других способов усиления.


 

УСИЛЕНИЕ СТОЛБЧАТЫХ ФУНДАМЕНТОВ

 

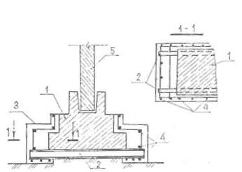
Рис. 5.1. Устройство железобетонной рубашки с уширением площади подошвы

/ — усиливаемый фундамент; 2 — обработанная поверхность (насечка);

3 — подготовка из тощего бетона; 4 — железобетонная рубашка с уширением;

5 — колонна; 6 — арматура усиления

 

 

 
 

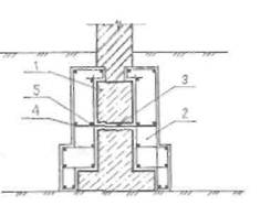
Рис. 5.2. Увеличение опорной площади железобетонного фундамента

1 — усиливаемый фундамент; 2 — приливы иа бетона; 3 — рабочая арматура существующего фундамента; 4 — арматура усиления; 5 — сколотая поверхность бетона;

6 сварка; 7 — подготовка из тощего бетона по уплотненному грунту

Рис. 5.3. Увеличение опорной площади железобетонного столбчатого фундамента

1 — усиливаемый железобетонный фундамент; 2 — металлические балки; 3 — приливы из бетона; 4 — арматура усиления; 5 — железобетонная колонна

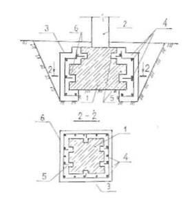
Рис. 5.4. Увеличение опорной площади бетонного столбчатого фундамента

1 — существующий бетонный фундамент; 2 — колонна; 3 ~ железобетонная обойма; 4 — арматура усиления; 5 — штрабы в теле фундамента; 6 — металлические штыри

 

УСИЛЕНИЕ МОНОЛИТНЫХ И СБОРНЫХ ЛЕНТОЧНЫХ ФУНДАМЕНТОВ

Рис. 5.5. Подведение новых элементов с ослаблением фундаментной стены

/ — монолитный ленточный фундамент; 2 — дополнительные опоры-фундаменты;

3 — металлические балки усиления; 4 — подкладки; 5 — отметка пола подвала; 6 — слой

грунта с наибольшей несущей способностью; 7 — отверстие в фундаменте стены

 



 

Рис. 5.6. Подведение новых элементов без ослабления фундаментной стены

/ — монолитный ленточный фундамент; 2 — дополнительные опоры фундамента;

3 — монолитные железобетонные балки усиления: 4 — рабочая арматура балок; 5 — подкладки; 6 — отметка пола подвала; 7 — слой фунта с наибольшей несущей способностью

Рис. 5.7. Увеличение ширины подошвы ленточного фундамента

устройством приливов из бетона

1 существующий фундамент; 2 — новая часть фундамента; 3 — металлические балки, пропущен­ные через отверстия в стене; 4 — уплотненная гравийно-песчаная смесь (или тощий бетон по уплот­ненному грунту); 5 — арматура

 

Рис. 5.8. Увеличение ширины по­дошвы и закрепление бетонной

стены устройством железобетонной обоймы

1 — существующий фундамент; 2 — железобетонная обойма; 3 — отверстие, заполняемое жидким цементным раствором; 4 — металлический анкер;

5 - арматура, приваренная к анкеру

 


Рис. 5.9. К усилению оснований, сложенных на просадочных грунтах, при увеличении площади передачи нагрузки на основание (а) или увеличении нагрузки на фундамент (б).

1 — распределение вертикальных напряжений от собственного веса грунта по глубине толщи; 2 - то же. от внешней нагрузки и собственного веса грунта до реконструкции;

3 — то же. после реконструкции; 4 — изменение но глубине толщи начального

просадочного давления рsl,

Возрастание возможной величины просадки может иметь место и при увеличении нагрузки на фундамент (при надстройке здания, увеличении полезных нагрузок и т. п.) без увеличения площади его подошвы (рис. 5.9, б).

5.3.10. В тех случаях, когда увеличение площади подошв существующих фундаментов не может быть применено или его применение нецелесообразно (п. 5.3.9), следует рассматривать варианты усиления путем подводки свай, полностью прорезающих слои нросадочного грунта в основании фундамента и опирающихся в слой непросадочного грунта достаточной прочности. С этой целью могут использоваться сваи различных типов (вдавливаемые, буроинъекционные, набивные и другие — рис. 5.10...5.13).

 

УСИЛЕНИЕ ЛЕНТОЧНЫХ ФУНДАМЕНТОВ

ПЕРЕДАЧЕЙ НАГРУЗКИ НА СВАИ

 

 

 

Рис. 5.10. Передача нагрузки от стены на короткие забивные сваи

/ - существующий ленточный фундамент; 2 — забивные железобетонные короткие сваи (длиной до 3—4,5мм ); 3 — железобетонная обойма; 4 — основная рабочая арматура; 5 — отверстие, проделываемое в швах между фундаментными бло­ками; 6 — кирпичная стена

 

 

 

 

Рис. 5.11. Передача нагрузки от стены на составные железобетонные сваи,

погружаемые задавливанием

1 существующий фундамент; 2 — звенья составных железобетонных свай; 3 ~ железобетонная балка, устраи­ваемая вдоль стены здания; 4 — стыки свай; 5 — сколотая поверхность фундаментной плиты; 6 — штольня

 

УСИЛЕНИЕ ФУНДАМЕНТОВ ПЕРЕДАЧЕЙ НАГРУЗКИ

НА ВЫНОСНЫЕ СВАИ

 

 

 

Рис. 5.12. Устройство выносных буронабивных свай

1 - существующий разгружаемый фундамент; 2 — монолитная железобетонная балка;

3,4 - соответственно сваи, работающие на выдергивание и сжатие; 5,6 — отметки низа

свай; 7 - кирпичная стена; 8 - засыпка; 9 - гидроизоляция; 10 - анкер

Рис. 5.13. Устройство выносных буронабивных свай с опорным уширением

1 — разгружаемый фундамент; 2 — металлическая балка; 3 — свая, работающая на сжатие;

4 — свая, работающая на выдергивание; 5 — уширение сваи; 6 — отверстие, заделываемое

бетоном; 7 — металлическая балка-обвязка; 8 — упорный уголок; ° — штольня; 10 ~ подкос;

11 — хомут; 12 — кирпичная стена

 

5.3.11. При определении несущей способности свай усиления следует исходить из условий фактического напряженного состояния грунтов основания, установившегося к моменту начала работ по усилению основания и фундаментных конструкций (п. 5.2.4), при котором суммарные сжимающие напряжения в просадочной толще, как правило, превышают значения начального просадочного давления. Вследствие этого при замачивании основания сверху или при подъеме уровня грунтовых вод возникает просадка грунта, окружающего сваю усиления, что вызывает развитие сил отрицательного трения по боковой поверхности этой сваи. В связи с этим и принимая во внимание практическую неизбежность обводнения грунтов околосвайного пространства в течение нормативного периода эксплуатации здания следует рассчитывать несущую способность свай усиления с учетом сил отрицательного трения по их боковой поверхности.

5.3.12. При проектировании усиления существующих фундаментов с помощью свай (см. выше) необходимо исходить из того, что включение в работу подвешенных свай для восприятия ими нагрузки от здания происходит только после оседания (просадки) грунтов, окружающих сваю, что приводит к нарушению или ослаблению контакта между подошвой существующего фундамента и грунтом основания под ним, из-за чего передающаяся на фундамент нагрузка воспринимается сваями усиления.

5.3.13. Расчет усиления в виде свай-стоек, воспринимающих помимо нагрузки от здания также силы отрицательного трения по их боковой поверхности, производится только по прочности материала ствола сваи на суммарную нагрузку от здания и сил отрицательного трения. При этом расчет свай-стоек по деформациям не требуется.

5.3.14. При проектировании усиления с помощью висячих свай следует принимать во внимание, что в случаях локальных замачиваний основания под частью здания возможно проявление и развитие сил отрицательного трения по боковой поверхности свай (группы свай), находящихся в зоне замачивания, что может вызывать значительную неравномерность осадок фундаментов объекта и деформации его наземных конструкций.

Для предотвращения этого, а также при неравномерных осадках фундаментов во время производства строительных работ (см. далее, п.п. 5.4.4, 5.4.5) необходимо разрабатывать технические мероприятия, включающие водозащиту грунтов основания и временное усиление наземных конструкций.

Осуществление этих мероприятий должно выполняться при обнаружении нарастающих (незатухающих) осадок фундаментов или других непредвиденных деформаций конструкций объекта в процессе производства работ (п. 5.4.7).

5.3.15. Для снижения величины или полного исключения влияния сил отрицательного трения по боковой поверхности свай усиления могут применяться антифрикционные покрытия (смазки) бетонной поверхности вдавливаемых или подводимых свай, устраиваться защитные экраны или использоваться другие, проверенные на практике инженерные приемы и способы.

5.3.16. При расчете и проектировании свай усиления под существующими фундаментами (системой смежных фундаментов, ростверками, плитами, перекрестными фундаментными лентами и т. п.) необходимо принимать во внимание часть действующей нагрузки, которая будет передаваться на основание существующими фундаментами после окончания работ по усилению или реконструкции. В этом случае сваи усиления должны передавать на основание лишь часть внешней нагрузки, а также служить для предотвращения и обеспечения стабилизации дальнейших осадок (просадок) грунтов и деформирования наземных конструкций при случайном или аварийном замачивании основания.

Исключение из работы по грунту существующих фундаментных конструкций допускается только при установлении их полной технической непригодности.

5.3.17. Уширение подошв ленточных фундаментов или увеличение площади подошв столбчатых фундаментов зданий допускается выполнять по расчету исходя из условия:

р+σzg0≤pslн (5.2)

где р — среднее давление под подошвой усиливаемого фундамента от полной нагрузки, передаваемой им на основание после окончания работ по его усилению, кПа;

σzg0 — напряжение от собственного веса грунта на отметке заложения фундамента кПа;

psl — средняя величина начального просадочного давления грунтов основания в пределах глубины верхней зоны просадки /г<; от внешней нагрузки, кПа;

γн коэффициент, учитывающий условность определения величины начального просадочного давления и ее неравномерность по глубине. Принимается равным 1,1 при psl ≥100кПа и 1,2 при psl <100кПа.

Примечание. При величине psl <0,8кПа усиление фундаментов по условию (5.2) допускается только для зданий III и IV Групп капитальности (КДП-204/12, Украина, 1993).

5.3.18. Усиление фундаментов по условию (5.2) может выполняться только на площадках с группой сложности условий строительства 1—А при неустраненной просадочности грунтов основания в зоне hsl, p ,.

При группе сложности условий строительства 1—Б (при наличии под фундаментом уплотненной грунтовой подушки) расчет усиления (увеличение площади подошвы) фундамента выполняется из условия

р+σzg0≤R (5.3)

где R — расчетное сопротивление уплотненных грунтов подушки под подошвой фундамента, кПа.

При этом следует проверять, чтобы суммарные давления на подошве уплотненной грунтовой подушки от распределяемой по глубине нагрузки от здания, веса фундамента и собственного веса грунтов подушки не превышали начального просадочного давления грунтов, лежащих ниже подушки.

5.3.19. При группе сложности условий строительства 1—В расчет площади подошв усиливаемых фундаментов производится из условия

р≤R1 (5.4)

где R1 — расчетное сопротивление грунтов основания при полном устранении их просадочности, вычисленное при степени влажности грунта Sr> 0,8.

Примечание. Соображения по расчету усиления, изложенные в п.п. 5.3.17...5.3.19, распространяются на условия строительства 2— А, Б, В, т. е. при возможности искривления земной поверхности при просадке основания от собственного веса,— см. ниже п. 5.3.22.

5.3.20. После завершения расчетов усиления фундаментов по условиям (5.2...5.4) необходимо поверять расчетом разность осадок смежных фундаментов для установления соответствия нормативным требованиям предельной неравномерности осадок для данного здания.

5.3.21. Не допускается усиление фундаментов производственных зданий, оснащенных крановым оборудованием, зданий со сложными схемами передачи нагрузок на основание, многоэтажных каркасных и бескаркасных зданий и т. п. на основе условия (5.2) независимо от группы сложности условий строительства.

5.3.22. При необходимости усиления фундаментов конструкций, расположенных на просадочных грунтах с группами условий строительства 2—А, 2—Б и 2—В (то есть при возможности просадки основания от собственного веса с соответствующим оседанием и искривлением земной поверхности) расчет и проектирование усиления фундаментов и наземных конструкций выполняется в соответствии с пп. 5.3.6...5.3.21 с учетом их возможных неравномерных оседаний, кренов, наклонов и др., вызванных деформациями земной поверхности.




Поделиться с друзьями:


Дата добавления: 2013-12-12; Просмотров: 5105; Нарушение авторских прав?; Мы поможем в написании вашей работы!


Нам важно ваше мнение! Был ли полезен опубликованный материал? Да | Нет



studopedia.su - Студопедия (2013 - 2025) год. Все материалы представленные на сайте исключительно с целью ознакомления читателями и не преследуют коммерческих целей или нарушение авторских прав! Последнее добавление




Генерация страницы за: 0.009 сек.