Студопедия

КАТЕГОРИИ:


Архитектура-(3434)Астрономия-(809)Биология-(7483)Биотехнологии-(1457)Военное дело-(14632)Высокие технологии-(1363)География-(913)Геология-(1438)Государство-(451)Демография-(1065)Дом-(47672)Журналистика и СМИ-(912)Изобретательство-(14524)Иностранные языки-(4268)Информатика-(17799)Искусство-(1338)История-(13644)Компьютеры-(11121)Косметика-(55)Кулинария-(373)Культура-(8427)Лингвистика-(374)Литература-(1642)Маркетинг-(23702)Математика-(16968)Машиностроение-(1700)Медицина-(12668)Менеджмент-(24684)Механика-(15423)Науковедение-(506)Образование-(11852)Охрана труда-(3308)Педагогика-(5571)Полиграфия-(1312)Политика-(7869)Право-(5454)Приборостроение-(1369)Программирование-(2801)Производство-(97182)Промышленность-(8706)Психология-(18388)Религия-(3217)Связь-(10668)Сельское хозяйство-(299)Социология-(6455)Спорт-(42831)Строительство-(4793)Торговля-(5050)Транспорт-(2929)Туризм-(1568)Физика-(3942)Философия-(17015)Финансы-(26596)Химия-(22929)Экология-(12095)Экономика-(9961)Электроника-(8441)Электротехника-(4623)Энергетика-(12629)Юриспруденция-(1492)Ядерная техника-(1748)

Тема 4 Напірно – регулюючі пристрої




Якість води оцінюють за її складом та властивостями, після чого визначається її придатність для тих чи інших цілей. Особливо жорсткі вимоги висувають до води, яка використовується для господарсько-питних потреб споживачів виробничих, житлових та громадських будинків. Ця вода повинна відповідати вимогам ГОСТ 2874-82 "Вода питьевая. Гигиенические требования и контроль за качеством.", ДСанПіН 383 Вода питна. Гігієнічні вимоги до якості води централізованого господарсько-питного водопостачання. Нор­мування концентрацій тих чи інших речовин обумовлене необхідністю забезпечення сприятливих органолептичних властивостей питної води, нешкідливості її хімічного складу і безпеки води в санітарному відно­шенні. Невідповідність хоча б одного з цих нормативів вимогам ГОСТ або ДСанПіН дає підставу для визнання непридатності води для питних цілей.

План

Тема 3 Водопровідні очисні споруди.

Послідовність деталювання.

Для чого виконують деталювання колодязів водопостачання? Поясніть

Конструкцію.

Де і для чого використовують водорозбірні колонки? Поясніть їх

1. Якість води, вимоги які до неї висуваються. (Л)

2. Очисні споруди.(Л)

3. Основні процеси при очищенні та обробці води.(СІ)

4. Принципова схема очистки та знезараження води.(СІ)

Питання 1. Якість води, вимоги які до неї висуваються.(Л)

 

Для всіх нормованих речовин визначена лімітуюча ознака шкідли­вості — органолептична або санітарно-токсикологічна. Наприклад, залізо у воді навіть у великих концентраціях (більше 0,3 мг/л) не справляє ток­сичної дії на організм людини, але надає воді жовто-коричневого кольо­ру, погіршує її смак, викликає розвиток залізобактерій та відкладання осаду в трубопроводах. Лімітуючою ознакою шкідливості для сполук за­ліза є органолептична. Те саме стосується марганцю. Навпаки, такі хімічні речовини, як сполуки стронцію, нітрати, не змінюючи органолептичних властивостей води, є токсичними для людини. Наприклад, стронцій з концентраціями понад 7 мг/л пригнічує активність багатьох ферментів. В той же час гіркий присмак у воді з'являється лише при концентраціях стронцію більше 12 мг/л. Для таких сполук лімітуючою ознакою шкідли­вості є санітарно-токсикологічна.

Вміст у воді більше 500 мг/л сульфатів або 350 мг/л хлоридів надає воді солоного присмаку та призводить до порушення роботи і захворю­вання шлунку у людей. Ця вода має підвищену корозійну активність, більш високу некарбонатну жорсткість, руйнівно діє на залізобетонні конструкції.

Суттєво впливають на здоров'я людини фтор, йод, бром, бор та ін. Так, нестача або надлишок фтору в питній воді викликають руйнування зубів та зміни в скелеті, нестача або відсутність йоду призводить до зах­ворювання людей ендемічним зобом тощо. Отруйну дію на організм лю­дини і теплокровних тварин справляють солі важких металів та радіоак­тивні елементи.

Катіони кальцію та магнію обумовлюють жорсткість води. Хоча вони не завдають особливої шкоди організму, однак їх присутність у воді у ве­ликій кількості небажана тому, що така вода малопридатна для госпо­дарських потреб. У жорсткій воді збільшуються витрати пральних засобів та мила під час прання білизни, повільно розварюється м'ясо та овочі. Жорстка вода непридатна для систем зворотного та гарячого водопоста­чання, для живлення парових котлів та використання в багатьох галузях промисловості. Не шкідлива для здоров'я і кремнієва кислота, однак підвищений вміст її у воді робить таку воду непридатною для живлення парових котлів через утворення силікатного накипу.

За органолептичними показниками питна вода повинна мати кала­мутність не вищу за 1,5 мг/л; кольоровість не вище 20 градусів платино- кобальтової шкали; запах і присмак не вище 2 балів. Питна вода не по­винна мати на поверхні плівки і містити в собі водні організми, які мож­ливо вирізнити неозброєним оком. Допустимий вміст хімічних речовин, мг/л, що впливають на органолептичні показники: сухий залишок — 1000; хлориди — 350; сульфати — 500; марганець — 0,1; мідь — 1,0; цинк — 5,0; поліфосфати — 3,5; залізо — 0,3; алюміній — 0,5.

Вимоги до якості води на промислових підприємствах залежать від характеру виробництва і можуть бути досить різноманітні. В першу чергу звертають увагу на взаємодію води з трубопроводами, обладнанням, си­ровиною та продукцією виробництва.

 

Питання 2. Очисні споруди.(Л)

1. Коагуляція домішок у воді – це процес укрупненні (агломерації)

колоїдних та завислих часинок за рахунок сил міжмолекулярної взаємодії і об’єднання в агрегати (пластивці). Завершується цей процес відділенням частинок, що зліплись, від води. Крім завислих речовин і колоїдних частинок пластивці сорбують значну кількість бактерій та речовин, що надають воді кольоровість.

2. Перемішування розчинів коагулянтів з водою, яка очищається, проводять у спеціальних пристроях – змішувачах. Інтенсивне перемішування у змішувачах досягається за рахунок утворення вихрових потоків води нерухомими напрямними поверхнями або в результаті механічного перемішування мішалками.

3. Із змішувачів вода потрапляє у камеру утворення пластівців, швидкість руху в якій така, щоб пластівці не випадали в осад. Тривалість знаходження води у камері 20 – 30 хвилин. За цей час закінчується процес коагуляції і утворюються досить крупні пластівці. Найбільш поширені камери утворення пластівців з перегородками, вихрові (по типу вихрового змішувача і водоворотні.

4. З камер утворення пластівців вода надходить до відстійників, де пластівці випадають в осад. Відстійники за конструкцією і рухом води можуть бути горизонтальні, вертикальні та радіальні. Відстійники можуть бути поєднані в одній споруді з камерою для утворення пластівців.

5.Для прояснення води, окрім відстійників, використовують гідро циклони, в яких відділення твердої фази від рідкої проходить за рахунок дії відцентрової сили. Вода, що очищається, підводиться по дотичній до циліндричної частини циклону. Тверда фаза (пластівці) під дією відцентрової сили відкидається до стінок і сповзає вниз. Прояснена вода виходить через патрубок, який розташовують у верхній частині гідро циклону.

6.При проясненні широко застосовується метод пропускання забрудненої води крізь шар осаду. Вода після змішувача надходить у нижню частину просвітлювача, де знаходиться осад у завислому стані. Цей осад сприяє інтенсивному утворенню пластівців.

7.Остаточне прояснення води досягається фільтруванням, тобто пропусканням води крізь шар дрібнозернистого фільтруючого матеріалу (кварцовий пісок, керамзит, подрібнений антрацит, спінений полістирол та ін.). За швидкістю фільтрування розрізняють швидкі, над швидкі та повільні фільтри. За конструкцією фільтри бувають відкриті (безнапірні) та закриті (напірні).

8. Крім фільтрів для прояснення води застосовують також контактні просвітлювачі, в яких поєднуються процеси утворення пластівців і фільтрування. Принцип роботи контактних просвітлювачів полягає у тому, що при фільтруванні води через шар зернистого завантаження проходить адсорбція колоїдних і завислих частинок на поверхні зерен фільтруючого матеріалу. Для підвищення надійності роботи контактних освітлювачів та забезпечення чистоти завантаження рекомендується безперервне попереднє хлорування води. За конструкцією контактні освітлювачі практично не відрізняються від швидких фільтрів.

Питання 3. Основні процеси при очищенні та обробці води. (СІ)

Для остаточного знищення у відфільтрованій воді живих організмів, у тому числі і патогенних, застосовують знезараження. Дезінфекцію води здійснюють хімічними та фізичними методами. У першому випадку використовують сильні окислювачі. При фізичних методах воду обробляють на бактерицидних, електролізних, термо- та інших установках.

1. Хлорування є найбільш поширеним засобом знезараження води і здійснюється розчином хлору або хлорного вапна, які утворюють хлорнуватисту і соляну кислоти. Хлорнуватиста кислота нестійка і розпадається з виділенням атомарного кисню і гіпохлоритного іону, які проявляють сильну окислювальну дію.

2. На відміну від хлорування вода після обробки на бактерицидних установках не набуває неприємних присмаків і запахів, а сам процес знезаражування та експлуатації досить простий і не вимагає реагентів, але сфера використання цього методу обмежена, а залишкова дія знезаражування відсутня.

3. Озонування води передбачає використання озону, що легко розпадіється з утворенням атомарного кисню, який знищує бактерії, спори, віруси і руйнує органічні домішки. Це дозволяє використовувати озон не лише для знезараження, але й для знебарвлення і дезодорації води. Його надлишок (на відміну від хлору) не погіршує якості води.

4. Пом’якшення води застосовують для зниження її жорсткості шляхом усунення або зменшення солей кальцію та магнію, головним чином, при підготовці води для котельних установок та технологічних потреб окремих підприємств. Розрізняють методи реагентного і катіонового пом’якшення води. При пом’якшенні підземних вод, як правило, використовують кат іонітові методи, поверхневих – реагентні, які проводять одночасно з проясненням.

5. Знезалізнення води. При значному вмісті заліза, вода контактуючи з киснем, набуває бурого коліру і неприємного металевого присмаку. Пластівци гідрату окису заліза випадають в осад і можуть викликати закростання труб. Вода з великим вмістом заліза непридатна для деяких підприємств, тому що може викликати псування продукції, змінюючи її колір. Вміст заліза в питній воді не повинен перевищувати 0,3 мг/л, а у технічні воді – відповідно до вимог технологів.

6. Для боротьби з біологічним заростанням трубопроводів і обладнання переодичного використовують купоросування і хлорування води.

7. Знесолення води полягає у видаленні з неї розчинних солей. Повне знесолення необхідне для технологічних процесів, зокрема, при підготовці води для котлів високого тиску. Часткове видалення розчинних солей називають опрісненням.Опріснення води з вмістом солей до 2-3 г/л проводять іонним обміном, при концентрації солей 3 – 15 г/л – методом гіперфільтрації або електролізу і для води з вмістом солей більше 10г/л – шляхом заморожування, дисциляції або гіперфільтрації.

8. Дезодарація води. Для зниження інтенсивності присмаків і запахів використовують окислення з наступною сорбцією речовин, для чого воду фільтрують крізь гранульоване активоване вугілля з переодичністю його регенерацією або заміною. Можна також вводити вугілля у вигляді порошку перед відстійниками або фільтрами. При незначній інтенсивності присмаків і запахів можна використовувати тільки окислення, яке проводять одночасно з проясненням і знебарвленням. Окислювачами можуть бути – хлор, озон, перманганат калію.

9. Дегазація води полягає у видаленні з води розчиннихз газів. Природні води зазвичай містять наступні розчинні гази: кисень, вуглекислота, азот, і рідше – сірководень та метан. Для дегазації води застосовують хімічні та фізичні методи. Так, для видалення кисню з води використовують металеві стружки, сульфат натрію, гідразін, сірчаний газ.При видаленні з води сірководню її обрабляють хлором, відновлюючи сірку до кристалічної, яка випадає в осад.

10. Фторування та знефторення води. Для людського організму шкідливі як повна відсутність фтору в питній воді, так і його підвищена концентрація. Оптимальний вміст фтору повинен бути в межах 0,8 – 1,2 мг/л. При пониженій концентрації у воду вводять реагенти, що містять фтор, а при концентрації в 1,5 мг/л і більше проводять знефторення води. Фтор з води видаляють шляхом сорбції його осадом гідроокису, алюмінію чи фосфату кальцію або фільтрують воду крізь сорбент, який затримує фтор.

11. Охолодження води. В системах промислового водопостачання для охолодження води використовують охолоджувальні ставки, басейни і градирні. В охолоджувальних ставках в одному кінці скидають нагріту воду, а в іншому забирають охолоджену. В басейнах нагріту воду розбризкують по поверхні води за допомогою насадок, а охолоджену забирають на деякій глибині.

Питання 4.Принципова схема очищення та обеззараження води.(СІ)

 

Основні технологічні процеси поліпшення якості води полягають у видалення з неї тих чи інших домішок, що містяться в кількості, яка перевищує норми. Як правило, застосовують прояснення, знебарвлення та знезаражування води.

Воду очищають як із застосуванням хімічних реагентів (коагулянтів, хлору, озону і т.д.), так і без них. В останньому випадку вода очищається природним відстоюванням і повільним фільтруванням через дрібнозернисті фільтри. У зв’язку з цим розрізняють методи реагентного і безреагентного очищення.

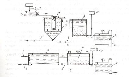
Схема очисної станції з реагентом (а)очищення води наведена на малюнку, наведеному нижче.

Малюнок 2. Схеми очисної станції:

а – при очищенні з реагентами; б – при очищенні без реагентів: 1 – подача неочищеної води; 2 – реагент не господарство; 3 – змішувач; 4 – камера утворення пластівців; 5 – відстійник або просвітлювач з завислим осадом; 6 – швидкій фільтр; 7 – знезараження води; 8 – резервуар чистої води;

9 – трубопроводи для видалення осаду і промивних вод;

10 – горизонтальний відстійник; 11 – повільний фільтр.

 

Неочищену воду подають у змішувач, до якого одночасно подіють певну кількість розчину коагулянтів. Далі вода надходить у камеру, де проходить реакція з утворенням пластівців, а потім – у відстійник. Відстояна вода для остаточного прояснення подається на фільтри, після чого її знезаражують і направляють у резервуари чистої води.

При безреагентному очищенні води технологія спрощується, дивись на малюнок наведений вище (б), тому що в ній відсутнє реагент не господарство (тобто споруди і пристрої для забезпечення, приготування, транспортування і дозування реагентів; змішувачі та камери утворення пластівців). Основними спорудами в таких схемах є відстійники, дрібнозернисті повільні фільтри та пристрої для знезаражування води.

Технологічні схеми обробки підземних вод господарсько – питних потреб значно простіші, ніж для поверхневих, оскільки містять лише споруди для знезараження води. При наявності в підземних водах заліза, фтору, марганцю та інших елементів схеми їх обробки містять споруди для знезалізнення або видалення відповідних домішок.

 

Питання для контролю знань:

1. За якими критеріями оцінюють якість води?

2. Які державні нормативні документи Вам відомі?

3. Яка лімітуючи ознака повинна бути у всіх нормативних речовинах, які містяться в питній воді?

4. Які негативні наслідки для людини мають надлишки в питній воді сульфати, хлориди, фтор, йод, бром, бор та інш.?

5. Які наслідки мають надлишки в питній воді катіони кальцію та магнію?

6. Які якості питна вода повинна мати за органолептичними показниками?

7. Які вимоги до якості води висуваються на промислових підприємствах?

8. Які очисні споруди, для очищення води, Вам відомі?

9. Як і за допомогою чого походить коагуляція, перемішування та утворення пластівців?

10. Що відбувається з водою в відстійниках, гідро циклонах та шарах осаду?

11. За допомогою чого досягається остаточне прояснення води?

12. Для чого потрібні контактні просвітлювачі?

13. Які основні процеси при очищенні та обробці води Вам відомі?

14. Для чого та за допомогою чого воду хлорують?

15. Для чого застосовують бактеріальні установки?

16. Як і для чого озонують та пом’якшують воду?

17. За допомогою чого та як знезаражують воду?

18. Як запобігають біологічним заростанням труб та знесоленню води?

19. Розкрийте поняття дезодорації та дегазації води.

20. Для чого потрібне фторування та охолодження води?

21. Поясніть основні технологічні процеси, які показані в принциповій схемі очищення води?

22. З яких елементів складається принципова схема очищення води?

23. Чим відрізняються між собою технологічні схеми очищення підземних та поверхневих вод?

 

 




Поделиться с друзьями:


Дата добавления: 2013-12-12; Просмотров: 705; Нарушение авторских прав?; Мы поможем в написании вашей работы!


Нам важно ваше мнение! Был ли полезен опубликованный материал? Да | Нет



studopedia.su - Студопедия (2013 - 2026) год. Все материалы представленные на сайте исключительно с целью ознакомления читателями и не преследуют коммерческих целей или нарушение авторских прав! Последнее добавление




Генерация страницы за: 0.009 сек.