Студопедия

КАТЕГОРИИ:


Архитектура-(3434)Астрономия-(809)Биология-(7483)Биотехнологии-(1457)Военное дело-(14632)Высокие технологии-(1363)География-(913)Геология-(1438)Государство-(451)Демография-(1065)Дом-(47672)Журналистика и СМИ-(912)Изобретательство-(14524)Иностранные языки-(4268)Информатика-(17799)Искусство-(1338)История-(13644)Компьютеры-(11121)Косметика-(55)Кулинария-(373)Культура-(8427)Лингвистика-(374)Литература-(1642)Маркетинг-(23702)Математика-(16968)Машиностроение-(1700)Медицина-(12668)Менеджмент-(24684)Механика-(15423)Науковедение-(506)Образование-(11852)Охрана труда-(3308)Педагогика-(5571)Полиграфия-(1312)Политика-(7869)Право-(5454)Приборостроение-(1369)Программирование-(2801)Производство-(97182)Промышленность-(8706)Психология-(18388)Религия-(3217)Связь-(10668)Сельское хозяйство-(299)Социология-(6455)Спорт-(42831)Строительство-(4793)Торговля-(5050)Транспорт-(2929)Туризм-(1568)Физика-(3942)Философия-(17015)Финансы-(26596)Химия-(22929)Экология-(12095)Экономика-(9961)Электроника-(8441)Электротехника-(4623)Энергетика-(12629)Юриспруденция-(1492)Ядерная техника-(1748)

Многократная экстракция для частично растворимых жидкостей

Однократная экстракция для частично растворимых жидкостей.

Схема установки представлена на рис. 284.

 

 

Рис. 284. Однократная экстракция. 1 - экстрактор, 2 - отстойник,

F - исходная смесь, S - растворитель, М - смесь двухфазной системы, E - экстракт, R - рафинат.

 

Материальный баланс

 

Соотношение потоков определяется по правилу отрезков на тре­угольной диаграмме / Розебума/, которая представлена на рис. 285.

 

 

Рис. 285. Изображение однократной экстракции на треугольной

диаграмме.

1 - бинодальная кривая, К- критическая точка, 2 - коннода /хорда равновесия/.

 

Из диаграммы на рис. 285

;

Расход растворителя

;

 

Очевидно, что в точке М1, расход растворителя будет минимальным, а в точке M2 - максимальным.

 

Точка Е' определяет состав экстракта после удаления раствори­теля.

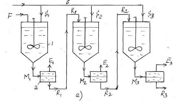
Для более полного извлечения компонента из исходной смеси применяют многократную экстракцию.

 

Схема установки и треугольная диаграмма представлены на рис.286.

 

 

 

 

 

Рис. 286. Схема установки а/ и треугольная диаграмма

б/ для многократной экстракции. 1 - экстрактор, 2 - отстойник /сепаратор/.

 

 

<== предыдущая лекция | следующая лекция ==>
Принципиальные схемы экстракции | Противоточная экстракция для частично растворимых жидкостей
Поделиться с друзьями:


Дата добавления: 2013-12-12; Просмотров: 870; Нарушение авторских прав?; Мы поможем в написании вашей работы!


Нам важно ваше мнение! Был ли полезен опубликованный материал? Да | Нет



studopedia.su - Студопедия (2013 - 2026) год. Все материалы представленные на сайте исключительно с целью ознакомления читателями и не преследуют коммерческих целей или нарушение авторских прав! Последнее добавление




Генерация страницы за: 0.012 сек.