Студопедия

КАТЕГОРИИ:


Архитектура-(3434)Астрономия-(809)Биология-(7483)Биотехнологии-(1457)Военное дело-(14632)Высокие технологии-(1363)География-(913)Геология-(1438)Государство-(451)Демография-(1065)Дом-(47672)Журналистика и СМИ-(912)Изобретательство-(14524)Иностранные языки-(4268)Информатика-(17799)Искусство-(1338)История-(13644)Компьютеры-(11121)Косметика-(55)Кулинария-(373)Культура-(8427)Лингвистика-(374)Литература-(1642)Маркетинг-(23702)Математика-(16968)Машиностроение-(1700)Медицина-(12668)Менеджмент-(24684)Механика-(15423)Науковедение-(506)Образование-(11852)Охрана труда-(3308)Педагогика-(5571)Полиграфия-(1312)Политика-(7869)Право-(5454)Приборостроение-(1369)Программирование-(2801)Производство-(97182)Промышленность-(8706)Психология-(18388)Религия-(3217)Связь-(10668)Сельское хозяйство-(299)Социология-(6455)Спорт-(42831)Строительство-(4793)Торговля-(5050)Транспорт-(2929)Туризм-(1568)Физика-(3942)Философия-(17015)Финансы-(26596)Химия-(22929)Экология-(12095)Экономика-(9961)Электроника-(8441)Электротехника-(4623)Энергетика-(12629)Юриспруденция-(1492)Ядерная техника-(1748)

Протоколы пейджинговой системы связи




Рис.8 Структурная схема пейджера.

Рис.7 Типовая схема построения и состав оборудования пейджинговой сети

Рис. 6 Типовая структурная схема пейджинговой системы

Функциональная схема спутниковой системы связи.

Функциональная схема системы персонального радиовызова.

Функциональная схема транкинговой системы связи

Функциональная схема цифрового стандарта GSM

Функциональная схема аналогового стандарта

Лекция 3. Архитектура сетей подвижной радиосвязи

Вопросы: 1.Функциональная схема аналогового стандарта

2. Функциональная схема цифрового стандарта GSM

3. Функциональная схема транкинговой системы связи

4. Функциональная схема системы персонального радиовызова.

5. Функциональная схема спутниковой системы связи.

 

 

Напомним, что ЦКПС является одним из основных элементов ССПСЭ. В ССПСЭ аналоговых стандартов в состав ЦКПС включены опорный регистр местонахождения (ОРМ) и визитный регистр местонахождения (ВРМ). Регистрами называют базы данных, которые содержат основные сведения об абонентах и оборудовании. В ОРМ хранятся основные сведения об абонентах, постоянно зарегистрированных в области обслуживания данного ЦКПС. Под основными сведениями подразумеваются те данные о статусе и местоположении абонента, которые позволяют послать вызов и предоставить соответствующие услуги. При перемещении АС в область обслуживания другого ЦКПС основные сведения об этом абоненте временно записываются в ВРМ этого ЦКПС и хранятся до тех пор, пока там находится эта АС.

 

На функциональной схеме ССПСЭ аналогового стандарта (рис. 1.4) для каждой АС можно указать опорный центр коммутации (ЦКПС-О), в ОРМ которого зарегистрирована рассматриваемая АС. Когда эта АС оказывается в зоне обслуживания любого другого ЦКПС, сведения о ней записываются в ВРМ. Все такие центры коммутации для рассматриваемого абонента являются ЦКПС визитера (ЦКПС-В).

Центр коммутации подвижной службы обеспечивает соединение между абонентами сети, а также выход в ТФОП; отслеживает местоположение АС в своей области обслуживания; управляет процедурой эстафетной передачи АС, а также переключением частотных каналов при нарушении связи из-за помех или неисправностей; выполняет функции центра эксплуатации и технического обслуживания сети; начисляет оплату абонентам. На рис. 1.4. показана установленная линия связи между абонентами сети ТФОП и ССПСЭ. В ТФОП показаны местный коммутатор (МК) и транзитные коммутаторы (ТК); ТА - телефонный аппарат. В варианте 1 (сплошные линии) вызов к АС проходит по линии ТА, МК, ТК1, ТК2, ЦКПС-О, ЦКПС-В, БС, АС.

В ССПСЭ предусмотрена шлюзовая функция (Gateway). ЦКПС, обладающий такой функцией, обозначен ЦКПС*. Шлюзовая функция - специальный принцип маршрутизации вызова через ближайший ЦКПС, который теперь становится шлюзовым. Этот ЦКПС* опрашивает ЦКПС-О по каналам ОКС 7 и находит самый короткий путь для установления связи (линия связи обозначена пунктиром). Шлюзовую функцию реализуют, как правило, все ЦКПС.

 

 

Рассмотрим ССПСЭ стандарта GSM (рис. 1.5). Схема содержит подсистему базовых станций (ПБС); сетевую подсистему (СПС) и подсистему эксплуатации и технического обслуживания (ПЭТО), а так же АС. В АС входит абонентское оборудование (АО) и абонентский идентификационный модуль (АИМ) (SIM-карта). Пока не установлен этот модуль, не выполняются соединения АС с вызывающим и вызываемым номером. Подсистема базовых станций содержит: базовые приемопередающие станции (БПС); контроллер БС (КБС) и оборудование транскодирования (ТКО). В составе СПС показаны: ЦКПС, ОРМ, ВРМ, центр аутентификации (ЦА), регистр идентификации оборудования (РИО). ПЭТО содержит центр эксплуатации и технического обслуживания (ЦЭТО) и центр управления сетью (ЦУС). Подсистема базовых станций выполняет функции радиосвязи. Все БС в зоне ПБС соединены линиями связи с контроллером. Каждая БПС обслуживает одну соту. Содержит несколько приемопередатчиков (до 16) - по одному для каждого частотного канала. Каждой БПС стандарта GSM доступны все 124 частотных канала, что позволяет реализовать метод скачкообразной перестройки частоты в стандарте GSM. Один из способов переключения частоты состоит в переключении модулирующего сигнала на входе передатчика. В этом случае число частот, используемых для скачкообразной перестройки, определяется числом приемопередатчиков БС.

Контроллер БС управляет несколькими БПС. Основное назначение контроллера - правильное распределение радиоканалов между БС и АС и определение необходимости их переключений при передвижении. Другая его задача - управление конфигурацией БПС и загрузка программного обеспечения. Контроллер обеспечивает передачу вызова на АС, контролирует соединения, выполняет согласование скоростей передачи для речи, данных и сигналов вызова, кодирование и декодирование сигналов.

 

Количество приемопередатчиков, которые может обслужить один контроллер, может быть более 100. Оборудование транскодирования включается между КБС и ЦКПС и служит для согласования скоростей цифровых потоков. В ТКО образуется стандартный первичный цифровой поток (ПЦП) из цифровых сигналов базовых станций. ТКО может размещаться вместе с КБС. Как известно, ПЦП образуют 32 сигнала, каждый со стандартной скоростью 64 кбит/с. Номинальная скорость передачи ПЦП В1 = (30 + 2)*64 = 2048 кбит/с. В стандарте GSM скорость передачи сигнала в одном речевом канале S1GSM =13 кбит/с. В транскодере с помощью добавочных битов эта скорость увеличивается до величины B1ТК0= 16 кбит/с. Таким образом в полосе одного канала стандартной ИКМ передают сигналы четырех речевых каналов, всего речевых каналов в транскодере Nтко = 30 * 4 = 120. Оставшиеся два стандартных цифровых канала занимает сигнальная информация. Например, один канал - информация ОКС 7 и один канал - информация управления по протоколу Х.25.

Сотовая сухопутная подвижная система электросвязи стандарта GSM территориально разделяется на зоны действия ЦКПС, которые, в свою очередь, делятся на зоны действия контроллеров БС, называемые зонами местоположения (ЗМ). ЦКПС отслеживает местоположение АС с помощью регистров. ВРМ позволяет вызывать АС, пока она находится в зоне действия, определенного контроллера. Когда АС перемещается в ЗМ другого контроллера, он ее регистрирует, и в ВРМ записывается новый адрес ЗМ. Входящие вызовы поступают к ЦКПС* - центру коммутации, обладающему шлюзовой функцией, который по номеру вызываемого абонента находит его ОРМ. Последний обращается к ВРМ, который "находит" АС. Шлюзовой ЦКПС* имеет интерфейс с внешними сетями связи. Здесь, как и в случае аналоговых систем, шлюзовую функцию можно установить для каждого ЦКПС. Все ЦКПС в сети Соединены линиями связи (ВОЛС, РРЛ, спутниковыми). На рис. 1.5 они показаны двойными линиями.

Система стандарта GSM подчиняется принципам эталонной модели OSI. Она имеет три общих внутрисистемных интерфейса: радиоинтерфейс Um между БС и АС, 2) интерфейс А между КПС и ПБС, 3) интерфейс Abis между БПС и КБС. Положение внутрисистемных интерфейсов отражено на рис. 1.6. В данном контексте интерфейс - это точка соединения реально существующих устройств. Благодаря данным интерфейсам оператор системы может Соединять аппаратуру разных производителей. Информационные потоки, проходящие через один интерфейс, могут принадлежать различным протоколам. Кроме этих внутрисистемных интерфейсов система GSM имеет интерфейсы между сетью и внешним оборудованием и интерфейс для выхода во внешние сети: в сети подвижной связи общего пользования, в ТФОП, в цифровые сети с интеграцией служб (ЦСИС) и др.

 

Термин "транкинг" предполагает свободный доступ к частотному ресурсу. Транкинговая система - это система, в которой абонентам предоставляется канал связи на основе многостанционного доступа к ограниченному числу радиоканалов. Транкинговые системы могут иметь ограниченный выход в ТФОП или не иметь его. Транкинговые системы проще ССПСЭ, а следовательно, и дешевле. Кроме того, в них предоставляется меньшее, чем в ССПСЭ, число услуг. В частности, в достаточно простых вариантах систем нет роуминга; не поддерживается непрерывность соединения при смене зоны обслуживания и др. Так же, как и в ССПСЭ, технические характеристики транкинговых систем определяются стандартом. Системы современных цифровых стандартов, например TETRA, по своим возможностям близки к системам стандарта GSM. Транкинговые системы предназначаются для корпоративных пользователей, например таких служб, как скорая помощь, такси, милиция.

Транкинговые системы связи являются базой для построения радиально-зоновых сетей подвижной связи. Известно много стандартов транкинговых систем. На их основе можно реализовать сети с разнообразной архитектурой - от самых простых с одним-двумя радиоканалами до сложных, предназначенных для обслуживания больших территорий с большим числом абонентов и выходом в сети общего пользования.

 

На функциональной схеме базового варианта транкинговой системы (рис. 1.7) с одним модулем управления базовой станцией (УБС) показаны: базовые приемо-передающие станции (БПС); контроллер базовой станции (КБС); терминал управления локальной сетью (УЛС). Абонентские станции сети подразделяются на стационарные и подвижные радиостанции.

Функции БПС: передача и прием, пространственно разнесенный прием, шифрование сигналов, управление радиоканалами, управление выходной мощностью АС. Каждое из двух других устройств схемы (КБС и модуль УБС) выполняет функции коммутации для нескольких БС, служит для выхода во внешние сети, позволяет подключать терминалы техобслуживания, диспетчерские пульты. На рис. 1.7 и 1.8 цифрами обозначены выходы: 1 - в ТФОП, 2 - в цифровую сеть с интеграцией служб (ЦСИС), 3 - в сеть с коммутацией пакетов (СКП), 4 - в учрежденческую АТС (УАТС), 5 - другие.

 

Контроллер обладает большими возможностями в сравнении с модулем УБС. Он позволяет организовать работу с несколькими модулями УБС, например, с использованием конфигурации "звезда" (рис. 1.8). В такой схеме КБС организует централизованную базу данных. В больших сетях устанавливают центральный КБС.

 

Система персонального радиовызова обеспечивает одностороннюю передачу коротких сообщений на ограниченной территории по радиоканалу. Эта услуга электросвязи известна также под названием "пейджинг". Информация для передачи может поступать через различные сети. Например, широко распространены системы, в которых диспетчер сети получает речевую информацию по телефону из ТФОП. Основные технические характеристики радиоинтерфейса СПРВ определяются форматом кодов сигналов радиовызова.

Существует множество форматов кодов СПРВ. С 1992 г. в Европе широкое признание получил цифровой формат ERMES (European Radio Messaging System). Этот общеевропейский формат позволяет организовать общую сеть персонального радиовызова для всех стран и общеевропейский роуминг. Функциональная схема СПРВ на базе ERMES (рис. 1.9) содержит базовые станции (БС); контроллер зоны обслуживания (КЗО); контроллер сети; центр эксплуатации и технического обслуживания (ЦЭТО). Цифрами 1.1,..., 1.6 обозначены интерфейсы, которые должны отвечать определенным протоколам взаимодействия.

 

Взаимодействие обеспечивают сетевые протоколы 1.6 и протокол 1.5 - "методы доступа". Несколько контроллеров СПРВ соединяются между собой через интерфейс 1.4. Контроллер сети распределяет вызовы между зонами, затем КЗО подает их на радиопередатчики БС. КЗО не только распределяет вызовы между передатчиками, но также выполняет оперативные статистические вычисления.

Радиопередатчики БС могут работать, как в синхронном режиме, так и последовательно во времени. Абонент получает звуковой сигнал - уведомление о вызове и читает текст сообщения на дисплее абонентского приемника. В простейших СПРВ это может быть только код вызывающей стороны, и абонент получает сообщение по ТФОП, позвонив адресату. Виды и объем сообщений разделяются по категориям обслуживания. Категория 1 (самая низкая) обеспечивает только передачу вызова; категория 6 (самая высокая) - передачу вызова с большим объемом сообщений до не скольких десятков килобитов.

 

Спутниковая система подвижной связи (ССПС) содержит: космический сегмент, земной сегмент, линии радиосвязи и абонентские терминалы (AT). Космический сегмент образуют ретрансляторы на ИСЗ. В земной сегмент входят базовые земные станции (БЗС), центр управления сетью (ЦУС) и центр управления полетом (ЦУП). ЦУС планирует использование ресурсов спутника в системе, распределяет ресурсы ретрансляторов ИСЗ между БЗС, обеспечивает БЗС данными для слежения за ИСЗ. Он же планирует трафик.

Центр управления полетом контролирует орбиты ИСЗ, обрабатывает телеметрию, формирует команды, передает на ЦУС сведения о состоянии и ресурсе ИСЗ. Как правило, центры подключены к одной из БЗС и не имеют собственного радиотехнического оборудования. Вся телеметрия и управление выполняются через БЗС по радиоканалам. БЗС также называют станциями сопряжения или шлюзовыми станциями. Все соединения между абонентами спутниковой системы выполняются через БЗС. Для этого в схеме БЗС предусмотрены интерфейсы. Часто БЗС соединяются линиями связи с ЦКПС ССПСЭ.

Линии радиосвязи подразделяются на мобильные, фидерные, межспутниковые, командные и телеметрические. Мобильные - это линии радиосвязи с абонентскими терминалами. На рис. 1.10 это линия / "вверх" и линия 2 "вниз". Линии радиосвязи с БЗС называются фидерными. На рис 1.10 это линия 3 "вверх" и линия 4 "вниз". В некоторых спутниковых системах связи организованы межспутниковые линии между соседними ретрансляторами на одной орбите и на соседних орбитах. Командные и телеметрические линии как правило совмещены с фидерными.

 

Абонентские терминалы подразделяют на портативные, перевозимые и стационарные. По техническим возможностям это может быть однорежимный терминал, который может работать только в спутниковых системах подвижной связи, двухрежимный и многорежимный. Двухрежимный позволяет работать как в указанной сети, так и в ССПСЭ определенного стандарта, например GSM. Многорежимный абонентский терминал позволяет работать в спутниковых системах подвижной связи и в ССПСЭ нескольких стандартов.

 

Тема: СИСТЕМЫ ПЕРСОНАЛЬНОГО РАДИОВЫЗОВА

Лекция 4-1

Мобильные системы связи Системы персонального радиовызова

Схема построения и состав оборудования сетей пейджинговой связи

 

Классификация мобильных систем радиосвязи

 

Системы радиосвязи с подвижными объектами, потребность в которых с каждым годом все более возрастает, подразделяются следующим образом:

- системы персонального радиовызова (Paging Systems);

- профессиональные (частные) системы подвижной радиосвязи (PMR, PAMR);

- системы сотовой подвижной радиосвязи (Cellular Radio Systems);

- системы беспроводных телефонов (Cordless Telephony);

- системы персональной связи с использованием ИСЗ.

Одной из первых систем персональной мобильной связи можно считать систему персонального вызова "Мультитон". В этой системе диспетчер вызывает сотрудника по персональному приемнику. По получению акустического вызова сотрудник находит ТЛФ и звонит диспетчеру.

Следующий уровень сервиса, сотрудник не только получает вызов, но и на дисплее индивидуального приемника видит номер ТЛФ вызывающего абонента, но связаться с ним может только со стационарного ТЛФ (Paiging Systems).

Высший уровень подобной системы позволяет производить переговоры с индивидуального радиотелефона внутри системы и выходить в общественную ТЛФ сеть через диспетчера. Подобными системами оборудуются предприятия, больницы, промышленные комплексы и др. (PMR,PAMR). PMR понимают как частные системы подвижной радиосвязи, которые не обеспечивают непрерывности связи при пересечении абонентами границ зон радиопокрытия, не имеют автоматического роуминга, не гарантируют абонентам других систем одинаковый набор имеющихся услуг связи, включая вопросы оплаты. PAMR в отличие от PMR обеспечивает соединение подвижных абонентов с абонентами телефонных сетей общего пользования.

Основные усилия при проектировании подвижных систем были сосредоточены на обеспечении высокой помехоустойчивости приема радиотелефонных сообщений, поэтому в этом направлении были достигнуты определенные успехи, которые приблизили подвижную связь по качеству принимаемой информации к уровню проводной ТЛФ связи. Это привело к тому, что частотный ресурс, выделенный подвижной связью, был исчерпан ввиду массового притока радиоабонентов, что побудило разработчиков к поведению интенсивных исследований в области создания систем с высокой пропускной способностью и эффективного использования выделенного спектра частот. В этом отношении наиболее перспективными были признаны сотовые системы подвижной связи (ССПС), имеющие принципиально новую структуру построения и организации связи, а именно множество базовых станций (BTS) соединяются в единую сеть. В процессе передвижения абонентская станция (MS) "эстафетно передается" от одной BTS к другой, автоматически переключаясь по командам последних на нужный частотный канал, что и обеспечивает непрерывность связи. В ССПС выделенные частотные каналы многократно используются абонентами в ячейках, разнесенных друг от друга на необходимое защитное расстояние. При таком принципе построения число активных частотных каналов возрастает, что обеспечивает высокую пропускную способность и более эффективное использование спектра частот (Cellular Radio Systems).

 

Системы персонального радиовызова

 

Системы персонального радиовызова или пейджинг СПРВ представляют абонентам оперативную и относительно недорогую связь. Работа СПРВ основана на том, что в большинстве случаев нет необходимости организовывать двухстороннюю связь, а достаточно передать только короткую информацию или вызов. Такая задача решается путем использования радиопередатчиков при наличии у каждого абонента небольшого приемника, называемого пейджером.

СПРВ подразделяют на две категории: частные (локальные) и общего пользования (протяженные). Частные (локальные) СПРВ обеспечивают радиовызов на ограниченной территории, для определенной группы пользователей используют один или несколько передатчиков малой мощности. Вызов осуществляется через диспетчерские пульты без взаимодействия с ТЛФ сетью общего пользования.

В пейджинговых системах общего пользования, через ТЛФ сети общего пользования, передаются в радиоканале сообщения ограниченного объема. Современные пейджинговые системы осуществляют автоматическое взаимодействие с ТЛФ сетью общего пользования, используют цифровой способ передачи вызова и сообщений, повышенную помехоустойчивость передачи и пропускную способность. Оконченные устройства миниатюризируют, что позволяет уменьшить потребление энергии. Отличительной особенностью таких систем является большая зона обслуживания в масштабах страны, а также возможность межгосударственного взаимодействия, низкая стоимость и простота эксплуатации.

Первая пейджинговая система была развернута в одном из Лондонских госпиталей в 1956г. Первая протяженная СПРВ была разработана в США и Канаде в начале 60 - х годов. В Европе протяженные СПРВ были введены в Голландии, Бельгии и Швейцарии в 1964 - 1965гг. СПРВ работает на радиочастотах в диапазоне от 80 до 1000 мГц.

СПРВ можно комбинировать с системами сотовой или другой подвижной связью, а также совмещать с ними. В таких системах пользователь может оповещаться о входящих телефонных вызовах и отвечать на вызов в удобное время. Пейджер может быть также встроен в носимый приемник.

В настоящее время повсеместно пейджинговые системы вытесняются сотовыми системами связи (передача SMS сообщений). Поэтому будем рассматривать только общие принципы построения таких систем.

 

Структурная схема пейджинговой системы

 

Каждая пейджинговая система состоит из набора базовых служб, взаимодействующих между собой для предоставления абонентам определенных услуг. Типовая структурная схема пейджинговой системы, на которой представлены базовые службы и взаимосвязи между ними, приведена на рис. 6.

Как следует из рисунка, наиболее важной службой любой пейджинговой системы является базовая служба отправки сообщений. Ее назначение состоит в управлении передатчиком системы (или их набором) и непосредственной отправке сообщений абонентам. Базовая служба отправки сообщений определяет основные возможности пейджинговой системы: количество абонентов, используемый протокол (или их набор), скорость передачи, число передатчиков и режимы их работы и т.д.

В тесном взаимодействии с базовой службой передачи сообщений находится служба роуминга (рассылки сообщений). Ее назначение состоит в передачи сообщений в другие пейджинговые системы или федеральную систему. Служба роуминга обеспечивает получение абонентом сообщений даже тогда, когда он находится вне зоны действия своей пейджинговой системы. Например, абонент уезжает в командировку в другой город. В этом случае сообщения данному абоненту передаются в пейджинговую систему того города, в котором он находится. Предоставление услуг данной службы возможно только после выработки соответствующих взаимных соглашений между различными пейджинговыми компаниями.

 

 

Над базовой службой отправки сообщений находится различные службы подготовки сообщений. Как правило, первой реализуемой службой подготовки сообщений в создаваемой пейджинговой системе является служба подготовки сообщений при помощи операторов. Ее назначение состоит в подготовки сообщения для абонента и передачи его с помощью базовой службы отправки сообщений или службы роуминга. Каждый, кто хочет отправить сообщение абоненту пейджинговой системы, звонит в пейджинговую компанию и передает его оператору. Оператор принимает сообщение, вводит его в систему и подготавливает к последующей передаче.

Следующей службой подготовки сообщений является служба удаленного доступа. Она позволяет организовать вынесенные рабочие места операторов и передавать сообщения, поступающие по компьютерным сетям связи. Данной службе подчинены две другие службы, которые и реализуют соответствующие части удаленного доступа: служба вынесенных рабочих мест операторов и служба компьютерной рассылки сообщений.

Служба вынесенных рабочих мест операторов позволяет пейджинговой компании предоставлять удобный доступ к своей системе другим компаниям и предприятиям. Например, на предприятии большое число сотрудников являются абонентами пейджинговой системы некоторой компании. В этом случае звонить каждый раз в пейджинговую компанию для передачи сообщений может оказаться очень долго и неудобно. Для преодоления этих проблем на предприятии устанавливается вынесенное рабочее место оператора (или даже сеть вынесенных рабочих мест), с которого можно непосредственно отправлять сообщения.

Служба компьютерной рассылки сообщений позволяет использовать для отправки сообщений существующие компьютерные сети и совместить услуги электронной почты с услугой передачи сообщения о поступлении письма, а для коротких писем и с услугой передачи его целиком. Такое совмещение услуг является очень удобным для абонентов, т.к. освобождает их от необходимости регулярно проверять свой почтовый ящик.

Следующей службой подготовки сообщений является служба автоматической отправки цифровых сообщений. Она позволяет каждому, позвонившему на пейджинговую станцию, отправить цифровое сообщение абоненту самостоятельно без участия оператора (при условии использования для звонка телефона с DTMF набором). При использовании автоматической отправки сообщений текст сообщения набирается тем, кто звонит при помощи клавиатуры телефона. Этот режим очень удобен для отправки коротких сообщений (например, отправка номера телефона, по которому должен позвонить абонент), т.к. весь процесс происходит без участия оператора и является достаточно быстрым.

Во взаимодействии со службой автоматической отправки цифровых сообщений работает служба автоматической отправки формализованных сообщений. Эта служба позволяет отправлять без участия оператора не только цифровые, но и стандартные текстовые сообщения. Она является следующим этапом развития службы автоматической отправки сообщений. При этом каждому стандартному текстовому сообщению ставится в соответствии цифровой код. Для отправки конкретного сообщения производится звонок (с телефона с DTMF набором) на пейджинговую станцию и набирается код этого сообщения. В конце передаваемого сообщения можно передать номер телефона или другую дополнительную цифровую информацию.

Наконец, еще одной службой подготовки сообщений является служба голосовой почты. Голосовая почта - это достаточно новая область телекоммуникаций, являющаяся логическим продолжением электронной почты. При использовании электронной почты передаются текстовые, а при использование голосовой почты - звуковые послания. Текст послания надиктовывается компьютеру, который с помощью специальной платы расширения преобразовывает его в цифровую форму. Затем оно передается по компьютерным сетям до адресата. В приемном компьютере это послание снова преобразовывается в звуковую форму, которую и слушает адресат.

Служба голосовой почты принимает звуковые послания и передает сообщения о них на пейджеры абонентов. Абонент, получивший сообщение о послании, звонит с телефона с DTMF набором на пейджинговую станцию, набирает на клавиатуре телефона свой номер, номер поступившего послания и пароль. После этого поступившее послание передается ему на телефон.

Необходимо отметить, что из всех вышеприведенных служб обязательными для каждой пейджинговой системы являются базовая служба отправки сообщений и одна из служб подготовки сообщений. Все остальные службы не являются обязательными и, как правило, добавляются в процессе эксплуатации системы для ее дальнейшего развития и предоставления дополнительного сервиса абонентам.

 

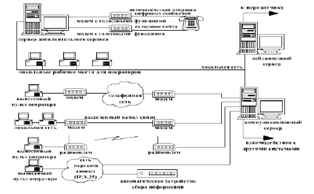
Схема построения и состав оборудования сетей пейджинговой связи

 

Типовая схема построения и состав оборудования пейджинговой сети приведена на рис.7.

Основным устройством каждой пейджинговой системы является пейджинговый терминал. Он получает сообщения, передаваемые абонентами от системы сбора информации, формирует низкочастотный модулирующий сигнал на передатчик в соответствии с принятым пейджинговым протоколом и управляет пейджинговым передатчиком или их системой по каналам связи. Пейджинговый терминал может выпускаться в автономном и неавтономном исполнении, как показано на рис.8.

Рис.8 Типы пейджинговых терминалов

 

Автономный пейджинговый терминал содержит базу данных абонентов, в соответствии с которой и производится формирование низкочастотного модулирующего сигнала на передатчик. Обычно автономный терминал выполняется в виде специализированной микроЭВМ, однако при увеличении числа абонентов он становится очень дорогостоящим устройством. Это вынудило разработчиков отказаться от хранения базы данных абонентов внутри терминала и перейти к выпуску неавтономных терминалов.

Неавтономный пейджинговый терминал не содержит в себе базу данных абонентов и используется совместно с персональным компьютером. При этом он выпускается как во внутреннем (дополнительная плата в компьютер), так и во внешнем исполнении (отдельное устройство, соединяющееся с компьютером кабелем связи). Неавтономный пейджинговый терминал формирует низкочастотный модулирующий сигнал на передатчик в соответствии с получаемым от компьютера командами и данными.

Персональный компьютер, работающий совместно с неавтономным пейджинговым терминалом, называется пейджинговый сервер, а программное обеспечение, функционирующее на нем - программным обеспечением пейджингового сервера.

Для передачи сообщения терминал взаимодействует с передатчиком пейджинговой системы, управляя им, и подавая на него низкочастотный модулирующий сигнал, и передает сообщение на рабочей частоте. Выходная мощность передатчика и высота подвеса антенны определяют зону приема сообщений пейджерами абонентов.

Передатчик пейджинговой системы и ее терминал, а в случае неавтономного терминала ее пейджинговый сервер со своим программным обеспечением, работая совместно, представляют функции базовой службы отправки сообщений.

Пейджинговый терминал получает отправляемые сообщения от системы сбора информации, которая предоставляет функции базовых служб подготовки сообщений. Как правило, первой реализуемой частью этой системы является локальная сеть рабочих мест операторов, обеспечивающая функции базовой службы подготовки сообщений при помощи операторов. Она предназначена для приема сообщений, которые поступают по телефонным линиям в виде обычных звонков, и ввода их в пейджинговую систему для передачи абонентам. Эта часть системы сбора информации строится на основе нескольких персональных компьютеров с работающим на них программным обеспечением оператора пейджинговой станции, которые соединены в локальную сеть, подключенную к пейджинговому серверу.

Оборудование рабочих мест операторов с работающим на нем программным обеспечением предоставляет функции службы подготовки сообщений при помощи операторов.

Следующей частью системы сбора информации являются вынесенные рабочие места операторов. Она позволяет предоставить удаленным операторам доступ к основной системе. Вынесенное рабочее место оператора организуется на основе персонального компьютера с модемом, работающего под управлением программного обеспечения удаленного доступа и соединенного с основной системой по телефонным или иным каналам связи. Как правило, отдельное удаленное место оператора соединяется с основной системой по обычной телефонной линии с помощью модема, а в случае ее отсутствия по радиоканалу с применением радиомодема. Иногда возникает необходимость в создании локальной сети вынесенных операторских мест. В этом случае эта сеть соединяется с основной системой по выделенному каналу связи с использованием высокоскоростного модема. Также необходимо отметить, что вынесенное рабочее место оператора может взаимодействовать с основной системой по компьютерным сетям передачи данных.

В системе сбора информации очень важное место занимает коммуникационный сервер. Он предназначен для взаимодействия с вынесенными рабочими местами операторов, другими пейджинговыми системами и компьютерными сетями передачи данных. Коммуникационный сервер представляет из себя высоконадежный персональный компьютер со специализированным коммуникационным программным обеспечением. Он взаимодействует с пейджинговым сервером для непосредственной передачи сообщений.

Коммуникационный сервер пейджинговой системы ответственен за предоставление функций службы удаленного доступа. Совместно с оборудованием удаленных мест операторов он обеспечивает функции службы вынесенных рабочих мест операторов, а совместно с оборудованием компьютерных сетей передачи данных - функции службы компьютерной рассылки сообщений.

Коммуникационный сервер, взаимодействуя по каналам связи с другими пейджинговыми системами, обеспечивает функции службы роуминга (рассылки сообщений).

Наконец, еще одной частью системы сбора информации является сервер дополнительного сервиса. Он предназначен для автоматической отправки цифровых и формализованных текстовых сообщений и взаимодействия с голосовой почтой. Сервер дополнительного сервиса представляет из себя персональный компьютер с одним или несколькими модемами, обладающими голосовыми функциями и специальным программным обеспечением. Голосовые функции модемов необходимы для воспроизведения передаваемого сообщения в привычной для человека звуковой форме.

Сервер дополнительного сервиса с помощью дополнительного оборудования и специального программного обеспечения реализует функции трех служб подготовки сообщений пейджинговой системы - службы автоматической отправки цифровых сообщений, службы автоматической отправки формализованных сообщений и службы голосовой почты.

Она взаимодействует с пейджинговым и коммуникационным сервером системы для отправки сообщений в эфир или другие пейджинговые системы.

Таким образом:

1.Пейджинговый сервер системы обеспечивает передачу сообщений в зоне обслуживания.

2.Коммуникационный сервер реализует ее связь с внешним миром, т.е. с другими системами и сетями передачи данных.

3. Сервер дополнительного сервиса предоставляет дополнительные услуги для удобства пользователей.

4.Эти три сервера пейджинговой системы тесно взаимодействуют друг с другом для обеспечения нормального функционирования всех ее служб.

 

 

Лекция 4-2 Системы персонального радиовызова

Пейджинговый терминал

Пейджинговые протоколы

В простейшем случае СПР состоит из пейджингового терминала (ПТ), базовой станции (БС) и пейджеров.

 

Центральным компонентом любой системы персонального радиовызова, определяющим ее возможности, является пейджинговый терминал.

Пейджинговый терминал - это устройство, получающее адрес абонента и передаваемое сообщение с устройства ввода (клавиатура или компьютер) и выдающее сформированный в определенном формате низкочастотный сигнал непосредственно на модулятор передатчика. Кроме того, терминал может управлять системой передатчиков по коммуникационным каналам. Типичная схема построения пейджинговой станции представлена на рис.9.

 

Рис.9 Схема построения пейджинговой станции

Характеристиками пейджингового терминала является количество поддерживаемых системой абонентов, поддерживаемые протоколы передачи сообщений, возможность управления несколькими передатчиками, возможность подключения вынесенного рабочего места оператора, возможность передачи сообщений в другие системы (роуминг), а также федеральную пейджинговую систему и др.

В настоящее время существует широкий спектр выпускаемых терминалов от простейших, имеющих базу данных на 100 абонентов и выполненных в виде платы в компьютере или в виде отдельного устройства с клавиатурой для ввода цифровых сообщений, и до довольно сложных систем, рассчитанных на 200 000 абонентов и представляющих из себя отдельное отказоустойчивое устройство, на базе промышленного компьютера.

Тем не менее, несмотря на все это разнообразие форм, функциональное назначение пейджингового терминала - хранение в энергонезависимой памяти базы данных абонентов и преобразование поступающей от устройства ввода информации в низкочастотный сигнал, осуществляется согласно конкретно пейджинговому протоколу. Конкретный формат низкочастотного сигнала, подаваемого на передатчик, называется пейджинговым протоколом.

СПРВ разрабатывались различными ведущими фирмами США, Франции, Японии и др. Для создания общего ранга оборудования и услуг, необходим ряд единых стандартов для использования в различных вызывных системах.

Первым подобным стандартом был ЕВРАСИГНАЛ, разработанный Европейской конференцией администраций почт и связи (СЕПТ) в 1969 г. Затем различными организациями и компаниями были разработаны более усовершенствованные стандарты POCSAG, ERMES, FLEX и др., которые нормировали радиоинтерфейс. Наиболее широкое распространение получил стандарт POCSAG.




Поделиться с друзьями:


Дата добавления: 2013-12-11; Просмотров: 1224; Нарушение авторских прав?; Мы поможем в написании вашей работы!


Нам важно ваше мнение! Был ли полезен опубликованный материал? Да | Нет



studopedia.su - Студопедия (2013 - 2026) год. Все материалы представленные на сайте исключительно с целью ознакомления читателями и не преследуют коммерческих целей или нарушение авторских прав! Последнее добавление




Генерация страницы за: 0.051 сек.