Студопедия

КАТЕГОРИИ:


Архитектура-(3434)Астрономия-(809)Биология-(7483)Биотехнологии-(1457)Военное дело-(14632)Высокие технологии-(1363)География-(913)Геология-(1438)Государство-(451)Демография-(1065)Дом-(47672)Журналистика и СМИ-(912)Изобретательство-(14524)Иностранные языки-(4268)Информатика-(17799)Искусство-(1338)История-(13644)Компьютеры-(11121)Косметика-(55)Кулинария-(373)Культура-(8427)Лингвистика-(374)Литература-(1642)Маркетинг-(23702)Математика-(16968)Машиностроение-(1700)Медицина-(12668)Менеджмент-(24684)Механика-(15423)Науковедение-(506)Образование-(11852)Охрана труда-(3308)Педагогика-(5571)Полиграфия-(1312)Политика-(7869)Право-(5454)Приборостроение-(1369)Программирование-(2801)Производство-(97182)Промышленность-(8706)Психология-(18388)Религия-(3217)Связь-(10668)Сельское хозяйство-(299)Социология-(6455)Спорт-(42831)Строительство-(4793)Торговля-(5050)Транспорт-(2929)Туризм-(1568)Физика-(3942)Философия-(17015)Финансы-(26596)Химия-(22929)Экология-(12095)Экономика-(9961)Электроника-(8441)Электротехника-(4623)Энергетика-(12629)Юриспруденция-(1492)Ядерная техника-(1748)

Автоматичні вимикачі

Автоматичні повітряні вимикачі (автомати) – захисно-комутаційні апарати, які застосовуються в електричних мережах до 1000 В для захисту їх від струмів к.з., від струмів перевантаження, зниження напруги а також для нечастого вимикання і вмикання електричних пристроїв (не більш як 2-3 рази на годину).

Основними елементами автоматів є контакти із дугогасною системою (камерою), привод із механізмом вільного розчеплення, розчіплювачі та допоміжні контакти.

Переваги автоматів:

– застосування трифазних автоматів замість плавких запобіжників виключає можливість виникнення неповнофазних режимів роботи;

– автомати не потребують заміни елементів після відключення струму к.з.;

– забезпечують надійний захист мереж при перевантаженні.

Автоматичні вимикачі характеризуються: номінальною напругою та номінальним струмом автомата, номінальним струмом розчіплювачів, граничним струмом відключення, кількістю комутацій на годину.

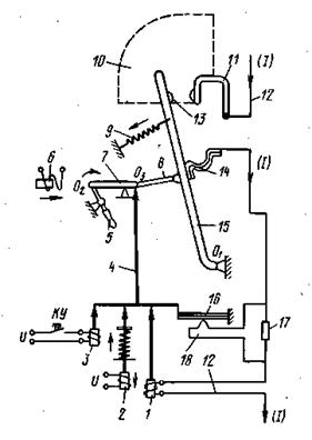
На рисунку 11.7 наведено схему автоматичного повітряного вимикача (положення «відключено») із основними елементами.

 

 

Рисунок 11.7 – Схема та основні елементи автоматичного вимикача

При вмиканні вимикача вручну (рисунок 11.7) повертають важіль 5 за часовою стрілкою. При цьому зусилля через важелі 7 та 8 механізму вільного розчеплення передається контактному важелю 15, який переміщується і зводе пружину відключення 9 та замикає контакти 13, через які протікає струм.

При автоматичному або дистанційному відключенні вимикача під дією будь-якого із розчіплювачів (1– максимальний електромангітний, 2 – мінімальної напруги, 3 – незалежний, 16 – тепловий) через тягу 4 «зламаються» важелі 7 та 8, під дією пружини 9 повертається контактний важіль 15 і контакти 13 розімкнуться.

Розчіплювачами називають електромагнітні або термобіметалеві механізми, які контролюють заданий параметр мережі і спрацьовують коли він досягає певного, встановленого раніше значення.

В автоматичних вимикачах використовуються електромагнітні, теплові, незалежні, мінімальної напруги, напівпровідникові та інші розчіплювачі.

Електромагнітний розчіплювач – це електромагніт, який при зростанні струму в котушці до недопустимих величин (перевантаження або к.з.) миттєво притягує або виштовхує феромагнітний якір, внаслідок чого звільнюється заскочка і відбувається спрацювання вимикача.

Широко використовуються максимальні струмові розчіплювачі 1 (рисунок 10.7), які забезпечують швидке (до 0,02 с) відключення автомата внаслідок к.з. в колі що захищається. Електромагнітний розчіплював може бути забезпечений механізмом витримки часу.

Незалежний електромагнітний розчіплюв ач 3 призначений для дистанційного відключення автомата.

Електромагнітний розчіплювач мінімальної напруги 2 (нульовий розчіплювач) контролює зникнення напруги в мережі або її зниження нижче встановленого рівня.

Тепловий розчіплювач (термобіметалевий) – елемент аналогічний тепловому реле (нагрівальний елемент 18 і біметалева пластина 16). Він призначений для розмикання мережі при перевантаженні.

Теплові розчіплювачі мають значну теплову інерцію і тому не можуть забезпечити необхідної швидкості спрацювання при к.з. Найбільш часто теплові розчіплювачі використовуються в комплекті із електромагнітними (комбінований розчіплювач).

Для покращення захисту від однофазних коротких замикань (підвищення чутливості захисту), в сільських електричних мережах застосовують автоматичні вимикачі із електромагнітним розчіплювачем в нульовому проводі. Струм спрацювання такого розчіплювача зазвичай менший ніж розчіплювачів у фазних проводах.

В автоматах на незначні струми встановлюють одну пару контактів на фазу. При відключенні значних струмів к.з. застосовують дві пари контактів на фазу – головні та дугогасні.

Для покращення умов гасіння дуги використовують дугогасильні камери із стальними (мідними) пластинами, поздовжньо-щілинні та лабіринтно-щілинні камери із електромагнітами для магнітного дуття.

Найбільш поширеними є автоматичні вимикачі наступних типів:

АЕ-1000, АЕ-2000;

АП-50Б (замість знятого АП-50);

А-3700 – на струм до 630 А мають напівпровідникові і електромагнітні розчіплювачі.

АК-50, АК-63.

ВА51, ВА52, ВА57, ВА61, ВА88, ВА99.

Конструктивні особливості автоматичних вимикачів розглянемо на прикладі вимикача серії А3700 (рисунок 11.8).

Контактна система автомата включає головні контакти 8, які зв’язані із механізмом вільного розчеплення та контакти 7, які забезпечують обмеження стуму к.з.

Контакти 7 при струмі к.з. в декілька кА під впливом електродинамічних зусиль розмикаються за час 10…15 мк с, тобто розмикаються до спрацювання електромагнітного розчіплювача максимального струму.

 
 

 

 


Рисунок 11.8 – Автоматичний вимикач типу А3700

 

Термічна стійкість контактів забезпечується металокерамічними пластинами 9.

Рукоять автомата 12 має чотири положення: «включено», «відключено автоматично», «відключено вручну», «зведено».

Автомат А3700 має напівпровідниковий розчіплювач 20, який забезпечує відключення автомата при к.з. із залежною витримкою часу. Джерелом інформації про струм в мережі є трансформатор струму 23.

Напівпровідниковий розчіплювач спрацьовує (подає команду на незалежний розчіплювач) тоді коли струм к.з. недостатній для спрацювання електромагнітного розчіплювача, але перевищує уставку спрацювання напівпровідникового розчіплювача.

Автомати АП-50Б (АП-50) (П- пускові) на струм до 63 А широко застосовуються в сільському господарстві для запуску та захисту асинхронних двигунів. Вони призначені для захисту мереж і електродвигунів від к.з. та перевантажень. Допускають 12 циклів включення асинхронних двигунів. Автомати АП мають кнопкове керування.

Автомати ВА51, ВА52 на струм 16…630 А застосовуються для захисту мереж від струмів к.з. та перевантаження, від недопустимого зниження напруги а також для не частих (до 6 на добу) оперативних комутацій мережі.

При виробництві автоматичних вимикачів нових серій (ВА88, ВА99) використовують нові сучасні електротехнічні матеріали, які підвищують зносостійкість та надійність апаратів. Підсилюється їх контактна система, змінюється форма контактів та підвищується надійність механізму керування

 

3 Вибір електричних апаратів

 

Відповідно до Правил влаштування електроустановок електричні апарати вибирають за каталогами за параметрами їх роботи в нормальному режимі і перевіряють по режиму короткого замикання.

Електричні апарати вибирають за наступними параметрами:

1. За номінальною напругою.

Номінальна напруга апарата, зазначена в паспорті або в каталозі, повинна бути не меншою від напруги установки (мережі), для якої підбирають апарат:

(11.2)

Якщо ця умова не виконується, то можливий пробій ізоляції.

2. За номінальним струмом:

(11.3)

Якщо ця умова не виконується, то виникає перегрів струмопровідних частин та їх пошкодження.

3. За місцем установки і конструктивним виконанням.

Апарат внутрішньої установки не можна використовувати на відкритих електроустановках, а навпаки – використання не доцільне.

Захисні апарати, крім того, вибирають з урахуванням струму й потужності вимикання.

(11.4)

де – максимальне діюче значення струму к.з. в мережі, кА.

Для мереж напругою 35 кВ і більше .

Для мереж 10 та 0,38 кВ, для .

 

Якщо не виконувати цю вимогу, дуга не буде погашена і як наслідок – пошкодження апарата з перекриттям усіх 3-х фаз.

 

За режимом короткого замикання апаратура перевіряється на динамічну і термічну стійкість. Перевіряють шляхом порівняння:

1) максимально допустимого струму i max з ударним струмом трифазного короткого замикання i y(3) (динамічна стійкість):

(11.5)

2) номінального струму термічної стійкості апарату I t, що гарантується заводом протягом часу t, з розрахунковим усталеним струмом короткого замикання і приведеним часом дії короткого замикання t пр (термічна стійкість):

(11.6)

Апарати, що використовуються в сільських електроустановках, здебільшого мають великий запас як за динамічною, так і за термічною стійкістю.

Більш детально умови вибору плавких запобіжників та автоматичних вимикачів розглянуто в лекції 5.

 

 

<== предыдущая лекция | следующая лекция ==>
Плавкі запобіжники напругою вище 1 кВ | Роз’єднувачі
Поделиться с друзьями:


Дата добавления: 2013-12-13; Просмотров: 6239; Нарушение авторских прав?; Мы поможем в написании вашей работы!


Нам важно ваше мнение! Был ли полезен опубликованный материал? Да | Нет



studopedia.su - Студопедия (2013 - 2026) год. Все материалы представленные на сайте исключительно с целью ознакомления читателями и не преследуют коммерческих целей или нарушение авторских прав! Последнее добавление




Генерация страницы за: 0.009 сек.