Студопедия

КАТЕГОРИИ:


Архитектура-(3434)Астрономия-(809)Биология-(7483)Биотехнологии-(1457)Военное дело-(14632)Высокие технологии-(1363)География-(913)Геология-(1438)Государство-(451)Демография-(1065)Дом-(47672)Журналистика и СМИ-(912)Изобретательство-(14524)Иностранные языки-(4268)Информатика-(17799)Искусство-(1338)История-(13644)Компьютеры-(11121)Косметика-(55)Кулинария-(373)Культура-(8427)Лингвистика-(374)Литература-(1642)Маркетинг-(23702)Математика-(16968)Машиностроение-(1700)Медицина-(12668)Менеджмент-(24684)Механика-(15423)Науковедение-(506)Образование-(11852)Охрана труда-(3308)Педагогика-(5571)Полиграфия-(1312)Политика-(7869)Право-(5454)Приборостроение-(1369)Программирование-(2801)Производство-(97182)Промышленность-(8706)Психология-(18388)Религия-(3217)Связь-(10668)Сельское хозяйство-(299)Социология-(6455)Спорт-(42831)Строительство-(4793)Торговля-(5050)Транспорт-(2929)Туризм-(1568)Физика-(3942)Философия-(17015)Финансы-(26596)Химия-(22929)Экология-(12095)Экономика-(9961)Электроника-(8441)Электротехника-(4623)Энергетика-(12629)Юриспруденция-(1492)Ядерная техника-(1748)

Види холодильних шаф за призначенням




Холодильні шафи, вітрини, прилавки та охолоджувальні столи

Холодильні шафи (рис. 15) призначені для зберігання, демонстрації і продажу товарів. Вони складаються з охолоджувального об’єму і машинного відділення, яке може розміщуватися над чи під камерою. В охолоджувальному об’ємі передбачені полки-решітки для розміщення продуктів, підсвітка. Дверцята і стінки можуть бути непрозорими (металічними) або прозорими (виконані зі склопакетів).

Загального використання для зберігання різноманітних охо­лоджених чи заморожених харчових продуктів. Можуть мати двоє двер­цят з протилежних сторін
Кондитерські зі скляними дверцятами і боковими стінками, скляними полками, які обертаються
Винні передбачене підтримання різних температурних режимів на полицях по висоті шафи

 

 

Рис. 15. Шафа холодильна:

1 – холодильний агрегат; 2 – внутрішнє обшивання; 3 – трубка зливальна; 4 – зовнішнє обшивання; 5 – теплова ізоляція; 6 – освітлювальна лампа; 7 – піддон; 8 – випарник; 9 –реле температури; 10 – полиця-решітка; 11 – решітка машинного відділення; 12 – піддон для збору конденсату

Холодильні вітрини призначені для демонстрації і про­дажу товарів, для реалізації товарів з продавцем і самообслу­говування. В останніх охолоджувальний об’єм відкритий зверху, а бокові стінки можуть бути виконані зі склопакетів. Такий вид вітрин ще має назву холодильна ванна чи бонета. Вони встановлюються лінією, досягаючи в довжину 8…10 м.

Холодильні вітрини випускаються острівного чи пристінного типу (рис. 16). Вони можуть бути призначені для реалі­зації тільки гастрономічних товарів, кондитерських виробів, риби, морозива. Окремо розроблені вітрини для шведського столу (салат-бари).

 

Рис. 16. Вітрина холодильна пристінна (регал):

1 – вентилятор; 2 – випарні батареї; 3 – отвори каналу; 4 – повітророзподільний канал;
5 – освітлювальні лампи; 6 – розподільні решітки

Холодильні прилавки призначені для демонстрації, зберігання і реалізації товарів (частіш за все заморожених). Конструктивно можуть виконуватися з прозорими чи непро­зорими розсувними стулками, або перекидними кришками (сундучного типу).

Охолоджувальні столи встановлюютьсяу виробничих цехах закладів харчування. Під робочою поверхнею столу, яка використовується для приготування страв, розміщено охо­лоджувальний об’єм для зберігання окремих компонентів чи готових страв.

Охолоджувачі напоїв, льодогенератори і фризери

 

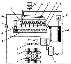
Льодогенератори (рис. 17) призначені для виробництва харчо­вого льоду (кускового, формового, лускатого), який викорис­товується в закладах харчування і торгівлі для охолодження напоїв, страв та різних продуктів. Льодогенератори скла­даються з двох блоків: льодоприготу­вального відділення з бункером і машинного відділення. Всі льодогенератори забезпечені автоматичною системою відключення у випадку заповнення бункера-накопичувача льодом, автоматичною системою генерування льоду. Льодогенератори залежно від продуктивності можуть виробляти від 20 до 5 000 кг штучного льоду на добу і встановлюватися на столі чи на підлозі.

Охолоджувачі напоїв використовуються для охолоджен­ня і підтримання в охолодженому стані соків, напоїв. Скла­даються з машинного відділення, яке знаходиться в нижній частині апарата, і охолоджувального об’єму, де розміщено випарник холодильної машини. Розрізняють охолоджувачі з одним або декількома посудинами для напоїв. Передбачені два режими роботи охолоджувачів:

- з охолодженням напою до 0…+2° С;

- з охолодженням напою до 0° С і насиченням його кришталиками льоду.

 

 


Рис. 17. Принципова схема льдогенератора:

1 – вентилятор конденсатора; 2 – конденсатор; 3 – фільтр водяний; 4 – клапан електромагнітний; 5 – ванна нижня; 6 – насос водяний; 7 – фільтр-осушувач; 8 – трубка капілярна; 9 – ванна випарника; 10 – термореле випарника; 11 – колектор випарника; 12 – випарник; 13 – решітка; 14 – колектор водяний; 15 – термореле бункера; 16 – бункер; 17 – компресор

 

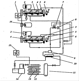
Фризери (рис. 18) призначені для збивання і замо­рожування суміші вихідних компонентів при виробництві м’якого морозива. Основним елементом фризера є двостінний циліндр, в середину якого вводиться рецептурна суміш продуктів. Вона збивається механізмом, що складається з мішалки і ножів. В простір між стінками циліндра надходить рідкий холодильний агент, який кипить і охолоджує суміш.

 


Рис. 18. Принципова схема фризера:

1 – термореле; 2 – бункери приймання рідкої суміші; 3 – випарники; 4 – шнеки; 5 – циліндри; 6 – випускні пристрої; 7 – вентиль теплорегулюючий; 8 – розподільник рідкого холодоагента; 9 – фільтр-осушувач; 10 – теплообмінник;
11 – ресивер; 12 – конденсатор; 13 – вентилятор; 14 – компресор; 15 – реле високого тиску; 16 – електродвигун приводу шнеків

 




Поделиться с друзьями:


Дата добавления: 2013-12-13; Просмотров: 917; Нарушение авторских прав?; Мы поможем в написании вашей работы!


Нам важно ваше мнение! Был ли полезен опубликованный материал? Да | Нет



studopedia.su - Студопедия (2013 - 2026) год. Все материалы представленные на сайте исключительно с целью ознакомления читателями и не преследуют коммерческих целей или нарушение авторских прав! Последнее добавление




Генерация страницы за: 0.011 сек.