Студопедия

КАТЕГОРИИ:


Архитектура-(3434)Астрономия-(809)Биология-(7483)Биотехнологии-(1457)Военное дело-(14632)Высокие технологии-(1363)География-(913)Геология-(1438)Государство-(451)Демография-(1065)Дом-(47672)Журналистика и СМИ-(912)Изобретательство-(14524)Иностранные языки-(4268)Информатика-(17799)Искусство-(1338)История-(13644)Компьютеры-(11121)Косметика-(55)Кулинария-(373)Культура-(8427)Лингвистика-(374)Литература-(1642)Маркетинг-(23702)Математика-(16968)Машиностроение-(1700)Медицина-(12668)Менеджмент-(24684)Механика-(15423)Науковедение-(506)Образование-(11852)Охрана труда-(3308)Педагогика-(5571)Полиграфия-(1312)Политика-(7869)Право-(5454)Приборостроение-(1369)Программирование-(2801)Производство-(97182)Промышленность-(8706)Психология-(18388)Религия-(3217)Связь-(10668)Сельское хозяйство-(299)Социология-(6455)Спорт-(42831)Строительство-(4793)Торговля-(5050)Транспорт-(2929)Туризм-(1568)Физика-(3942)Философия-(17015)Финансы-(26596)Химия-(22929)Экология-(12095)Экономика-(9961)Электроника-(8441)Электротехника-(4623)Энергетика-(12629)Юриспруденция-(1492)Ядерная техника-(1748)

Схемы цифровых (логических) элементов




 

Логические элементы служат для выполнения простейших логических операций над цифровой информацией. В настоящее время промышленность выпускает такие элементы исключительно в интегральном исполнении. Анализ основных логических операций, правила их выполнения и виды логических элементов изложены в § 3.6. В настоящем параграфе изложены вопросы схемотехники функционально полной системы логических элементов.

Рассмотрим основные принципиальные схемы, реали­зующие важнейшие логические операции, условные графические обозначения которых показаны на рис. 3.14.

Схема НЕ. Логическую схему НЕ обычно строят на основе транзисторных инвертирующих усилителей. На рис. 6.10 показана типичная принципиальная схема элемента НЕ в интегральном исполнении. Схема работает как обычный транзисторный ключ.

При отсутствии входного сигнала транзистор заперт отрицательным смещением на базу от источника u ип2. При подаче на вход схемы положительного импульса (высокого уровня напряжения — логической «1») транзистор отпирается и на выходе появляется отрицательный импульс (низкий уровень напряжения — логический «О»).

Схема И. Логическую схему И в интегральном исполнении обычно выполняют на диодах. Для компенсации ослабления сигнала или для развязки с нагрузкой на выходе такой схемы часто включают транзистор. Схема логического элемента ЗИ (на три входа) с возможностью расширения по И показана на рис. 6.11. Таким образом, диодный логический элемент И представляет собой последовательный диодный ключ с п входами (см. § 6.3).

При низком потенциале на всех входах (логи­ческий «0») все диоды открыты. При этом через резисторы R 1, R 2 и диоды проходят токи от источника питания , замыкаясь через входы источников входных сигналов. Так как суммарное сопротивление R 1 + R2 много больше сопротивлений диодов, смещенных в прямом направлении, то напряжение на выходе диодов (вывод базы транзистора), а также на выходе транзистора (вывод эмиттера) близко к нулю.

При поступлении на один из входов потенциала U > U ИП (логическая «1») соответствующий диод закры­вается. Однако остальные диоды открыты, а поэтому на выходе схемы сохраняется нулевой потенциал. Лишь когда на всех входах появится потенциал логической «1», все диоды окажутся закрытыми, токи диодов через сопротивление R 1+ R 2 станут равными нулю и напряжение на выходе диодов (следовательно, на выходе схемы) скачком достигнет значения U ИП (логическая «1»),

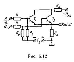
Схема ИЛИ. Как и логическая схема И, схема ИЛИ может быть выполнена с использованием после­довательных диодных ключей при несколько ином вклю­чении. Однако чаще схемы элементов ИЛИ в интегральном исполнении реализуют на транзисторах. Рассмотрим работу транзисторной схемы ИЛИ на два входа с параллельным включением транзисторов T 1 и Т 2на общую эмиттерную нагрузку (рис.6.12). Такой принцип построения схем ИЛИ использован в микросхемах серии 137, 138 и др.

В исходном состоянии оба транзистора заперты отрицательным смещением на базы от источника

Е 6. Поскольку эмиттерный пов­торитель не усиливает и не инвертирует напряжение входного сигнала, при подаче на любой из входов положительного по­тенциала (логической «1») соответствующий транзистор открывается и на выходе получа­ется положительный потенциал (логическая «1») того же уровня.

Схема И — НЕ. В схеме универсального логического элемента И — НЕ сигнал на выходе отсутствует (логи­ческий «О») только тогда, когда сигналы одновременно поступают на все входы. В остальных случаях на выходе имеется сигнал, соответствующий логической «1». Логическая схема И — НЕ в интегральном исполнении показана на рис. 6.13.

В этой схеме с тремя входами с расширением по И (микросхема К1ЛБ091А-Г) операцию И осу­ществляет диодная часть (диоды Д 1 — Д 3 ) с резисторами R 1, R 2и транзистором Т 1. Усилительный каскад-инвертор на транзисторе Т 2выполняет операцию НЕ. Диод Д 5, связывающий диодную часть с инвертором, служит для надежного запирания транзистора T2, потенциал базы которого ниже потенциала точки А на значение прямого падения напряжения на диоде.

 

 

При низком потенциале на всех входах (логический «О») диоды Д 1Д 3открыты и поддерживают потенциал точки А близким к нулю. Транзистор Т 2 благодаря наличию диода Д5 надежно закрыт и потенциал коллектора (на выходе схемы) практически равен (логическая «1»). Логическая «1» на выходе будет существовать до тех пор, пока на все входы не поступят сигналы высокого уровня (логическая «1»).

При этом диоды Д1 — Дз закроются, потенциал точки А возрастет до , а транзистор войдет в режим насыщения с низким потенциалом коллектора (логический «О»), что соответствует логической операции И — НЕ.

Схема ИЛИ — НЕ. Транзисторный вариант схемы логического элемента ИЛИ — НЕ на четыре входа (один элемент микросхемы 115ЛЕ2), выполненного по типу ТЛ, показан на рис. 6.14. Схема работает как логический элемент НЕ с несколькими входами.

При низком потенциале на входах (логический «0») транзисторы заперты и на выходе имеется логическая «1» (напряжение ). Если хотя бы к одному из входов приложить высокий потенциал, соответствующий логической «1», то соответствующий этому входу транзистор войдет в режим насыщения и потенциал коллекторов всех транзисторов (выход схемы) снизится до нуля (логический «0»). Таким образом, реализуется логическая операция ИЛИ — НЕ.

 

 




Поделиться с друзьями:


Дата добавления: 2013-12-13; Просмотров: 1192; Нарушение авторских прав?; Мы поможем в написании вашей работы!


Нам важно ваше мнение! Был ли полезен опубликованный материал? Да | Нет



studopedia.su - Студопедия (2013 - 2026) год. Все материалы представленные на сайте исключительно с целью ознакомления читателями и не преследуют коммерческих целей или нарушение авторских прав! Последнее добавление




Генерация страницы за: 0.007 сек.