Студопедия

КАТЕГОРИИ:


Архитектура-(3434)Астрономия-(809)Биология-(7483)Биотехнологии-(1457)Военное дело-(14632)Высокие технологии-(1363)География-(913)Геология-(1438)Государство-(451)Демография-(1065)Дом-(47672)Журналистика и СМИ-(912)Изобретательство-(14524)Иностранные языки-(4268)Информатика-(17799)Искусство-(1338)История-(13644)Компьютеры-(11121)Косметика-(55)Кулинария-(373)Культура-(8427)Лингвистика-(374)Литература-(1642)Маркетинг-(23702)Математика-(16968)Машиностроение-(1700)Медицина-(12668)Менеджмент-(24684)Механика-(15423)Науковедение-(506)Образование-(11852)Охрана труда-(3308)Педагогика-(5571)Полиграфия-(1312)Политика-(7869)Право-(5454)Приборостроение-(1369)Программирование-(2801)Производство-(97182)Промышленность-(8706)Психология-(18388)Религия-(3217)Связь-(10668)Сельское хозяйство-(299)Социология-(6455)Спорт-(42831)Строительство-(4793)Торговля-(5050)Транспорт-(2929)Туризм-(1568)Физика-(3942)Философия-(17015)Финансы-(26596)Химия-(22929)Экология-(12095)Экономика-(9961)Электроника-(8441)Электротехника-(4623)Энергетика-(12629)Юриспруденция-(1492)Ядерная техника-(1748)

VI. Операционные усилители

Операционные усилители (ОУ) в интегральном исполнении в настоящее время составляют основу аналоговых интегральных схем. Такие усилители (разу­меется, в иных схемотехнических вариантах) исполь­зовались для решения операторных уравнений еще в аппаратуре электронной техники первого поколения (см. § 3.1).

До появления линейных интегральных схем к классу операционных усилителей относили многокаскадные усилители постоянного тока с обратными связями, которые использовали в аналоговой вычислительной технике для выполнения операций алгебраического сложения, вычитания, умножения, деления, дифферен­цирования, интегрирования, логарифмирования и т. д. Однако для усилителей постоянного тока на дискретных транзисторах (а тем более на лампах) характерны многочисленные недостатки.

Успехи технологии обусловили появление серийных партий ОУ в виде интегральных микросхем, что по­зволило значительно усовершенствовать их технические и эксплуатационные показатели. При этом наряду с известными были разработаны новые схемотехни­ческие решения, составившие основу интегральных ОУ. Все это существенно расширило универсальность и функциональную ориентацию линейных интегральных ОУ. Таким образом, в настоящее время под ОУ понимают высококачественный усилитель напряжения, предназначенный для выполнения самых разнообразных функций, в том числе и перечисленных.

Основные свойства операционных усилителей. Интег­ральные ОУ обычно строят по схеме усиления с не­посредственной связью между отдельными каскадами с дифференциальным входом и биполярным по отношению к амплитуде усиливаемого сигнала выходом. Это обес­печивает нулевые потенциалы на входе и выходе ОУ при отсутствии управляющих сигналов на его входе. Поэтому такие усилители легко соединять последова­тельно при непосредственной связи между отдельными каскадами, а также достаточно просто охватывать любыми цепями обратных связей.

Как отмечалось, интегральный ОУ имеет обычно дифференциальный вход (два входных зажима). Для обеспечения универсальности применения ОУ должен иметь также два выхода (рис. 4.32, а), с которых можно снять два противофазных напряжения (U вых1 и U вых2 . Причем каждое из выход­ных напряжений может быть положительно или отрицательно относитель­но потенциала общей (за­земленной) точки двух источников питания + U ип и – U ип. Оба разнополярные выходные напряжения должны иметь примерно одинаковый уровень, в связи с чем требуется равенство по абсолютному значению обоих источников питания.

Большинство стандартных интегральных ОУ имеет один выход (рис. 4.32, б).При этом выходное напряжение U вых находится в фазе с напряжением U вх1 и противофазном напряжению U вх2 .

Напряжение, приложенное непосредственно между входами, равно разности напряжений U вх1 и U вх2. Причем это напряжение равно нулю, если последние имеют даже существенно неравные значения. Поэ­тому U вх1 и U вх2 по отношению к общей точке назы­вают напряжениями общего вида, а их разность — диф­ференциальным напряжением.

Из технических соображений, а частично по тради­ции, в инженерной практике в большинстве случаев применяют усилители напряжения. Развитие микро­электроники еще в большей степени усиливает эту тенденцию. Выпускаемые ОУ характеризуются большим входным и низким выходным сопротивлениями, а также высоким коэффициентом усиления. Представляя ОУ идеальной моделью, считают, что КU → ∞, RBK → ∞, R вых → 0. Кроме того, к основным признакам идеаль­ного ОУ следует также отнести бесконечно широкую полосу частот, начиная с частоты f = 0; постоянство амплитуды усиливаемого сигнала во всем диапазоне частот; отсутствие статических, шумовых и дрейфовых ошибок во времени и в диапазоне температур.

Питание ОУ осуществляется от двух соединенных последовательно источников с одинаковыми постоянными напряжениями U ип1и U ип2 или от одного источника со средней точкой, которая заземлена (рис. 4.33, а). При использовании соот-ветствующих делителей напря­жения возможно питание ОУ от одного источника, однако это приводит к увеличению потреб-ления энергии и снижает показатели ОУ.

К входам усилителя прикладывается напряжение u вхот источника диффе-ренциального сигнала Е и с внутренним сопротивлением, равным нулю. При этом U вх является дифференциальным напряжением незави­симо от того, какой из входов усилителя заземлен.

Как входное, так и выходное напряжения могут симметрично изменяться относительно нуля (быть биполярными), как это видно из передаточной характе­ристики ОУ U вых = f (U вх) (рис. 4.33, б). При зазем­ленном неинвертирующем входе, как показано на рис. 4.33, а, передача сигнала на выход усилителя осуществляется с инвертированием фазы входного сигнала (передаточная характеристика 1). В случае заземления инвертирующего входа фаза усиливаемого сигнала в процессе усиления не изменяется (пере­даточная характеристика 2). Выходное напряжение снимается относительно средней точки источников питания (корпуса). Если U вх = 0, то U вых = 0, что отражает условие баланса ОУ. При отсутствии внешних цепей обратных связей, как в данном случае, наклон передаточных характеристик ∆ U вых/∆ U вх определяется собственным коэффициентом усиления КU . Предельное значение амплитуды выходного сигнала весьма близко к 2U ип .

Структурные и принципиальные схемы стандарт­ных ОУ. В настоящее время наиболее широкое распространение получили трехкаскадные и двухкаскад­ные ОУ, представляющие собой интегральные усилители соответственно первого и второго поколений. Структурная схема трехкаскадного ОУ приведена на рис. 4.34, а. Первый каскад обычно выполняют по схеме простого дифференциального усилителя (ДУ) с резистивной нагрузкой (резисторы R к1, R к2на рис. 4.28, а),имеющего два входа и два выхода. Для повышения входного сопротивления, а также снижения статических и дрей­фовых ошибок этот каскад работает в режиме микроамперных токов. Второй каскад — усилитель напряжения (УН), также выполняемый по схеме дифференциального усилителя, работает в режиме миллиамперных токов и обладает значительным коэффициентом усиления. В УН осуществляется также сдвиг уровня усиливаемого сигнала на некоторое постоянное напряжение с целью согласования выхода этого каскада со входом око­нечного усилителя мощности по постоянной составляющей тока. Выходной каскад является усилителем амплитуды сигнала (УА) и состоит из сочетания нескольких каскадов ОЭ, ОК, ОБ. В УА, потребляющем основную часть тока всего усилителя, окончательно формируется амплитуда выходного сигнала. Для обеспечения низкого выходного сопротивления последний каскад в УА выполняется по схеме ОК. Общий коэффициент усиления трехкаскадного ОУ может достигать 100 тыс. и более. Входные характеристики ОУ практически полностью определяются входными характеристиками дифференциального усилителя, а выходные — аналогич­ными показателями каскада по соответствующей схеме включения. Транзисторы ОУ в интегральном исполнении имеют биполярную структуру типа п-р-п.

Дальнейшее усовершенствование технологии изго­товления интегральных структур позволило в ОУ второго поколения (рис. 4.34, б) функции первого и второго каскадов совместить в одном каскаде усиления (ДУ). Промышленная реализация двухкаскад­ных ОУ стала возможной после разработки интег­ральных транзисторов типа р-п-р с удовлетворитель­ными малосигнальными параметрами и частотными свойствами, что позволило внедрить в схемотехнику сложные дифференциальные каскады, обладающие по­вышенным коэффициентом усиления. При этом общее усиление двухкаскадных ОУ сохраняется на прежнем уровне.

Принципиальная схема одного из типичных представителей интегральных ОУ типа 14ОУД1 показана на рис. 4.35. Первый усилительный каскад с простыми входами на транзисторах Т 1и Т 2с источником ста­бильного тока I 0 на транзисторе Т 3и цепочкой темпе­ратурной компенсации на транзисторе Т 5полностью аналогичен схеме дифференциального усилителя, пока­занной на рис. 4.29, а. Второй каскад на транзисторах T 4и t 6также выполнен по схеме дифференциального усилителя с симметричным входом и несимметричным выходом. Выходной каскад является сложным эмиттерным повторителем на транзисторах Т 7, Т 9со стабилиза­тором тока на транзисторе Т 8.

Рассматриваемый усилитель содержит два входа и один выход. При подаче сигнала на один из входов (вывод 9 — инвертирующий вход «–») выходной сигнал, снимаемый с вывода 5, сдвинут по фазе отно­сительно входного сигнала на 180° (как в усилительном каскаде на транзисторе по схеме ОЭ). Прохождение сигнала от другого, неинвертирующего входа «+» (вывод 10) к выходу усилителя не сопровождается сдвигом его фазы (или полярности) входного сигнала. К выводу 5 подключается внешняя нагрузка и цепи обратной связи, а к выводам 1 и 7 — источник питания. Выводы 1, 2, 3 и 12 предназначены для подключения корректирующих цепей.

Промышленные образцы ОУ типа 140УД1Б обес­печивают КU = 1300÷12 000; R вх = 7÷35 кОм; R вых = 300 Ом.

Типичной для интегральных ОУ второго поколения является микросхема 140УД7. Отличительной особен­ностью этого усилителя от рассмотренных является то, что он содержит лишь два каскада усиления (см. рис. 4.34, б).

Технические параметры двухкаскадных ОУ примерно соответствуют параметрам лучших образцов усилителей первого поколения (микросхемы 153УД1, 140УД2 А, Б и др.). Однако принципиальным достижением является увеличение быстродействия и стабильности работы схем, а также значительное снижение потребляемого тока. Другие ОУ серий 140 и 153 микросхемы 140УД6, 140УД8, 140УД12, 153УД6 в схемотехническом отно­шении мало отличаются от микросхемы 140УД7, являясь ее модификациями.

Инвертирующее и неинвертирующее включение ОУ. В зависимости от условий подачи на вход ОУ усиливае­мого сигнала, а также с учетом подключения внешних компонентов можно получить инвертирующее и неин­вертирующее включения усилителя. Любое схемотехни­ческое решение с применением ОУ содержит одно из таких включений.

На рис. 4.36, а приведена модель инвертирующего включения ОУ. Так как усиление ОУ очень велико, то с небольшой ошибкой будем считать такую модель идеальной, что соответствует выполнению условий КU ∞ и К 1 ∞, где КU и К 1 коэффициенты усиления по напряжению и току без обратной связи. Если при этом охватить усилитель параллельной отри­цательной обратной связью по напряжению через резистор R 2, то любой незначительной сигнал U вх на входе будет усилен и передан по цепи обратной связи во входную цепь ОУ, компенсируя входной сигнал так, что в состоянии равновесия (стационарном режиме) U вх = 0. Поскольку входное сопротивление усилителя также велико, то можно считать, что ток источника сигнала I н входит только в сопротивление R 2, падение напряжения на котором за счет этого тока

UR2 = I2R2 = - I и R 2 = - E и (R2 /R1). (4.39)

Так как потенциал точки А, где осуществляется суммирование токов, практически равен нулю, то U вых = UR2 и

U вых = UR2 = - Е и (R 2 / R 1), (4.40)

откуда коэффициент усиления ОУ с учетом того, что коэффициент передачи напряжения обратной связи b U = R 1/ R 2,

КU = U вых / E и = - R 2 / R 1. (4.41)

Знак «–» в уравнении (4.41) указывает на инверти­рование фазы (полярности) входного сигнала.

Входное и выходное сопротивления такой модели в первом приближении определяются равенствами

R вх» R 1; R вых» 0. (4.42)

Соотношения (4.39) — (4.42) для реального ОУ используют с некоторым приближением.

На рис. 4.36, б приведена принципиальная схема усилительного каскада на микросхеме 140УД1А. При указанных номиналах навесных элементов схемы усили­тель обеспечивает усиление в полосе частот до 2 МГц с коэффициентом усиления, равным 56, что довольно точно соответствует формуле (4.41). Корректирующая цепочка С 1, R 4 предназначена для коррекции частотной характеристики усилителя. Если цепь отрицательной обратной связи поворачивает фазу сигнала на 180° (микросхема также сдвигает фазу сигнала на 180°), а усиление усилителя больше величины, обратной коэффициенту передачи звена обратной связи, то воз­можно самовозбуждение усилителя (см. § 4.3) на час­тоте, которой соответствует общий фазовый сдвиг по замкнутому контуру в 360°. Корректирующая цепочка позволяет снизить значение коэффициента усиления на частоте самовозбуждения или уменьшить фазовый сдвиг на той частоте, где петлевое усиление приближается к единице.

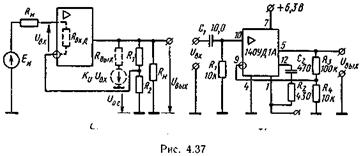
Модель неинвертирующего ОУ показана на рис. 4.37, а. Напряжение обратной связи, снимаемое с делителя R 1 R 2, пропорционально выходному напряжению усили­теля:

U oc = U вых R 2 /(R 1 + R 2)= b UU вых.

Принимая во внимание, что коэффициент усиления идеального ОУ определяется равенством (4.41), для неинвертирующего усилителя получим

КU = 1/b U = (R 1 + R2)/ R2 = 1 + R 1/ R 2. (4.43)

Если R 1 = 0, то КU = 1, R вх = R 2 и ОУ становится неинвертирующим повторителем напряжения. Однако такой повторитель передает постоянное напряжение (конденсатор С 1 при этом исключается), не внося дополнительного сдвига фазы.

Входное сопротивление реального инвертирующего усилителя с учетом наличия обратной связи велико:

R вх = R вх. м(1 + b UКU), (4.44)

где R вх..м — собственное входное сопротивление микро­схемы; КU коэффициент усиления микросхемы без обратной связи.

Выходное сопротивление реального неинвертирующего усилителя мало:

R вых = R вых.м[1/(1 + b UКU)], (4.45)

где R вых.м — собственное выходное сопротивление микро­схемы.

Принципиальная схема неинвертирующего усилителя переменного тока на микросхеме 140УД1А показана на рис. 4.37, б. Верхняя частота полосы пропускания усилителя такая же, как и в усилителе на рис. 4.36, б.

Типовые применения ОУ. Традиционными областями применения ОУ являются решающая аналоговая техника, аппаратура обработки сигналов, радиоизмери-тельные устройства и др., в которых часто требуется выполнение операторных уравнений при замыкании выхода ОУ на инвертирующий вход с помощью пассивных цепей отрицательной обратной связи. При рассмотрении основных типовых применений ОУ в названных об­ластях будем полагать, что влиянием собственных параметров усилителя с учетом того, что КU и R вх достаточно велики, а R вых достаточно мало, можно пре­небречь.

Сумматор со многими входами. На вход сумматора (рис. 4.38, а) от неско-льких источников с выходными сопро-тивлениями R 1, R 2 , R 3 ,... поступают вход-ные сигналы U и1, U и2, U и3 ,.... Кроме того, к входу усилителя (точка А) через сопротивление обратной связи AV под­водится часть выходного напряжения U вых. При этом необходимо учитывать, что небольшое выходное сопро­тивление усилителя входит в сопротивление Roc.

Напряжения на входе усилителя при воздействии входных сигналов U и1 , U и2 , U и3 , U вых опре-деляются соответственно выражениями:

U вх1 = U и1(R S/ R l),

U вх2 = U и2(R S/ R 2),

U вх3 = U и3(R S/ R 3),

U вх.ос = U вых(R S/ R ос),

где R S = R 1R 2R 3R oc.

Суммарное напряжение на входе усилителя (точка А)

U вых = R S(U и1/ R 1 + U и2/ R 2 + U и3/ R 3 + U вых/ R oc). (4.46)

С учетом того, что для инвертирующего усилителя справедливо соотношение U BX = – (U вых /KU) и КU → – ∞, из уравнения (4.46) после небольших преобра­зований получим

U вых = – (R ос/ R) (U и1 + U и2 + U и3), (4.47)

где R 1 = R 2 = R 3 = R и R ос/ R — весовой коэффициент.

 
 

При наличии в схеме (рис. 4.39, а) п идентичных входов уравнение (4.47) можно записать в виде

Таким образом, выходное напряжение в рассматри­ваемой схеме пропорционально сумме входных напря­жений.

Масштабный усилитель. Назначение этого усили­теля — изменение масштаба электрической величины посредством умножения входного сигнала на некоторый постоянный коэффициент.

Если положить в схеме на рис. 4.38, a R 2= R 3 = ∞ (усилитель с одним входом), то получим схему, показанную на рис. 4.38, б, для которой уравнение (4.47) приобретает вид

U вых= – (R oc/ R 1) U н,

что соответствует назначению усилителя. Уровень выходного напряжения (масштаб) устанавливается со­отношением сопротивлений R 1и R oc,т.е. весовым коэффициентом.

Компаратор напряжения. Компараторное включение операционного усилителя используется для сравнения напряжения источника сигнала U н с опорным напря­жением u 0. В компараторном режиме обычно отсут­ствуют цепи отрицательной обратной связи с подачей сравнивающих сигналов на один или оба входа усили­теля.

Для сравнения разнополярных входных напряжений используется одновходовый компаратор (рис. 4.39, а), в котором исследуемый и опорный сигналы поступают на инвертирующий вход усилителя. В промежутке времени 0— t 1(рис. 4.39, б) выполняется неравенство | U и| < | U 0|, поэтому U вх > 0 и напряжение на выходе компаратора U вых = U вх mах» – U нп (напряжение на инвертирующем входе операционного усилителя и его выходе – разнополя-рны). В момент времени t 1входной сигнал достигает порогового значения

U и = U вх. пор = U 0(R 1 /R 2),(4.48)

а затем, (при t > t 1)превышает его, чему соответ­ствует наличие отрицательного потенциала на инверти­рующем входе усилителя (U вх<0), сопровождающееся переключением компаратора в другое состояние, при котором U вых. mах» + U ип.

Моменту времени, при котором выполняется ра­венство (4.48), соответствует неустойчивый линейный режим усилителя компаратора. При этом наклон переходной характеристики определяется собственным коэффициентом усиления усилителя КU. Поэтому отсут­ствие в ОУ отрицательной обратной связи способствует увеличению скорости переключения компаратора.

Точность сравнения напряжений увеличивается с уве­личением их амплитуд, которые, однако, не должны превышать допустимых уровней входных дифференци­альных напряжений. Сопротивление балансирующего резистора в цепи неинвертирующего входа определяется по формуле

R бал = (Rl R 2/(R 1 + R 2).

В двухвходовом компараторе (рис. 4.39, в) сравни­вающие сигналы поступают на оба входа усилителя. Поэтому состояние выхода компаратора (полярность выходного напряжения) определяется большим по уровню напряжением одного из входов, что отражает пере­даточная характеристика компаратора (рис. 4.39, г). При равенстве входных напряжений (момент времени t 1) выходное напряжение компаратора равно нулю в соответствии с принципом работы интегрального операционного усилителя. Уровень входного напряжения компаратора ограничивается допустимым синфазным входным напряжением.

 

 

<== предыдущая лекция | следующая лекция ==>
Состав и область применения аналоговых интегральных микросхем | Однофазные выпрямители
Поделиться с друзьями:


Дата добавления: 2013-12-13; Просмотров: 3675; Нарушение авторских прав?; Мы поможем в написании вашей работы!


Нам важно ваше мнение! Был ли полезен опубликованный материал? Да | Нет



studopedia.su - Студопедия (2013 - 2025) год. Все материалы представленные на сайте исключительно с целью ознакомления читателями и не преследуют коммерческих целей или нарушение авторских прав! Последнее добавление




Генерация страницы за: 0.011 сек.