Студопедия

КАТЕГОРИИ:


Архитектура-(3434)Астрономия-(809)Биология-(7483)Биотехнологии-(1457)Военное дело-(14632)Высокие технологии-(1363)География-(913)Геология-(1438)Государство-(451)Демография-(1065)Дом-(47672)Журналистика и СМИ-(912)Изобретательство-(14524)Иностранные языки-(4268)Информатика-(17799)Искусство-(1338)История-(13644)Компьютеры-(11121)Косметика-(55)Кулинария-(373)Культура-(8427)Лингвистика-(374)Литература-(1642)Маркетинг-(23702)Математика-(16968)Машиностроение-(1700)Медицина-(12668)Менеджмент-(24684)Механика-(15423)Науковедение-(506)Образование-(11852)Охрана труда-(3308)Педагогика-(5571)Полиграфия-(1312)Политика-(7869)Право-(5454)Приборостроение-(1369)Программирование-(2801)Производство-(97182)Промышленность-(8706)Психология-(18388)Религия-(3217)Связь-(10668)Сельское хозяйство-(299)Социология-(6455)Спорт-(42831)Строительство-(4793)Торговля-(5050)Транспорт-(2929)Туризм-(1568)Физика-(3942)Философия-(17015)Финансы-(26596)Химия-(22929)Экология-(12095)Экономика-(9961)Электроника-(8441)Электротехника-(4623)Энергетика-(12629)Юриспруденция-(1492)Ядерная техника-(1748)

Лекция №11. 11.1. Производительность транспортных машин и установок.

План

11.1. Производительность транспортных машин и установок.

11.2. Методика определения расчётных грузопотоков.

11.3. Общие вопросы тяговых расчётов, определение мощности и расхода энергии.

11.1. Производительность транспортных машин и установок

 

Производительностью называют количество груза, перемещаемого транспортной машиной или установкой в единицу времени Производительность выражают в массовых (Q, т/мин, т/ч и т. д.) или объемных (V, м3/мин, м3/ч и т. д.) единицах, которые связаны между собой соотношением Q=γV. При локомотивном и самоходном транспорте иногда бывает удобнее выражать производительность в условных единицах работы (QL, т∙км/см, т∙км/сут и т. д.), т. е. количеством груза, перемещаемого в единицу времени на определенное расстояние (L, км).

Различают три вида производительности: теоретическую Qт, техническую Q и эксплуатационную Qэ. Теоретической называют максимальную производительность транспортной установки при наибольшем допустимом заполнении грузом ее грузонесущих элементов и при максимальной скорости движения без учета ограничений по мощности привода и прочности тяговых элементов. Ею пользуются при сравнительном анализе работы транспортных машин и установок различных типов. Минутную теоретическую производительность конвейеров принято называть приемной способностью (Qпр1, т/мин, Vпр13/мин) и пользуются ею при предварительном выборе конвейеров. Приемную способность полустационарных конвейеров в целях предотвращения просыпания груза принимают обычно на 10 % меньше, чем стационарных, работающих в аналогичных условиях. С увеличением угла наклона конвейеров их приемная способность уменьшается. Величина приемной способности конвейеров устанавливается ОСТ 24—076.01.

Техническая производительность соответствует номинальному режиму работы транспортной установки при полном использовании ее конструктивных возможностей. Величина технической производительности не постоянна и устанавливается с учетом мощности привода и прочности тяговых элементов в зависимости от условий эксплуатации (длины и угла наклона транспортной установки). Техническая производительность указывается в заводской характеристике транспортной машины или установки и поэтому ее называют также паспортной. Техническая производительность меньше теоретической и ею пользуются при выборе средств транспорта.

Эксплуатационная производительность соответствует фактической производительности с учетом неравномерной загрузки и перерывов в работе транспортной установки по техническим, организационным и другим причинам. Ее можно представить как расчетную величину условного равномерного грузопотока, эквивалентную фактическому неравномерному грузопотоку, поступающему с погрузочного пункта на транспортную установку.

Эксплуатационная производительность всегда меньше технической, а их отношение kп = Qэ / Q < 1, характеризующее степень совершенства организации горных и транспортных работ на шахте, называют коэффициентом использования транспортной установки по производительности.

Часовая теоретическая производительность транспортных машин цикличного действия при одновременном перемещении z транспортных сосудов (например, вагонеток), вмещающих m (т) груза каждый, и продолжительности одного цикла или рейса tp (ч):

 

Qт = mz/tр (11.1)

 

Продолжительность цикла или рейса с учетом пауз при погрузке, разгрузке и маневровых операций на конечных пунктах:

 

tp = Lr/krvr + Lп/kпvп + tм (11.2)

 

При принудительном торможении с силой В и выключенных двигателях (f = 0) уравнение движения имеет вид:

 

dv/dt = - g (b + ∑ωст)/γu (11.3)

 

где: b = B/z (m + m0)g — удельная сила торможения, Н/кН.

 

 

11.3. Общие вопросы тяговых расчётов, определение мощности и расхода энергии

Тяговые расчеты транспортных машин и установок сводятся к решению уравнения движения применительно к конкретным условиям с учетом всех сил сопротивления движению, в том числе сопротивлений в самом приводе.

Возможная сила тяги колесных и гусеничных транспортных машин ограничена, как отмечалось, предельными значениями силы тяги по двигателю и по сцеплению. Поэтому тяговые расчеты таких машин сводятся к определению допустимой грузоподъемности или массы прицепной части поезда для заданных условий эксплуатации и выполняются обычно при эксплуатационных расчетах, которые приведены в соответствующих разделах курса.

Тяговые расчеты транспортных установок цикличного действия со стационарными приводами и гибкими тяговыми элементами (обычно концевыми канатами) включают определение прочностных параметров тяговых элементов или возможную их длину при заданной грузоподъемности установки и мощности привода. Потребная сила тяги, равная суммарной силе сопротивления, в этом случае не должна превышать силу тяги по двигателю.

При определении потребной силы тяги транспортных установок непрерывного действия с гибкими тяговыми элементами, образующими замкнутый контур (ленты, канаты, цепи), пользуются методом обхода контура по точкам.

 

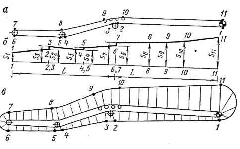
Рис.11.1. Схемы к расчёту натяжного тягового элемента.

 

Для этого контур тягового элемента разбивают на прямолинейные и криволинейные участки (рис. 11.1, а) нумеруют точки сопряжения этих участков, начиная с точки сбегания тягового элемента с приводного барабана, шкива или звездочки, и, выполняя последовательный обход контура по точкам, определяют натяжение на набегающей и сбегающей ветвях тягового элемента у привода, по величине которых находят суммарное сопротивление, а, следовательно, и потребную силу тяги. Обход контура удобно начинать от точки наименьшего натяжения в обе стороны к приводу. Величину наименьшего натяжения тяговых цепей принимают в зависимости от мощности установки, а конвейерных лент и тяговых канатов — путем расчета, о чем будет сказано при рассмотрении теории передачи тягового усилия трением.

При определении натяжения в точках контура пользуются следующим правилом: натяжение тягового элемента в каждой последующей по его ходу точке равно сумме натяжения в предыдущей точке и сопротивления на участке между этими точками, т. е.:

 

S2 = S1 + W1-2 и т.д., (11.4)

 

где: S1 и S2 - силы натяжения в точках 1 и 2;

W1-2 - сила сопротивления движению на участке между точками 1и 2.

При обходе контура против движения тягового элемента натяжение в каждой последующей точке контура равно разности натяжения в предыдущей точке и сопротивления на участке между этими точками, т. е. S1 = S2 – W2-1 и т. д.

Если контур имеет n участков, то:

 

S2 = S1 + W1-2;

S3 = S2 + W2-3 = S1 + W1-3; (11.5)

Sn = S1 + W1-n,

 

где: W1-n - суммарное сопротивление на участках от 1 до n.

С учетом сопротивления на приводном валу транспортной установки W1-n суммарная сила сопротивления движению и, следовательно, потребная сила тяги на приводном валу установки будет:

 

W = W1-n + Wn-1 = F = Sn - S1 + Wn-1 (11.6)

 

Характер изменения величины натяжения тягового элемента по контуру можно изобразить в виде диаграммы натяжения (рис. 11.1, б). Для этого по оси абсцисс в определенном масштабе откладывают длины отдельных участков контура 1—2, 2—3, 3—4 и т. д., по оси ординат —величину натяжения тягового элемента в рассматриваемых точках контура; длину тягового элемента на отклоняющих устройствах и поворотных пунктах принимают равной нулю.

Наклон линий диаграммы характеризует изменение силы сопротивления на соответствующих участках тягового элемента. На прямолинейных участках тягового элемента сопротивление при распределенном грузе пропорционально длине, поэтому точки, ограничивающие такие участки, соединяют прямыми линиями. На криволинейных участках (например 9—10) сопротивление, хотя и не является линейной функцией длины, но для простоты построения их также соединяют прямыми. Иногда диаграмму натяжения строят непосредственно на контуре тягового элемента, откладывая величины сил натяжения по перпендикулярам к контуру и получая таким образом эпюру натяжения (рис. 11.1, в).

Потребная мощность N (кВт) привода в режиме тяги:

 

N = Fv/(1000ηм) (11.7)

 

в режиме торможения:

 

N = Fv’ ηм /1000 (11.8)

 

где: v и v’ = 1,06 v — скорости движения грузонесущих элементов установки в режимах тяги и генераторном соответственно, м/с;

ηм — к. п. д. передаточного механизма привода, включая потери на приводном валу.

При нестабильном режиме работы транспортной установки потребную мощность привода выбирают по нагреву двигателя. Для этого в формулу (11.7) или (11.8) подставляют эквивалентную или среднеквадратическую силу тяги Fэк (Н), равную:

 

Fэк = (11.9)

 

где: F1, F2,..., Fn - силы тяги, развиваемые двигателем в разные периоды работы, H;

t1, t2,...,tn — продолжительность этих периодов, мин;

c1 = 2.5— коэффициент, учитывающий неравномерность увеличения силы тока при пуске короткозамкнутых асинхронных двигателей (для двигателей с фазным ротором с1 = 1);

с2 = 0,250,35 — коэффициент, учитывающий ухудшение условий охлаждения при остановке для двигателей с самовентиляцией (для двигателей с принудительной вентиляцией с2 = 1);

— суммарная продолжительность остановок двигателя за цикл, мин.

По формулам (11.7) и (11.8) с учетом резерва (обычно 20%) по каталогу выбирают ближайший больший по мощности двигатель. Мощность принятого двигателя называют установленной мощностью:

 

Ny = k’y N (11.10)

 

где: k’y — коэффициент запаса или резерва мощности.

В качестве привода транспортных машин (за исключением локомотивов, самоходных вагонов и некоторых других) применяют главным образом асинхронные двигатели с жесткой механической характеристикой. Поэтому для защиты тяговых элементов транспортных установок от перегрузок в периоды пуска, а также при экстренном торможении (например, при заклинивании тяговой цепи и т. п.) применяют различные пусковые и предохранительные муфты.

Наиболее простыми предохранительными муфтами являются муфты со срезными штифтами и дисковые фрикционные муфты предельного момента. Однако они не отличаются большой точностью и не облегчают условия пуска двигателей, так как являются нерегулируемыми.

В приводах мощных подземных конвейеров получили применение регулируемые гидромуфты, которые, являясь достаточно надежным средством защиты тяговых элементов от перегрузки, одновременно обеспечивают плавный пуск двигателей и способствуют выравниванию их нагрузки (в много двигательных приводах) за счет повышенного скольжения в муфтах, так как с увеличением скольжения возрастает передаваемый ими момент. Для этой же цели применяют электромагнитные, центробежные и другие виды муфт.

Плавность пуска асинхронных двигателей с фазным ротором обеспечивается соответствующим числом ступеней пускового реостата, а стабилизация распределения нагрузки в многодвигательных приводах достигается повышением скольжения за счет невыключаемых сопротивлений в цепи ротора.

Наиболее плавный пуск достигается применением водяных реостатов или тиристорных систем управления.

Расход энергии определяют по фактической потребляемой мощности и числу часов работы установки. Сменный расход энергии Wэ (МДж) при t часах работы установки:

 

Wэ = 1000*N-3600*t*10-6 = 3.6*Nt (11.11)

 

Удельный расход энергии ωэ (МДж/т) за смену:

 

ωэ = Wэ /A(11.12)

 

то же, (МДж/ткм) с учетом длины транспортирования L (км),

 

ωэ = Wэ /A * L. (11.13)

 

<== предыдущая лекция | следующая лекция ==>
Особенности здоровья сельского населения в связи с экологией села | Вопрос 1. Кора больших полушарий и высшие функции головного мозга человека
Поделиться с друзьями:


Дата добавления: 2014-01-04; Просмотров: 2678; Нарушение авторских прав?; Мы поможем в написании вашей работы!


Нам важно ваше мнение! Был ли полезен опубликованный материал? Да | Нет



studopedia.su - Студопедия (2013 - 2026) год. Все материалы представленные на сайте исключительно с целью ознакомления читателями и не преследуют коммерческих целей или нарушение авторских прав! Последнее добавление




Генерация страницы за: 0.012 сек.