Студопедия

КАТЕГОРИИ:


Архитектура-(3434)Астрономия-(809)Биология-(7483)Биотехнологии-(1457)Военное дело-(14632)Высокие технологии-(1363)География-(913)Геология-(1438)Государство-(451)Демография-(1065)Дом-(47672)Журналистика и СМИ-(912)Изобретательство-(14524)Иностранные языки-(4268)Информатика-(17799)Искусство-(1338)История-(13644)Компьютеры-(11121)Косметика-(55)Кулинария-(373)Культура-(8427)Лингвистика-(374)Литература-(1642)Маркетинг-(23702)Математика-(16968)Машиностроение-(1700)Медицина-(12668)Менеджмент-(24684)Механика-(15423)Науковедение-(506)Образование-(11852)Охрана труда-(3308)Педагогика-(5571)Полиграфия-(1312)Политика-(7869)Право-(5454)Приборостроение-(1369)Программирование-(2801)Производство-(97182)Промышленность-(8706)Психология-(18388)Религия-(3217)Связь-(10668)Сельское хозяйство-(299)Социология-(6455)Спорт-(42831)Строительство-(4793)Торговля-(5050)Транспорт-(2929)Туризм-(1568)Физика-(3942)Философия-(17015)Финансы-(26596)Химия-(22929)Экология-(12095)Экономика-(9961)Электроника-(8441)Электротехника-(4623)Энергетика-(12629)Юриспруденция-(1492)Ядерная техника-(1748)

Дверцята для вивантаження пилу




 

Після проходження по каналах між перегородками газ огинає вертикальну відбивну перегородку 3 і виводиться з камери. Відбивна перегородка сприяє рівномірному розподіленню газу між поличками камери, оскільки гідравлічний опір каналів однаковий.

Пил з перегородок видаляється вручну спеціальними скребачками через дверцята 4.

Пилоосаджувальні камери прості у виготовленні, мають невеликий гідравлічний опір (50-100 Па), однак вони громіздкі, ефективність очистки в них низька (40-50%), особливо під час вловлювання дрібнодисперсного пилу (<20 мкм). Тому такі апарати в більшості випадків використовують як перший ступінь очищення.

Розрахунок пилоосаджувальних камер. За заданою продуктивністю пилогазової суміші розрахунок робочої поверхні пиловідстійних камер такий самий, як і розрахунок відстійників для рідини Для того, щоб відбулося осадження частинок на поверхню полички, необхідно щоб час осадження частинки був меншим від часу перебування газу в апараті.

Отже, продуктивність камери дорівнює добутку швидкості осадження та площі осадження

(4)

 

3. Очистка газів під дією інерційних і відцентрових сил

Інерційні та жалюзійні пиловловлювачі. Принцип дії пиловловлювачів заснований на використанні інерційних сил. Якщо в апараті в напрямку руху газу встановити перешкоду, то газовий потік огинає її, а тверді частинки за інерцією зберігають початковий напрямок руху. Натикаючись на перешкоду, частинки втрачають швидкість і випадають з потоку. Для ефективного вловлювання пилу швидкість газу перед перешкодою (перегородкою) повинна бути не меншою ніж 5 – 15 м/с, тому опір цих апаратів більший ніж пилоосаджувальних камер (150-390 Па).

Рис. 2. Інерційні пиловловлювачі:

а –з вертикальною перего

родкою;

б – з центральною трубою;

в – з бічним патрубком;

г–з горизонтальними елементами

 

Конструкції інерційних пиловловлювачів показані на рис. 2. Інерційні апарати здатні вловлювати частинки за розмірами більшими ніж 25 – 30 мкм, ступінь очистки 60-70% Інерційні апарати використовують, головним чином, для попередньої грубої очистки газів.

В жалюзійних пиловловлювачах пил виділяється з газового потоку під дією інерційних сил, але зміна напрямку руху потоку здійснюється за допомогою жалюзійних пластин або кілець.

Циклони. Відокремлення частинок пилу від газу у циклоні полягає у використанні відцентрової сили, яка виникає під час обертального руху газового потоку. Циклонні апарати найбільш поширені у промисловості. Це обумовлено відносно простою їх конструкцією, незначним гідравлічним опором, малими габаритами і високою продуктивністю. Класичний варіант циклону містить наступні складові частини (рис. 3): циліндричний корпус 3 з кришкою 5 і тангенціально розміщеним патрубком 4 для введення запиленого газу; конус 2 з патрубком для виведення пилу; центральну трубу 7 з патрубком 6 для виведення очищеного газу; пилезбірник 1. Розміри і геометричні форми позначених елементів в існуючих циклонах можуть бути різні; крім цього, деякі з них мають додаткові конструктивні елементи, наприклад, закручуючи гвинти, розетки та інші пристрої для закручування газу.

Запилений газ поступає в циклон через тангенціально розміщений патрубок, внаслідок чого він набуває обертового руху. Після 2 – 3 обертів у кільцевому зазорі між корпусом і центральною трубою газ гвинтоподібно опускається вниз, при цьому в конічній частині внаслідок зменшення діаметра швидкість обертання потоку збільшується. Під дією відцентрової сили частинки пилу відкидаються до стінок циклону, внаслідок чого основна їх маса зосереджується в потоці газу, який рухається безпосередньо біля стінок апарата. Газовий потік переміщається в нижню частину конуса, змінює напрямок руху на 1800 і по центральній трубі виходить з апарата. Частинки пилу за інерцією продовжують рухатися вздовж стінок конуса і попадають у пилезбірник.

Рис. 3. Циклон:

1 – пилезбірник;

2 – конічна частина корпуса;

3 –циліндрична частина корпуса;

4– тангенціально розміщений патрубок;

5 – кришка; 6 – патрубок; 7 – центральна труба

У промисловості найпоширеніші циклони Ленінградського науково-дослідного інституту з промислової та санітарної очистки газів. Ці циклони виготовляються діаметром від 100 до 1000 мм у декількох модифікаціях: із подовженою конічною частиною –СК-ЦН-34, СДК-ЦН-33 (характеризуються більшою ефективністю, але мають підвищений гідравлічний опір); із подовженою циліндричною частиною і нахиленим вхідним патрубком – ЦН-11, ЦН-15, ЦН-24 (характеризуються значною продуктивністю). Розглянуті циклони придатні для очищення газів із концентрацією пилу ≤ 400 г/м3 за температури газів до 4000С.

Продуктивність циклонів за газом залежно від геометричних розмірів і конструктивного виконання - від 20 до 50000 м3/год. Ступінь очищення газу від пилу залежно від діаметра циклона та розмірів частинок коливається в значних межах. Наприклад, коефіцієнт очищення в циклоні ЦН-24 діаметром 1м під час вловлювання частинок розміром 5 мкм – 30%, а частинок розміром 20 мкм – 96%. Ступінь очищення визначають за номограмами, складеними на підставі дослідних даних, залежно від фракційного складу пилу та його густини, початкової запиленості газу, допустимого гідравлічного опору тощо.

Розрахунок циклонів. Теоретичний розрахунок циклонів достатньо складний. Тому їх розраховують спрощено за величиною гідравлічного опору апарату ΔР (Па). Вихідними даними для розрахунку є: витрати запиленого газу Q, м3/с; температура t (0С) і густина газу ρ (кг/м3). Спочатку вибирають тип циклону, рекомендовану для цього типу величину ΔР/ρ і за таблицями – коефіцієнт гідравлічного опору циклону ξ. У довідниковій літературі наводяться два значення коефіцієнта гідравлічного опору – віднесеного до середньої швидкості w вх газу у вхідному патрубку (ξвх) і віднесеного до середньої швидкості w о в поперечному перерізі циліндричної частини циклону, тобто до фіктивної швидкості (ξ). Відповідно розрахунок ведуть за двома схемами.

За першою схемою з рівняння

(5)

розраховують швидкість газу у вхідному патрубку

(6)

і далі площу поперечного перерізу вхідного патрубка

Fвх= (7)

Для кожного типу циклону в довідниках визначені всі його геометричні розміри в частках від внутрішнього діаметра. За знайденим співвідношенням між висотою вхідного патрубка „h” і шириною „b” як частками від діаметра D визначають діаметр циклону. За величиною D на підставі типового креслення обраного циклону визначають всі інші розміри.

За другою схемою розраховують фіктивну швидкість газу у циліндричній частині циклону

(8)

і його діаметр

(9)

Далі, так само як і за першою схемою, визначають інші розміри циклону. Гідравлічний опір циклону

(10)

Групові та батарейні циклони. Збільшення діаметра циклонів за постійної тангенціальної швидкості вхідного газу приводить до зменшення відцентрової сили, а відповідно, і до зменшення ефективності очищення. Тому збільшувати розміри промислових циклонів вище певних меж недоцільно. Крім цього, поодинокі циклони навіть значних розмірів мають порівняно малу продуктивність. В цей самий час, у промисловості очищують гази, витрати яких досягають декількох сот тисяч метрів кубічних за годину. В таких випадках для очищення газів використовують групові циклони, які складаються з декількох окремих циклонів.

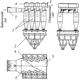
Як приклад, на рис. 4 зображений груповий циклон з дворядним розміщенням окремих циклонів. Запилений газ подається через загальний колектор одночасно у всі циклони 1. Вхід газу в циклони тангенціальний. На кінцях центральних труб циклонів 4, з’єднані з колектором закріплені спіралеподібні камери 5 для виведення очищеного газу. Осаджений у циклонах пил збирається в бункері 2. Загальна продуктивність групового циклону приблизно дорівнює добутку продуктивності одного циклону на кількість циклонів. Наприклад, циклон ЦН-15 діаметром 400 мм має продуктивність 1500 м3/год., а груповий циклон, який складається з 16 циклонів ЦН-15, має продуктивність 28500 м3/год.

 

Рис.4. Груповий циклон із дворяд-

ним розміщенням циклонів:




Поделиться с друзьями:


Дата добавления: 2014-01-04; Просмотров: 779; Нарушение авторских прав?; Мы поможем в написании вашей работы!


Нам важно ваше мнение! Был ли полезен опубликованный материал? Да | Нет



studopedia.su - Студопедия (2013 - 2026) год. Все материалы представленные на сайте исключительно с целью ознакомления читателями и не преследуют коммерческих целей или нарушение авторских прав! Последнее добавление




Генерация страницы за: 0.011 сек.