Студопедия

КАТЕГОРИИ:


Архитектура-(3434)Астрономия-(809)Биология-(7483)Биотехнологии-(1457)Военное дело-(14632)Высокие технологии-(1363)География-(913)Геология-(1438)Государство-(451)Демография-(1065)Дом-(47672)Журналистика и СМИ-(912)Изобретательство-(14524)Иностранные языки-(4268)Информатика-(17799)Искусство-(1338)История-(13644)Компьютеры-(11121)Косметика-(55)Кулинария-(373)Культура-(8427)Лингвистика-(374)Литература-(1642)Маркетинг-(23702)Математика-(16968)Машиностроение-(1700)Медицина-(12668)Менеджмент-(24684)Механика-(15423)Науковедение-(506)Образование-(11852)Охрана труда-(3308)Педагогика-(5571)Полиграфия-(1312)Политика-(7869)Право-(5454)Приборостроение-(1369)Программирование-(2801)Производство-(97182)Промышленность-(8706)Психология-(18388)Религия-(3217)Связь-(10668)Сельское хозяйство-(299)Социология-(6455)Спорт-(42831)Строительство-(4793)Торговля-(5050)Транспорт-(2929)Туризм-(1568)Физика-(3942)Философия-(17015)Финансы-(26596)Химия-(22929)Экология-(12095)Экономика-(9961)Электроника-(8441)Электротехника-(4623)Энергетика-(12629)Юриспруденция-(1492)Ядерная техника-(1748)

Выбор, применение и эксплуатация максимально-токовых реле

 

1. Данные, указанные в паспортах реле и двигателя должны обеспечивать неравенство

I ном.р I ном. дв,

где I ном. ри I ном. дв– номинальные токи реле и защищаемого двигателя.

Для двигателей, работающих в повторно-кратковременном режиме

I ном.дв = I ном. дв. 25,

где I ном. дв. 25 – номинальный ток двигателя, работающего в повторно-кратковременном режиме при ПВ = 25%.

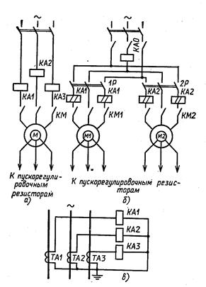
2. Схема включения КА приведена на рис. 4.6.

 

Рис. 4.6. Схемы включения максимально-токовых реле

 

3. Уставка реле по току срабатывания должна быть

I уст.(1,3 –1,5) I пуск,

где I пуск - пусковой ток двигателя.

4. Для защиты двигателей с фазным ротором ток срабатывания выбирается из условия

I уст.(2,25 –2,5) I ном. дв.

5. Если несколько двигателей с фазным ротором питаются через общий ввод (рис. 4.6,б), уставка реле КА1 и КА2 должна быть

I уст.(2,25 –2,5) I ном. дв.

Уставка реле КАО составляет

I уст = (1,25 – 1,5) I ном. дв. 25 + I ном. дв. 25,

где I ном.дв. – номинальный ток двигателя наибольшей мощности (режим


 

ПВ = 25%); I ном. дв. 25 - сумма номинальных токов всех двигателей, защищаемых КАО. Если двигатели включаются на длительный режим, то I ном. дв = I ном. дв. 25.

6. Коммутационная способность NkКА должна соответствовать номинальным значениям тока и напряжения катушек контакторов КМ, КМ1, КМ2, в цепи которых включены реле. При выборе КА следует учитывать, что пусковой ток электромагнита контактора может быть в 10 – 15 раз больше установившегося значения и что этот ток контакты КА должны отключать. Ток отключения реле I отк.р. (2,25 –2,5) I кат тока катушки контактора.

7. Если токи цепи двигателей достаточно велики, то реле защиты включается в цепь с помощью трансформаторов тока ТА (рис. 4.6,в).

8. Для того, чтобы защитить двигатель при затянувшемся пуске (велика нагрузка на валу) или кратковременной пиковой перегрузке, КА воздействует на контактор через реле времени КТ (рис. 4.7), которое запускается с помощью реле КА4. При нормальном пуске или кратковременной перегрузке, безопасной для двигателя, время пуска или перегрузки меньше времени выдержки t кт и контактор КМ в цепи двигателя М не отключается. При этом реле КА4 отпадает и снимает напряжение с реле КТ. Если время пуска или перегрузки t пуск t кт, то контакты КТ размыкаются, контактор КМ отключается и двигатель М обесточивается. Такая схема может использоваться в схемах реверса двигателя.

Рис. 4.7. Схема максимальной токовой защиты с реле времени

 

9. Ток уставки реле КА4 выбирается по условию

I уст 0,75 I пуск.

Ток возврата реле должен быть больше номинального тока двигателя на 30%. Номинальные токи реле и двигателя должны удовлетворять условию

I ном.р. I ном.дв.


 

<== предыдущая лекция | следующая лекция ==>
Электромагнитные реле тока и напряжения для защиты энергосистем, управления и защиты электропривода | Явления в электрическом аппарате
Поделиться с друзьями:


Дата добавления: 2014-01-04; Просмотров: 451; Нарушение авторских прав?; Мы поможем в написании вашей работы!


Нам важно ваше мнение! Был ли полезен опубликованный материал? Да | Нет



studopedia.su - Студопедия (2013 - 2025) год. Все материалы представленные на сайте исключительно с целью ознакомления читателями и не преследуют коммерческих целей или нарушение авторских прав! Последнее добавление




Генерация страницы за: 0.008 сек.