Студопедия

КАТЕГОРИИ:


Архитектура-(3434)Астрономия-(809)Биология-(7483)Биотехнологии-(1457)Военное дело-(14632)Высокие технологии-(1363)География-(913)Геология-(1438)Государство-(451)Демография-(1065)Дом-(47672)Журналистика и СМИ-(912)Изобретательство-(14524)Иностранные языки-(4268)Информатика-(17799)Искусство-(1338)История-(13644)Компьютеры-(11121)Косметика-(55)Кулинария-(373)Культура-(8427)Лингвистика-(374)Литература-(1642)Маркетинг-(23702)Математика-(16968)Машиностроение-(1700)Медицина-(12668)Менеджмент-(24684)Механика-(15423)Науковедение-(506)Образование-(11852)Охрана труда-(3308)Педагогика-(5571)Полиграфия-(1312)Политика-(7869)Право-(5454)Приборостроение-(1369)Программирование-(2801)Производство-(97182)Промышленность-(8706)Психология-(18388)Религия-(3217)Связь-(10668)Сельское хозяйство-(299)Социология-(6455)Спорт-(42831)Строительство-(4793)Торговля-(5050)Транспорт-(2929)Туризм-(1568)Физика-(3942)Философия-(17015)Финансы-(26596)Химия-(22929)Экология-(12095)Экономика-(9961)Электроника-(8441)Электротехника-(4623)Энергетика-(12629)Юриспруденция-(1492)Ядерная техника-(1748)

Предохранители с жидкометаллическим контактом

 

Предельно отключаемый ток достигает 250 кА при напряжении 450 В переменного тока. Предохранители работают многократно с большим токоограничением.

 
 

 

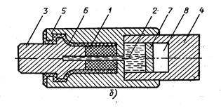
Рис. 6.7. Жидкометаллический предохранитель

1-электроизоляционная трубка, 2- жидкий металл, 3, 4 - электроды, 5- корпус,

6- уплотнение, 7,8- демпфирующее устройство.


 

В таком предохранителе электроизоляционная трубка 1 имеет капилляр, заполненный жидким металлом 2. Капилляр с жидким металлом герметично закрыт электродами 3, 4 и корпусом 5 с уплотнением 6 и имеет специальное демпфирующее устройство 7,8. При протекании большого тока жидкий металл в нем испаряется, образуется паровая пробка и электрическая цепь размыкается. После определенного времени пары металла конденсируются и контакт восстанавливается.

 

<== предыдущая лекция | следующая лекция ==>
Предохранители с мелкозернистым наполнителем (серии ПН-2, ПРС) | Приборов
Поделиться с друзьями:


Дата добавления: 2014-01-04; Просмотров: 871; Нарушение авторских прав?; Мы поможем в написании вашей работы!


Нам важно ваше мнение! Был ли полезен опубликованный материал? Да | Нет



studopedia.su - Студопедия (2013 - 2026) год. Все материалы представленные на сайте исключительно с целью ознакомления читателями и не преследуют коммерческих целей или нарушение авторских прав! Последнее добавление




Генерация страницы за: 0.01 сек.