Студопедия

КАТЕГОРИИ:


Архитектура-(3434)Астрономия-(809)Биология-(7483)Биотехнологии-(1457)Военное дело-(14632)Высокие технологии-(1363)География-(913)Геология-(1438)Государство-(451)Демография-(1065)Дом-(47672)Журналистика и СМИ-(912)Изобретательство-(14524)Иностранные языки-(4268)Информатика-(17799)Искусство-(1338)История-(13644)Компьютеры-(11121)Косметика-(55)Кулинария-(373)Культура-(8427)Лингвистика-(374)Литература-(1642)Маркетинг-(23702)Математика-(16968)Машиностроение-(1700)Медицина-(12668)Менеджмент-(24684)Механика-(15423)Науковедение-(506)Образование-(11852)Охрана труда-(3308)Педагогика-(5571)Полиграфия-(1312)Политика-(7869)Право-(5454)Приборостроение-(1369)Программирование-(2801)Производство-(97182)Промышленность-(8706)Психология-(18388)Религия-(3217)Связь-(10668)Сельское хозяйство-(299)Социология-(6455)Спорт-(42831)Строительство-(4793)Торговля-(5050)Транспорт-(2929)Туризм-(1568)Физика-(3942)Философия-(17015)Финансы-(26596)Химия-(22929)Экология-(12095)Экономика-(9961)Электроника-(8441)Электротехника-(4623)Энергетика-(12629)Юриспруденция-(1492)Ядерная техника-(1748)

Защита от прямых ударов молнии

Защита от прямых уларов молнии осу­ществляется с помощью молниеотводов. Молниеотвод представляет собой возвыша­ющееся над защищаемым объектом уст­ройство, через которое ток молнии, минуя защищаемый объект, отводится в землю.

Защитное действие молниеотводов основано на том, что во время лндерной стадии молнии на вершине молниеотвода скапливаются заряды, и наибольшие напря­женности электрического поля создаются на пути между развивающимся лидером и вершиной молниеотвода.

Возникновение и развитие с молниеот­вода встречного лидера еще более усили­вает напряженность поля на этом пути, что окончательно предопределяет удар в молниеотвод. Защищаемый объект, более низ­кий, чем молниеотвод, будучи расположен поблизости от него, оказывается заэкранированным молниеотводом и встречным лидером, и поэтому поражение его мол­нией маловероятно.

Основными действующими в России нормативными документами по защите здании, сооружений и инженерных комму­никаций от прямых ударов молнии явля­ются [17, 18].

Необходимым условием надежной защиты является также низкое сопротивле­ние заземления молниеотвода

Молниеотводы по типу молниеприемников разделяются на стержневые и тросо­вые. Стрежневые молниеотводы выполня­ются в виде вертикально установленных стержней (мачт), соединенных с заземлителем, а тросовые — в виде горизонтально подвешенных проводов. По опорам, к кото­рым крепится трос, прокладываются токоотводы, соединяющие трос с заземлителем.

Защитное действие молниеотвода харак­теризуется его зоной защиты, т.е. про­странством вблизи молниеотвода, вероят­ность попадания молнии в которое не пре­вышает определенного достаточно малого значения, а также значением сопротивления заземления и конструкцией заземлителя.

Стандартной зоной защиты одиночного стержневого молниеотвода высотой h явля­ется круговой конус высотой , вер­шина которого совпадает с вертикальной осью молниеотвода (рис. 9.20). Габариты зоны определяются двумя параметрами:

 

 

Рис. 9.20. Зона защиты одиночного стержневого молниеотвода

 

высотой конуса и радиусом конуса на уровне земли .

Формулы для расчета зон защиты оди­ночного стержневого молниеотвода высотой до 150 м приведены в табл. 9.4 Для зоны защиты требуемой надежности (рис. 9.20) радиус горизонтального сечения , на высоте определяется по формуле

 

(9.3)

 

Стандартные зоны защиты одиночного тросового молниеотвода высотой h ограни­чены симметричными двускатными поверх­ностями, образующими в вертикальном сечении равнобедренный треугольник с вершиной на высоте и основанием на уровне земли (рис. 9.21).

Формулы для расчета зон защиты одиночного тросового молниеотвода высотой до 150 м приведены в табл. 9.5. Здесь и далее под h понимается минимальная высота троса над уровнем земли (с учетом провеса).

Полуширина зоны зашиты требуемой надежности (рис. 9.21) на высоте от поверхности земли определяется выраже­нием (9.3):

 

 

Таблица 9.4. Расчет зоны защиты одиночного стержневого молниеотвода

Надежность защиты Высота молниеотвода h, м Высота конуса , м Радиус конуса , м
0,9 0-100 100-150 0,85 h 0,85 h 1,2 h [1,2-10-3(h -100)] h
0,99 0-30 30-100 100-150 0,8 h 0,8 h [0,8-10-3(h -100)] h 0,8 h [0,8-1,43∙10-3(h -30)] h 0,7 h
0,999 0-30 30-100 100-150 0,7 h [0,7-7,14∙10-3(h -30)] h [0,65-10-3(h -100)] h 0,6 h [0,6-1,43∙10-3(h -30)] h [0,5-2∙10-3(h -100)] h

 

 

Рис. 9. 1. Зона защиты одиночного тросового молниеотвода:

L — расстояние между точками подвеса тросов

 

При необходимости расширить защища­емый объем к горцам зоны защиты собст­венно тросового молниеотвода могут добав­ляться зоны зашиты несущих опор, которые рассчитываются по формулам одиночных стержневых молниеотводов, представлен­ным в табл. 9.4. В случае больших провесов тросов, например, у ВЛ, рекомендуется рассчитывать обеспечиваемую вероятность прорыва молнии программными методами, поскольку построение зон защиты по мини-

 

Таблица 9.5. Параметры зоны защиты одиночного тросового молниеотвода

Надежность защиты Высота молниеотвода h, м Высота конуса , м Радиус конуса , м
0,9 0-150 0,87 h 1,5 h
0,99 0-30 30-100 100-150 0,8 h 0,8 h 0,8 h 0,95 h [0,95-7,14∙10-4(h -30)] h [0,9-10-3(h -100)] h
0,999 0-30 30-100 100-150 0,75 h [0,75-4,28∙10-4(h -30)] h [0,72-10-3(h -100)] h 0,7 h [0,7-1,43∙10-3(h -30)] h [0,6-10-3(h -100)] h

 

мальной высоте троса в пролете может при­вести к неоправданным запасам.

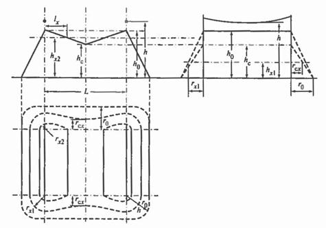
Молниеотвод считается двойным стерж­невым, когда расстояние между стержне­выми молниеприемниками L не превышает предельного значения Lmax. В противном случае оба молниеотвода рассматриваются как одиночные.

Конфигурация вертикальных и горизон­тальных сечений стандартных зон зашиты двойного стержневого молниеотвода (высо­той h и расстоянием L между молниеотво­дами) представлена на рис. 9.22.

 

 

Рис. 9.22. Зона защиты двойного стержневого молниеотвода

 

Построе­ние внешних областей зон двойного мол­ниеотвода (полуконусов с габаритами , ) производится по формулам табл. 9.4 для одиночных стержневых молниеотводов.

Размеры внутренних областей опреде­ляются параметрами и первый из которых задает максимальную высоту зоны непосредственно у молниеотводов, а вто­рой — минимальную высоту зоны по сере­дине между молниеотводами. При расстоя­нии между молниеотводами граница зоны не имеет провеса (). Для расстояний высота определяется по выражению

 

 

Входящие в него предельные расстояния и вычисляются по эмпирическим формулам табл. 9.6, пригодным для молниеотводов высотой до 150 м.

Размеры горизонтальных сечении зоны вычисляются по следующим формулам, общим для всех уровней надежности защиты:

максимальная полуширина зоны в горизонтальном сечении на высоте hx:

 

 

длина горизонтального сечения на, высоте :

 

причем при , ;

ширина горизонтального сечения в центре между молниеотводами на высоте :

 

 

Таблица 9.6. Параметры зоны защиты двойного стержневого молниеотвода

Надежность защиты Высота молниеотвода h, м Высота конуса , м Радиус конуса , м
0,9 0-30 30-100 100-150 5,75 h [5,75-3,57∙10-3(h -30)] h 5,5 h 2,5 h 2,5 h 2,5 h
0,99 0-30 30-100 100-150 4,75 h [4,75-3,57∙10-3(h -30)] h 4,5 h 2,25 h [2,25-0,0107(h -30)] h 1,5 h
0,999 0-30 30-100 100-150 4,25 h [4,25-3,57∙10-3(h -30)] h 4,0 h 2,25 h [2,25-0,0107∙10-3(h -30)] h 1,5 h

 

Молниеотвод считается двойным тросовым, когда расстояние между тросами L не превышает предельного значения . В противном случае оба молниеотвода рассматриваются как одиночные.

Конфигурация вертикальных и горизонтальных сечений стандартных зон защиты двойного тросового молниеотвода (высотой h и расстоянием между тросами L) представлена на рис. 9.23. Построение внешних областей зон (двух односкатных поверхнос тей с размерами , ) производится по формулам, приведенным в табл. 9.5 для одиночных тросовых молниеотводов.

Размеры внутренних областей определяются максимальной высотой зоны непосредственно у тросов и минимальной высотой зоны посередине между тросами . При расстоянии между тросами граница зоны не имеет провеса (). Для высота определяется по выражению

 

 

Входящие в него предельные расстояния и вычисляются по эмпирическим формулам приведенным в табл. 9.7, пригодным для тросов с высотой подвеса до 150 м.

 


Рис. 9.23. Зона защиты двойного тросового молниеотвода

Длина горизонтального сечения зоны зашиты на высоте hx определяется по фор­мулам

или

 

при

 

Для расширения защищаемого объема на зону двойного тросового молниеотвода может быть наложена зона защиты опор, несущих тросы, которая строится как зона двойного стержневого молниеотвода, если расстояние L между опорами меньше , вычисленного по формулам табл. 9.6. В про­тивном случае опоры рассматриваются как одиночные стержневые молниеотводы.

Когда тросы непараллельны или разно­высоки, либо их высота изменяется по длине пролета, для оценки надежности их защиты следует воспользоваться специаль­ным программным обеспечением. Так же рекомендуется поступать при больших про­весах тросов в пролете, чтобы избежать излишних запасов по надежности защиты.

 

Таблица 9.7. Параметры зоны защиты двойного тросового молниеотвода

Надежность защиты Высота молниеотвода h, м Высота конуса , м Радиус конуса , м
0,9 0-150 6,0 h 3,0 h
0,99 0-30 30-100 100-150 5,0 h 5,0 h [5,0-5∙10-3(h -100)] h 2,5 h [2,5-7,14∙10-3(h -30)] h [2,0-5∙10-3(h -100)] h
0,999 0-30 30-100 100-150 4,75 h [4,75-3,57∙10-3(h -30)] h [4,5-5∙10-3(h -100)] h 2,25 h [2,25-3,57∙10-3(h -30)] h [2,0-5∙10-3(h -100)] h

 

Воздушные линии электропередачи ежегодно подвергаются десяткам ударов молнии в каждые 100 км линии. Поражение молнией фазного провода, сопровождающееся прохождением большого тока, создает на проводе такое высокое импульсное напряжение, что практически невозможно создать изоляцию, которая могла бы его выдержать. Поэтому в большинстве случаев линии на металлических и железобетонных опорах номинальным напряжением 110 кВ и выше имеют один или два заземленных троса, подвешиваемых выше фазных проводов и воспринимающих на себя удар молнии.

Вероятность прорыва молнии через тросовую защиту, т.е. поражения фазного провода, можно оценить в соответствии с опытом эксплуатации по эмпирической формуле

 

 

где - высота опоры, м; - угол защиты, образованный вертикалью, проходящей через трос, и прямой, соединяющей трос с проводом.

Для ВЛ 110-750 кВ при положительных углах защиты троса (трос расположен ближе к оси опоры, чем провод) вероятность порыва молнии на провода рекомендуется определять по эмпирической формуле

 

,

 

где

 

;

 

; ,

 

где - номинальное напряжение линии, кВ; - разность высот подвеса проводов и тросов на опоре, м; - смещение троса и провода по горизонтали, м; - высота подвеса троса на опоре, м; - радиус провода (для расщепленной фазы – эквивалентный радиус ), м; - средняя высота подвеса провода, м.

 

9 РЕКОМЕНДАЦИ МЕЖДУНАРОДНОЙ ЭЛЕКТРОТЕХНИЧЕСКОЙ КОМИССИИ (МЭК) ПО МОЛНИЕЗАЩИТЕ ЗДАНИЙ И СООРУЖЕНИЙ

 

В документах МЭК, в том числе и в [21],рекомендуется определять зоны защиты либо методом катящейся сферы радиусом , либо методом защитного угла . Для плоских крыш рекомендуются сеточные молниеприемники с регламентированными размерами ячеек сетки.

Метод катящейся сферы состоит в том, вокруг защищаемого объекта перемещается расчетная сфера. Пространство между точками касания с объектами, сферой и поверхностью земли является защитной зоной. Наивысшие точки касания дают точки возможных ударов в объект, где, если требуется, могут устанавливаться молниеприемники.

Метод катящейся сферы приведен и в отечественном нормативном документе [18]. Он называется методом фиктивной сферы. Там же приведен и метод защитного угла. Любые приведенные методы определения защитных зон допускаются при проектировании отечественных объектов. Однако при проектировании объектов по контрактам с другими странами целесообразно использовать рекомендации МЭК [21].

Проанализируем рекомендации МЭК [21] подробнее.

Радиус сферы зависит от уровня защиты и высоты защищаемого объекта (рис. 9.24, табл. 9.8.).

Метод защитного угла не используется при высотах молниеотвода, выходящих за кривые, приведенные на рис. 9.24.

 

 

Рис. 9.24. Зависимости защитных углов от высоты молниеотвода при разных уровнях молниезащиты

Таблица 9.8. Радиус расчетной сферы и размеры молниезащитной сетки при разных уровнях защиты

Уровень защиты Радиус сфера , м Размеры ячеек молниезащитной сетки, м×м
I   5×5
II   10×10
III   15×15
IV   20×20

 

Если высота сооружения превышает ука­занные, то при определении защитных зон используется метод катящейся сферы.

При высоте молниеотвода менее 2 м защитный угол не зависит от высоты мол­ниеотвода.

На рис. 9.25—9.29 демонстрируется метод катящейся сферы. Перемещение сферы по объекту простейшей формы (рис. 9.25) определяет защитные зоны, создаваемые самим объектом, и возможные точки удара молнии в верхнюю часть объекта. Защит­ными зонами являются пространства между катящейся сферой и защищаемым объек­том. Перемещение сферы по поверхности земли вокруг объекта позволяет найти площадь, ограниченную штрихпунктирной линией на рис. 9.26, которую можно исполь­зовать при расчетах числа ударов молнии в объект за грозовой сезон, используя плот­ность ударов молнии (число ударов в единицу площади).

 

 

Рис. 9.25. Точки касания сферы и защищаемого объекта, в которые может ударить молния (вид сбоку)

 

 

Рис. 9.26. Точки касания сферы и объекта (вид сверху)

 

Как отмечалось ранее, эта плот­ность зависит от географического места, интенсивности грозовой деятельности и т.д.

Метод катящейся сферы для определе­ния защитных зон в комплексе зданий продемонстрирован на рис. 9.27. Защитной зоной является пространство между катя­щейся сферой и защищаемым объектом.

 

Рис. 9.27. Защитные зоны комплекса зданий, определяемые методом катящейся сферы:

1 - области, требующие защиты; 2 — мачта на здании; — радиус сферы

 

 

Рис. 9.28. Защитные зоны, полученные методом катящейся сферы

 

На рис 9.28 приведен пример определения защитных зон и мест возможных ударов молнии (жирные линии).

Если поверхность, на которой размещен молниеотвод, наклонная (рис. 9.29), то ось защитной зоны перпендикулярна поверх­ности, Вершина конуса защитной зоны совпадает с вершиной молниеотвода.

Защитная зона между двумя стержне­выми или тросовыми молниеотводами определяется методом катящейся сферы согласно рис. 9.30 и 9.31.

Метод катящихся сфер, ранее называв­шийся электрогеометрическим, в 30-е годы прошлого столетия предусматривал аналити­ческую зависимость радиуса сферы R от мак­симального тока молнии Однако в настоя­щее время радиус сферы выбирается в зави­симости от уровня защиты по табл. 9.8.

Молниеотводы, отдельно стоящие (рис. 9.32) и установленные на крыше (рис. 9.33) характеризуются защитным углом. Удовлетворительная молниезащита достигается комбинацией вертикаль­ных и горизонтальных молниеотводов (рис. 9.34), стержневых и сетчатых мол­ниеотводов (рис. 9.33).

На рис. 9.33 и 9.36 показан пример уста­новки стержневых молниеотводов на крыше. Защитный угол (рис. 9.36) определяется высотой молниеприемника над защищае­мой поверхностью (базовая поверхность — крыша); защитный угол определяется суммой высот молниеприемника относи­тельно крыши и высоты здания (базовая поверхность — земля).

 

 

Рис. 9.29. Зона защиты стержневого молниеотвода, установленного на наклонной поверхности, определен­ная метолом катящейся сферы:

а — метод катящейся сферы, б — границы зоны зашиты. 1 — тона зашиты; 2 — базовая плоскость; 3 — стержневой молниеотвод; h — расчетная высота стержневого молниеотвода; - физическая высота стержне­вого молниеотвода; — защитный угол; В, С — точки соприкосновения катящейся сферы с молниеотводом и базовой плоскостью; С — границы защищаемой области

 

 

Рис. 9.30. Защита от прямых ударов молнии объектов, расположенных на крыше, с помощью вертикальны молниеприемников:

1 — катящаяся сфера радиуса R для определения защитных зон; 2 — стержневые молниеприемники; 3 - электротехническое оборудование; 4 — спуски, 5 — металлический резервуар; s — расстояние между элект­рооборудованием и молниеприемником или спуском

 

 

Рис. 9.31. Защитная зона двух горизонтальных молниеотводов, определенная метолом катящейся сферы ():

1 — горизонтальные провода, 2 — базовая плоскость; 3 — зона защиты; — физическая высота молние­отводов над базовой плоскостью; р — провисание сферы; R — радиус сферы: d — расстояние между молние­отводами

 

 

Рис. 9.32. Система молниезащиты с двумя отдельно стоящими молниеотводами и зона защиты, определен­ная с помощью метола защитного угла:

а — вертикальная проекция; б — горизонтальная проекция; 1 — мачта молниеотвода; 2 — защищаемый объект, 3 — земля (базовая поверхность); 4 - пересечение защитных зон; s — наименьшее расстояние между молниеотводом и защищаемым объектом; - защитный угол

 

Молниеприемники, горизонтально уста­новленные над проводящей крышей, пока­заны на рис. 9.37. В этом случае катящаяся сфера радиусом R должна быть выше выс­тупов на крыше (превышение обозначено буквой а).

Молниеотвод в виде горизонтального проводника установленного вышеконька крыши, показан на рис. 9.38. Защищаемый объект должен полностью находиться в защитной зоне, определяемой защитным углом.

Примеры молниеприемников в виде сеток, устанавливаемых на крышах, приве­дены на рис. 9.39 и 9.40. Размер ячейки М выбирается по табл. 9.8 в зависимости от

 


Рис. 9.33. Пример выполнения системы молниезащиты стержневыми молниеотводами, установленными на защищаемом объекте:

1 – стержневые молниеотводы; 2 – защищаемый объект; 3 – базовая плоскость; - защитный угол

 

 

 

 

 

 

Рис. 9.34. Внешняя система молниезащиты с использованием двух стержневых молниеотводов и с нелиняю­щего их тросового молниеотвода:

а, б — вертикальные проекции; в — горизонтальная проекция на базовую плоскость; 1 — стержневые мол­ниеотводы; 2 — защищаемый объект; 3 — зона защиты на базовой поверхности; 4 - тросовый молниеотвод; - наименьшие расстояния между молниеотводом и защищаемым объектом; — защитный угол возле стержневого молниеотвода; - защитный угол в середине между стержневыми молниеотводами

 

 

Рис. 9.35. Система молниезащиты здании с установ­ленными на крыше стержневым и сетчатым молниеприемниками:

1 — протяженный молниеприемник; 2 - стержневой молниеприемник, 3 - размеры сетки; 4 - спуск; 5 - заземлитель; h — высота стержневого молниеприемника; — защитный угол

 

 

 

Рис. 9.36. К определению защитных углов для объектов с расположенными на крыше молниеприемниками

 

 

Рис. 9.37. Система молниеприемников на крыше с проводящим покрытием, в котором не допускается появ­лении отверстий:

R — радиус катящейся сферы; а — расстояние от сферы до выступа; b - молниеприемниками

 

 

Рис. 9.38. Пример выполнения системы молниезащиты с помощью тросового молниеотвода, установленного на защищаемом объекте

Рис. 9.39. Молниезащитная Рис. 9.40. Защита здания

<== предыдущая лекция | следующая лекция ==>
Виды молний и параметры тока | Сетка на плоской крыше с двухскатной крышей
Поделиться с друзьями:


Дата добавления: 2014-01-06; Просмотров: 1943; Нарушение авторских прав?; Мы поможем в написании вашей работы!


Нам важно ваше мнение! Был ли полезен опубликованный материал? Да | Нет



studopedia.su - Студопедия (2013 - 2026) год. Все материалы представленные на сайте исключительно с целью ознакомления читателями и не преследуют коммерческих целей или нарушение авторских прав! Последнее добавление




Генерация страницы за: 0.014 сек.