Студопедия

КАТЕГОРИИ:


Архитектура-(3434)Астрономия-(809)Биология-(7483)Биотехнологии-(1457)Военное дело-(14632)Высокие технологии-(1363)География-(913)Геология-(1438)Государство-(451)Демография-(1065)Дом-(47672)Журналистика и СМИ-(912)Изобретательство-(14524)Иностранные языки-(4268)Информатика-(17799)Искусство-(1338)История-(13644)Компьютеры-(11121)Косметика-(55)Кулинария-(373)Культура-(8427)Лингвистика-(374)Литература-(1642)Маркетинг-(23702)Математика-(16968)Машиностроение-(1700)Медицина-(12668)Менеджмент-(24684)Механика-(15423)Науковедение-(506)Образование-(11852)Охрана труда-(3308)Педагогика-(5571)Полиграфия-(1312)Политика-(7869)Право-(5454)Приборостроение-(1369)Программирование-(2801)Производство-(97182)Промышленность-(8706)Психология-(18388)Религия-(3217)Связь-(10668)Сельское хозяйство-(299)Социология-(6455)Спорт-(42831)Строительство-(4793)Торговля-(5050)Транспорт-(2929)Туризм-(1568)Физика-(3942)Философия-(17015)Финансы-(26596)Химия-(22929)Экология-(12095)Экономика-(9961)Электроника-(8441)Электротехника-(4623)Энергетика-(12629)Юриспруденция-(1492)Ядерная техника-(1748)

Яркостные пирометры

Измерение температуры бесконтактным методом

Пьезоэлектрические термопреобразователи

К этой группе можно отнести кварцевые датчики, измеряющие изменение резонансной частоты кварцевого кристалла, зависящей от изменения температуры. Кварцевый измерительный преобразователь работает в рабочем диапазоне от —80 °С до +250 °С, имеет линейную характеристику от -50 °С до +250 °С с точностью 0,04 °С и выдает сигналы, удобные для регистрирующих устройств или последующей цифровой обработки.

Бесконтактный способ измерения температуры основан на восприятии тепловой энергии, передаваемой лучеиспусканием и воспринимаемой на расстоянии от исследуемого объекта. Верхний предел измерения температуры таким способом теоретически неограничен. Часто традиционный контактный способ измерения температуры невозможно применить в силу ряда причин: недоступные для прямого контакта поверхности (промышленное оборудование, высокая температура в производстве кирпича, керамики, стекла и т. д., агрессивные вещества); материалы, плохо проводящие теплоту; небольшие размеры объектов (при измерении контактным методом энергия между датчиком и объектом измерения перераспределяется, в результате чего температура объекта может существенно измениться).

Известно, что любая поверхность, температура которой выше абсолютного нуля, испускает тепловую энергию в виде электромагнитного излучения. При поглощении электромагнитного излучения от излучающего тела другими телами электромагнитное излучение вновь превращается в тепловую энергию. Излучение нагретых тел называют тепловым. Температуру тела можно измерить на расстоянии по тепловому излучению, при этом температурное поле объекта измерения не искажается. Следовательно, бесконтактный метод измерений температуры основан на том, что чувствительный элемент средства измерений не приводится в контакт с объектом измерения.

Измерение температуры тел по их тепловому излучению называют пирометрией. Средства измерений температуры тел по тепловому излучению называют пирометрами излучения или просто пирометрами.

Бесконтактные методы измерения температуры теоретически не имеют верхнего температурного предела своего применения. Так, температура источника со сплошным спектром излучения, близкая к 6000 "С, измеряется теми же методами, что и температура, например, и в 1000 °С, и в 2000 "С.

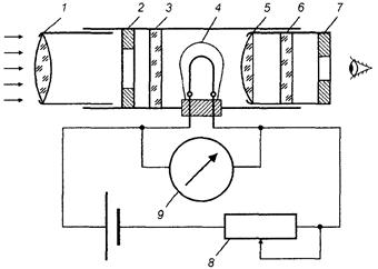
Наиболее известными из них являются пирометры с «исчезающей» нитью накаливания (рис. 76), применяемые для измерения яркостной температуры в видимой области спектра. Принцип действия: сравнение яркости измеряемого излучения и контрольного излучателя, например, накаленной нити вольфрама.

Сравнить обе яркости можно, например, изменением яркости контрольного излучателя, изменяя мощность нагревания нити в широких пределах. Благоприятная для чувствительности глаза длина волны (0,65 мкм) в области видимой части спектра обеспечивается красным светофильтром. Если в результате уравнивания достигается равенство обеих яркостей, то верхняя часть нити накаливания исчезнет (перестанет быть видимой) на фоне изображения источника измеряемого излучения. Мощность нагревания нити накаливания на пути потока излучения является показателем яркостной температуры измеряемого объекта. Ее считывают по температурной шкале измерительного прибора.

Диапазон измерений температуры для пирометров с «исчезающей» нитью накаливания: 400...5000(в особых случаях до 10 000 °С). Погрешность промышленных пирометров составляет ±1 % от верхнего предела диапазона измерений.

Рис. 76. Яркостями пирометр с «исчезающей» нитью накаливания:

/ — объектив; 2, 7— диафрагмы; 3, 6— фильтры; 4— пирометрическая лампа; 5 — окуляр; 8 — реостат; 9 — измерительный прибор

 

<== предыдущая лекция | следующая лекция ==>
Термоэлектрические преобразователи | Пирометры спектрального отношения
Поделиться с друзьями:


Дата добавления: 2014-01-06; Просмотров: 331; Нарушение авторских прав?; Мы поможем в написании вашей работы!


Нам важно ваше мнение! Был ли полезен опубликованный материал? Да | Нет



studopedia.su - Студопедия (2013 - 2026) год. Все материалы представленные на сайте исключительно с целью ознакомления читателями и не преследуют коммерческих целей или нарушение авторских прав! Последнее добавление




Генерация страницы за: 0.012 сек.