Студопедия

КАТЕГОРИИ:


Архитектура-(3434)Астрономия-(809)Биология-(7483)Биотехнологии-(1457)Военное дело-(14632)Высокие технологии-(1363)География-(913)Геология-(1438)Государство-(451)Демография-(1065)Дом-(47672)Журналистика и СМИ-(912)Изобретательство-(14524)Иностранные языки-(4268)Информатика-(17799)Искусство-(1338)История-(13644)Компьютеры-(11121)Косметика-(55)Кулинария-(373)Культура-(8427)Лингвистика-(374)Литература-(1642)Маркетинг-(23702)Математика-(16968)Машиностроение-(1700)Медицина-(12668)Менеджмент-(24684)Механика-(15423)Науковедение-(506)Образование-(11852)Охрана труда-(3308)Педагогика-(5571)Полиграфия-(1312)Политика-(7869)Право-(5454)Приборостроение-(1369)Программирование-(2801)Производство-(97182)Промышленность-(8706)Психология-(18388)Религия-(3217)Связь-(10668)Сельское хозяйство-(299)Социология-(6455)Спорт-(42831)Строительство-(4793)Торговля-(5050)Транспорт-(2929)Туризм-(1568)Физика-(3942)Философия-(17015)Финансы-(26596)Химия-(22929)Экология-(12095)Экономика-(9961)Электроника-(8441)Электротехника-(4623)Энергетика-(12629)Юриспруденция-(1492)Ядерная техника-(1748)

Денсиметрические анализаторы




Замечание

В настоящее время большое внимание уделяется разработке химических сенсоров на основе ионоселективных полевых транзисторов.

Автоматический потенциометрический контроль технологических водных низкоконцентрированных растворов и суспензий используется для управления процессами нейтрализации и для автоматического поддержания заданного интервала значений рН и рХ (X — ион) в технологических средах.

Для непрерывного автоматического контроля плотности практически любых жидких растворов, суспензий применяются пьезо-компенсационные плотномеры; для контроля плотности низковязких технологических растворов — пневматические поплавковые плотномеры. Для бесконтактного контроля технологических растворов, суспензий, эмульсий, протекающих по технологическим трубопроводам, используются бесконтактные радиоизотопные-плотномеры.

 

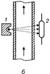
Рис. 112. Расположение источника (1) и приемника (2) -излучения плотномера относительно трубопровода диаметром d < 0,2 м (а), d = 0,2...0,3 м (б) и d > 0,3 м (в)

Принцип действия радиоизотопного плотномера основан на измерении ослабления интенсивности-излучения, проходящего через слой вещества толщиной, которое описывается основным оптическим законом:

где — интенсивность-излучения на входе в слой вещества толщинойи на его выходе соответственно;— коэффициент поглощения.

Радиоизотопные-плотномеры измеряют плотность технологических жидких сред в интервале 500...3500 кг/м3. Плотномер устанавливают вблизи технологического аппарата или трубопровода, обычно диаметром 0,1...0,3 м и более (рис. 5.112).

Погрешности денсиметрического контроля связаны с появлением в контролируемой среде дисперсной фазы (твердой, жидкой, газообразной), способной не только поглощать, но и рассеивать поток-излучения, а также колебаниями температуры контролируемой среды.




Поделиться с друзьями:


Дата добавления: 2014-01-06; Просмотров: 997; Нарушение авторских прав?; Мы поможем в написании вашей работы!


Нам важно ваше мнение! Был ли полезен опубликованный материал? Да | Нет



studopedia.su - Студопедия (2013 - 2026) год. Все материалы представленные на сайте исключительно с целью ознакомления читателями и не преследуют коммерческих целей или нарушение авторских прав! Последнее добавление




Генерация страницы за: 0.012 сек.